GM Service Manual Online
For 1990-2009 cars only
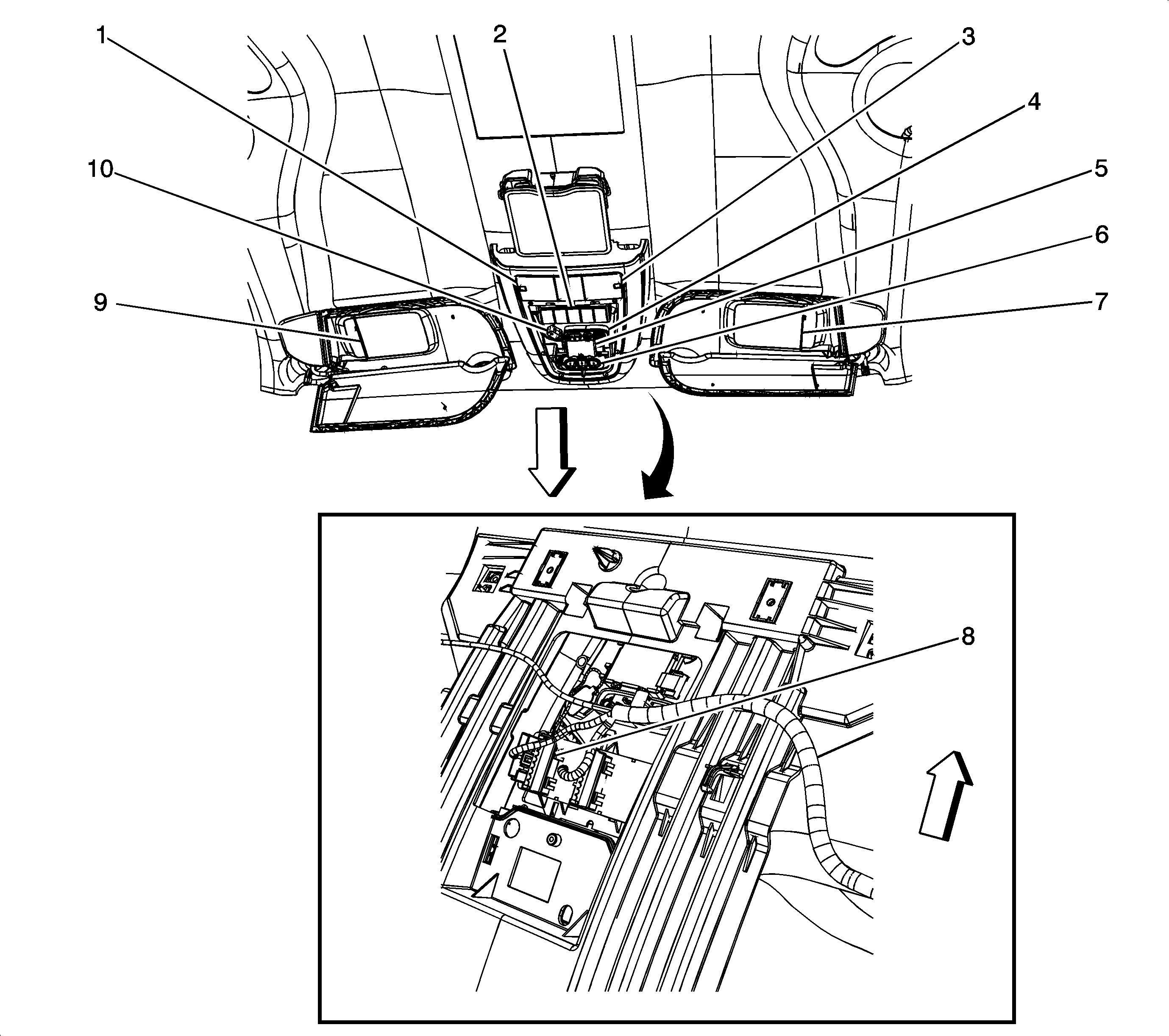
Figure 1:

Front Headliner Components


Object Number: 1536136  Size: LF
(1)Courtesy/Reading Lamp - Front
(2)Multifunction Switch - Overhead Console
(3)Courtesy/Reading Lamp - Front
(4)OnStar Button Assembly (UE1)
(5)Garage Door Opener (UG1)
(6)Garage Door Opener Buttons (UG1)
(7)Vanity Mirror Lamp - Right (DH6)
(8)Multifunction Switch Overhead Console
(9)Vanity Mirror Lamp - Left (DH6)
(10)Cellular Microphone (UE1)
Figure 2:

Left Rear Cargo - Body Harness


Object Number: 1536069  Size: LF
(1)Blower Motor - Auxiliary (C69)
(2)Blower Motor Control Module - Auxiliary (C69)
(3)Speaker - Rear Tweeter - Left
(4)Mode Actuator - Auxiliary (C69)
(5)Sliding Door Jamb Switch - Left (E59)
(6)Air Temperature Actuator - Auxiliary (C69)
(7)Auxiliary Power Outlet - Rear
(8)G401
(9)Rear Quarter Window Actuator - Left (A20)
Figure 3:

Right Rear Cargo Components - Body Harness


Object Number: 1536111  Size: LF
(1)Speaker - Rear Tweeter - Right
(2)Accessory AC/DC Power Control Module (KC7)
(3)C420 Rear Parking Assist Display Jumper Harness to Body Harness (UD7)
(4)Rear Quarter Window Actuator - Right (A20)
(5)C402 and C400 Liftgate Harness to Body Harness
(6)Rear Parking Assist (RPA) Display (UD7)
(7)G400
(8)Auxiliary Power Outlet - 115VAC (KC7)
(9)Sliding Door Jamb Switch - Right
(10)Rear Object Sensor Control Module (UD7)
(11)Rear Parking Assist (RPA) Diagnostic Connector (UD7)