GM Service Manual Online
For 1990-2009 cars only

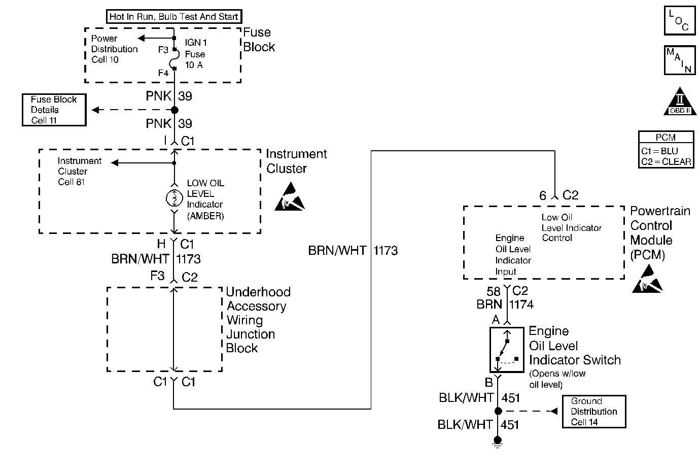
Object Number: 259310  Size: MF
Engine Controls Components
Vehicle Speed Sensor
OBD II Symbol Description Notice
Handling ESD Sensitive Parts Notice
Handling ESD Sensitive Parts Notice

Circuit Description

The Engine Oil Level Switch is a simple float switch that is grounded when the engine oil level is OK. The PCM checks the Engine Oil Level switch circuit at start up. Before checking the state of the Engine Oil Level switch, the PCM performs a test routine based on time and engine coolant temperature to ensure that the engine oil has drained back into the sump. To test for low oil level at start-up, one of the following conditions must be present:

    •  If the engine coolant temperature was between 15°C (59°F) and 140°C (284°F) at the last key OFF, the engine coolant temperature at key ON must be at least 12°C (22°F) cooler than the engine coolant temperature at the last key OFF.
    •  If the engine coolant temperature was higher than 82°C (150°F) at the last key OFF the time between last key OFF and the present key ON must be sufficient to allow the oil to drain back to the sump. The PCM will remain powered up for 10 seconds to ensure that the oil has drained back to the sump. If the key is turned back ON while the PCM is still powered up, the oil level will not be tested.

The Low Oil Level Lamp will be illuminated for approximately 7 minutes when the PCM checks for low oil level and the Engine Oil Level switch indicates that a low oil level condition exists (Engine Oil Level switch circuit not grounded). When the ignition is first turned ON, the PCM commands the Low Oil Level lamp ON for a brief period of time to test the bulb.

Diagnostic Aids

For diagnosis of the instrument panel, perform the System Check in the Instrument Cluster section of Electrical Diagnosis.

Check for the following conditions:

    •  Poor connection at PCM or oil level sensor. Inspect harness connectors for backed out terminals, improper mating, broken locks, improperly formed or damaged terminals, and poor terminal to wire connection.
    •  Damaged harness. Inspect the wiring harness for damage. If the harness appears to be OK, disconnect the PCM and turn the ignition ON. Observe a voltmeter connected to the affected PCM output circuit while moving connectors and wiring harnesses related to the PCM output circuit. A change in voltage will indicate the location of the fault.
    •  Engine Oil Level Switch circuit: If the problem with the Low Oil Level lamp can not be isolated using the Engine Oil Level Switch Diagnostic table, use the PCM Controlled Lamps Diagnostic table.

Test Description

The number(s) below refer to the step number(s) on the Diagnostic Table:

  1. This vehicle is equipped with a PCM which utilizes an Electrically Erasable Programmable Read Only Memory (EEPROM). When the PCM is being replaced, the new PCM must be programmed. Refer to Powertrain Control Module Replacement/Programming .

  2. For the PCM to check engine oil level, start-up engine coolant temperature must be at least 12° C (22° F) cooler than the engine coolant temperature was last time the ignition was turned OFF. Allowing the engine to warm and then cool ensures that the PCM checks the engine oil level switch and that the information displayed on the scan tool is current.

Engine Oil Level Switch Diagnosis

Step

Action

Value(s)

Yes

No

1

Important: :  Ensure that engine oil level is not low (as indicated on the engine oil level indicator) before continuing diagnosis.

Was the Powertrain OBD System Check performed?

--

Go to Step 2

Go to Powertrain On Board Diagnostic (OBD) System Check

2

Observe Engine Oil Level displayed on the scan tool.

Does Engine Oil Level display OK?

--

Go to Diagnostic Aids

Go to Step 3

3

  1. Turn OFF the ignition switch.
  2. Disconnect the PCM.
  3. With a J 35616-200 test light to battery positive voltage, probe the engine oil level switch signal circuit at the PCM harness connector.

Is the test light ON?

--

Go to Step 7

Go to Step 4

4

  1. Reconnect the PCM.
  2. Turn ON the ignition switch.
  3. Raise the vehicle.
  4. Disconnect the engine oil level switch connector.
  5. Connect a J 39200 Digital Multimeter to measure voltage between the engine oil level switch harness connector terminals.

Is the voltage near the specified value?

B+

Go to Step 8

Go to Step 5

5

Connect the digital multimeter between the engine oil level switch signal circuit and chassis ground.

Is the voltage near the specified value?

B+

Go to Step 9

Go to Step 6

6

  1. Check the engine oil level switch signal circuit for an open.
  2. If a problem is found, repair as necessary. Refer to Wiring Repairs in Wiring Systems.

Was a problem found?

--

Go to Step 12

Go to Diagnostic Aids

7

  1. Check for poor terminal connections at the PCM.
  2. If a problem is found, repair as necessary. Refer to Wiring Repairs in Wiring Systems.

Was a problem found?

--

Go to Step 12

Go to Step 11

8

  1. Check for poor terminal connections at the engine oil level switch.
  2. If a problem is found, repair as necessary. Refer to Connector Repairs in Wiring Systems.

Was a problem found?

--

Go to Step 12

Go to Step 10

9

Locate and repair open in the engine oil level switch ground circuit. Refer to Wiring Repairs in Wiring Systems.

Is the action complete?

--

Go to Step 12

--

10

Replace the engine oil level switch. Refer to Engine Oil Level Indicator Switch Replacement .

Is the action complete?

--

Go to Step 12

--

11

Important: :  The replacement PCM must be programmed. Refer to Powertrain Control Module Replacement/Programming .

Replace the PCM.

Is the action complete?

--

Go to Step 12

--

12

  1. Start the engine and allow it to warm until engine coolant temperature is at least 70°C (158°F).
  2. Turn OFF the ignition switch and allow the engine to cool for at least 15 minutes.
  3. Turn ON the ignition switch.
  4. Observe Engine Oil Level displayed on the scan tool.

Does Engine Oil Level display OK?

--

System OK

Go to Step 3