GM Service Manual Online
For 1990-2009 cars only

Removal Procedure


    Object Number: 187238  Size: SH
  1. Remove the ELC fuse.
  2. Raise and support the vehicle. Refer to Lifting and Jacking the Vehicle in General Information.
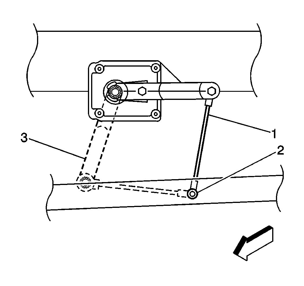
  3. Important: Do NOT bend or break the sensor arm when you remove the link.

  4. Remove the ALC sensor link (1) from the tie rod (2) ball stud. Remove the ALC sensor link from the sensor arm (3) ball stud.

Installation Procedure


    Object Number: 187241  Size: SH

    Notice: When you are servicing the automatic level control sensor link, ensure that the sensor link and the sensor arm are not damaged. Ensure the sensor arm and the sensor link are properly oriented. Improper orientation of the sensor arm and the sensor link may cause damage to the automatic level control system or the vehicle.

  1. Install the link to the tie rod and the sensor arm.
  2. Lower the vehicle.
  3. Install the ELC fuse.