GM Service Manual Online
For 1990-2009 cars only

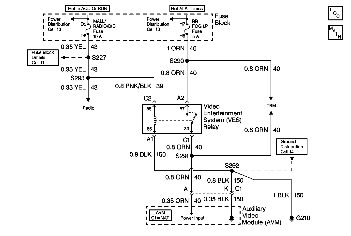
Video Entertainment System Malfunction first design


Object Number: 417135  Size: MF

Circuit Description

The Video Entertainment System (VES) contains a VES relay. The VES relay, when energized, provides voltage to the Auxiliary Video Module (AVM), the Interface Module (IM), and the Tape Retract Module (TRM). The VES relay receives voltage at all times from the RR FOG LP fuse located in the fuse block through circuit 40 and ground through circuit 150. When the ignition switch is on, the VES relay receives voltage through circuit 39, which in turn energizes the VES relay. When the VES relay is energized, its contacts close and supply voltage from the fuse block to VES components.

Diagnostic Aids

    • Check for the following conditions:
       - An open in circuit 39.
       - An open in circuit 40 between the fuse block and the VES relay.
       - An open in circuit 40 between the VES relay and the S291.
       - An open in circuit 150 or poor ground.
       - A faulty VES relay.
    • An intermittent failure may be very difficult to detect and to diagnose accurately. Faulty electrical connections or wiring causes most intermittent problems. When an intermittent condition is suspected, check the suspected circuits for the following conditions:
       - Poor mating of connector halves or backed out terminals.
       - Improperly formed or damaged terminals.
       - Wire chafing.
       - Poor wire to terminal connections.
       - Dirty or corroded terminals.
       - Damage to connector bodies.
       - Wire broken inside the insulation.

Test Description

The number(s) below refer to the step number(s) on the diagnostic table.

  1. Tests for a short to ground in CKT 40.

  2. Tests for a short to ground in CKT 39

  3. Tests for an open in CKT 40 between the VES relay and S291.

  4. Tests for an open in CKT 39 between the fuse block and the VES relay.

  5. Tests for an open in CKT 39 between the fuse block and the VES relay.

  6. Determines whether CKT 150 is open or the VES relay is faulty.

  7. Verify repairs made to the VES.

Step

Action

Value(s)

Yes

No

DEFINITION: The video display screen and the Video Cassette Player (VCP) of the Video Entertainment System (VES) does not turn on.

1

Test the RR FOG LP fuse.

Is the fuse open?

--

Go to Step 2

Go to Step 3

2

Repair the short to ground in CKT 40.

Is the repair complete?

--

Go to Step 14

--

3

Test the MALL/RADIO/DIC fuse.

Is the fuse open?

--

Go to Step 4

Go to Step 5

4

Repair the short to ground in CKT 39.

Is the repair complete?

--

Go to Step 14

--

5

  1. Turn the ignition switch on.
  2. Using a test light, backprobe between the VES relay harness connector terminal C1 and ground (do not disconnect the VES relay.)

Does the test light illuminate?

--

Go to Step 6

Go to Step 7

6

Repair the poor connection or the open in CKT 40 between the VES relay harness connector terminal C1 and S291.

Is the repair complete?

--

Go to Step 14

--

7

Using a test light, backprobe between the VES relay harness connector C2 and ground.

Does the test light illuminate?

--

Go to Step 9

Go to Step 8

8

Repair the poor connection or the open in CKT 39.

Is the repair complete?

--

Go to Step 14

--

9

Using a test light, backprobe between the VES relay harness connector terminal A2 and ground.

Does the test light illuminate?

--

Go to Step 11

Go to Step 10

10

Repair the poor connection or the open in CKT 40 between the fuse block and the VES relay harness connector terminal A2.

Is the repair complete?

--

Go to Step 14

--

11

Using a test light, backprobe between the VES relay harness connector terminals A1 and C2.

Does the test light illuminate?

--

Go to Step 12

Go to Step 13

12

  1. Test the VES relay for a poor connection and repair as necessary.
  2. If the connection is OK, then replace the VES relay. Refer to Video Entertainment System Relay Replacement .

Is the action complete?

--

Go to Step 14

--

13

Repair the poor connection or the open in CKT 150 between the VES relay harness connector C2 and ground.

Is the repair complete?

--

Go to Step 14

--

14

  1. Turn the ignition switch off.
  2. Reconnect the connectors or components that were previously removed.
  3. Ensure that the Video Entertainment System (VES) properly operates.

Does the VES operate normally?

--

System OK

Go to Video System System Check

Video Entertainment System Malfunction second design


Object Number: 566208  Size: MF
Entertainment Components
Video System Schematics
Ground Distribution Schematics
Entertainment Connector End Views
Power Distribution Schematics

Circuit Description

The Video Entertainment System (VES) contains the Auxiliary Video Module (AVM), the Interface Module (IM), and the Tape Retract Module (TRM). The TRM receives voltage at all times from the RR FOG LP fuse located in the fuse block. The TRM receives ignition voltage from the MALL/RADIO/DIC fuse when the ignition switch is on. When the key is on, the TRM in turn supplies battery voltage, the ignition signal, and the power ground signal to the AVM and battery voltage to the Video Cassette Player (VCP).

Diagnostic Aids

    • Check for the following conditions:
       - An open in the battery positive voltage circuit to the TRM.
       - An open in the ignition voltage circuit to the TRM.
       - An open in the ground circuit to the TRM.
    • An intermittent failure may be very difficult to detect and to diagnose accurately. Faulty electrical connections or wiring causes most intermittent problems. When an intermittent condition is suspected, check the suspected circuits for the following conditions:
       - Poor mating of connector halves or backed out terminals.
       - Improperly formed or damaged terminals.
       - Wire chafing.
       - Poor wire to terminal connections.
       - Dirty or corroded terminals.
       - Damage to connector bodies.
       - Wire broken inside the insulation.

Test Description

The number(s) below refer to the step number(s) on the diagnostic table.

  1. Tests for a short to ground in the battery feed circuit to the TRM.

  2. Tests for an open in the ignition voltage circuit to the TRM.

  3. Tests for an open in the battery feed circuit to the TRM.

  4. Tests for an open in the ground circuit to the TRM.

  5. Determines whether the connectors are loose, if not defaults to a faulty TRM.

Step

Action

Value(s)

Yes

No

DEFINITION: The video display screen and the Video Cassette Player (VCP) of the Video Entertainment System (VES) does not turn on.

1

Did you review the Video Entertainment System operation and perform the necessary inspections?

--

Go to Step 2

Go to Video System System Check

2

Ensure that the VES is inoperative.

Does the system operate normally?

--

Go to Intermittents and Poor Connections Diagnosis

Go to Step 3

3

Inspect the RR FOG lamp fuse.

Is the fuse open?

--

Go to Step 4

Go to Step 5

4

Repair the short to ground in the battery positive voltage circuit to the TRM.

Is the repair complete?

--

Go to Step 12

--

5

  1. Turn the ignition switch on.
  2. Using a test light , test for ignition voltage at the TRM.

Is ignition voltage present at the TRM?

--

Go to Step 7

Go to Step 6

6

Repair the poor connection or the open in the ignition voltage circuit to the TRM.

Is the repair complete?

--

Go to Step 12

--

7

Test for battery positive voltage at the TRM.

Is battery positive voltage present at the TRM?

--

Go to Step 9

Go to Step 8

8

Repair the poor connection or the open in the battery positive voltage circuit to the TRM.

Is the repair complete?

--

Go to Step 12

--

9

Test the ground circuit at the TRM.

Does the TRM have a good ground?

--

Go to Step 11

Go to Step 10

10

Repair the poor connection or the open in the ground circuit to the TRM.

Is the repair complete?

--

Go to Step 12

--

11

  1. Test the TRM for a poor connection and repair as necessary.
  2. If the connection is OK, then replace the TRM. Refer to Tape Retract Module Replacement .

Is the action complete?

--

Go to Step 12

--

12

  1. Turn the ignition switch off.
  2. Reconnect the connectors or components that were previously removed.
  3. Ensure that the Video Entertainment System (VES) operates properly .

Does the VES operate properly?

--

System OK

Go to Step  3