GM Service Manual Online
For 1990-2009 cars only

Video Cassette Player (VCP) Always On first design


Object Number: 417125  Size: MF
Entertainment Components
Video System Schematics
Ground Distribution Schematics

Circuit Description

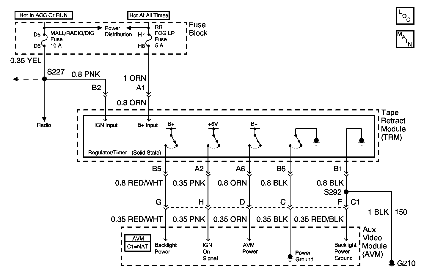
The Video Cassette Player (VCP) plays pre-recorded VHS cassettes. The VCP voltage supply is controlled by the Tape Retract Module (TRM). The TRM supplies the VCP with voltage from the fuse block through circuit 40 when the VES relay is energized. When the ignition switch is off, the system relay de-energizes. This action removes the voltage signal coming into the TRM. The TRM then removes voltage supply momentarily to the VCP, causing the VCP to turn off. Then, the TRM restores the voltage back to the VCP for 12 seconds, even with the ignition switch off. If the VCP was playing and the ignition switch was turned off, the TRM allows the VCP to retract the cassette tape from the playback head, thus preventing cassette damage. The VCP and TRM receive ground through circuit 150. Note that the cassette in indicator lamp in the VCP turns on during the 12 second period (when the VHS tape is loaded in the VCP).

Diagnostic Aids

    • Check for the following conditions:
       - Short to B+ in circuit 40 (voltage supply to the VCP).
       - A faulty TRM.
    • An intermittent failure may be very difficult to detect and to diagnose accurately. Faulty electrical connections or wiring causes most intermittent problems. When an intermittent condition is suspected, check the suspected circuits for the following conditions:
       - Improperly formed or damaged terminals.
       - Wire chafing.
       - Damage to connector bodies.

Test Description

The number(s) below refer to the step number(s) on the diagnostic table.

  1. Tests if the VES relay is operating correctly.

  2. Determines whether the TRM is faulty or CKT 40 is shorted to B+.

  3. Verifies repairs made to the VES.

Step

Action

Value(s)

Yes

No

DEFINITION: The Video Cassette Player (VCP) does not turn off when the ignition switch is off, even after the Tape Retract Module (TRM) time-out has expired. However, the VCP turns off when using the power button.

1

  1. Turn the ignition switch off.
  2. Pull down the video display screen.

Does the video display screen stay off?

--

Go to Step 3

Go to Step 2

2

Refer to Video Entertainment System Always On table for further diagnosis and repair of the VES.

Is the action complete?

--

Go to Step 6

--

3

  1. Disconnect the Tape Retract Module (TRM).
  2. Attempt to turn on the Video Cassette Player (VCP).

Does the VCP remain off?

--

Go to Step 4

Go to Step 5

4

Replace the TRM. Refer to Tape Retract Module Replacement .

Is the repair complete?

--

Go to Step 6

--

5

Repair the short to B+ in CKT 40 between the VCP and the TRM.

Is the repair complete?

--

Go to Step 6

--

6

  1. Turn the ignition switch off.
  2. Reconnect the connectors or components that were previously removed.
  3. Verify that the VES operates properly.

Does the VES operate normally?

--

System OK

Go to Video System System Check

Video Cassette Player (VCP) Always On second design


Object Number: 566208  Size: MF
Entertainment Components
Video System Schematics
Ground Distribution Schematics
Entertainment Connector End Views
Power Distribution Schematics

Circuit Description

The Video Cassette Player (VCP) plays pre-recorded VHS cassettes. The Tape Retract Module (TRM) supplies the VCP with voltage when the ignition is on and the LCD display screen is pulled down in the viewing position. When the ignition is turned off, the TRM and the VCP lose power at the same time. The TRM has a timer function that allows battery voltage to be restored to the VCP for 12 seconds to retract the cassette tape from the playback head, thus preventing cassette damage. Note that the "cassette in" indicator lamp in the VCP turns on during the 12 second period when the VHS tape is unloaded in the VCP.

Diagnostic Aids

    • Check for the following conditions:
       - Short to B+ on the IGN voltage input to the TRM.
       - A faulty TRM.
    • An intermittent failure may be very difficult to detect and to diagnose accurately. Faulty electrical connections or wiring causes most intermittent problems. When an intermittent condition is suspected, check the suspected circuits for the following conditions:
       - Improperly formed or damaged terminals.
       - Wire chafing.
       - Damage to connector bodies.

Test Description

The number(s) below refer to the step number(s) on the diagnostic table.

  1. Determines whether the LCD screen turns the backlight on when the ignition is not on.

  2. Verifies repairs made to the VES system.

Step

Action

Value(s)

Yes

No

DEFINITION: The Video Entertainment System (VES) components, the Video Cassette Player (VCP) and the Audio Video Module (AVM), do not turn off when the ignition switch is off. However, the VCP can be turned off by using the power button, and the AVM can be turned off by placing the video screen in the up (stored) position.

1

  1. Operate the video entertainment system and play a video cassette.
  2. Turn the ignition OFF.

Does the video entertainment system continue to play the video cassette?

--

Go to Step 2

Go to Video System Diagnostic Overview

2

  1. Ensure that the ignition is OFF.
  2. Backprobe the TRM connector and test for battery voltage on the Ignition voltage input circuit to the TRM.

Is voltage present at the test point?

--

Go to Step 3

Go to Step 4

3

Repair the short to B+ on the Ignition voltage input circuit to the TRM.?

Has the repair been made?

--

Go to Step 5

Go to Step 4

4

Replace the TRM. Refer to Tape Retract Module Replacement

Has the repair been made?

--

Go to Step 5

--

5

  1. Turn the ignition switch off.
  2. Reconnect the connectors or components that were previously removed.
  3. Verify that the VES operates properly.

Does the VES operate normally?

--

System OK

Go to Video System System Check