GM Service Manual Online
For 1990-2009 cars only

Rear Speaker Radio Audio Inoperative with Video Entertainment System (VES) and Rear Seat Audio (RSA) Off first design


Object Number: 417132  Size: MF
Handling ESD Sensitive Parts Notice
Entertainment Connector End Views
Ground Distribution Schematics
Entertainment Components
Radio/Audio System Schematics

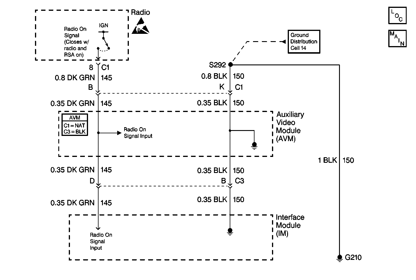
Circuit Description

The radio outputs its rear speaker audio channels directly to the Rear Seat Audio (RSA) control. When the RSA is turned on, the RSA routes these audio channels to the headphone jacks, thus muting the rear speakers. When the RSA is turned off, the RSA routes the radio audio channels to the Interface Module (IM). When the Video Entertainment System (VES) is off, the IM routes the radio audio channels to the rear speakers. If the VES is on, then the IM routes radio audio channels to the second and third seat audio controls, and mutes the rear speakers.

Diagnostic Aids

    • Check for the following conditions:
       - An open in circuit 145 between the radio and the Auxiliary Video Module (AVM).
       - An open in circuit 145 between the AVM and the IM.
       - A faulty RSA.
    • An intermittent failure may be very difficult to detect and to diagnose accurately. Faulty electrical connections or wiring causes most intermittent problems. When an intermittent condition is suspected, check the suspected circuits for the following conditions:
       - Poor mating of connector halves or backed out terminals.
       - Improperly formed or damaged terminals.
       - Wire chafing.
       - Poor wire to terminal connections.
       - Dirty or corroded terminals.
       - Damage to connector bodies.
       - Wire broken inside the insulation.

Test Description

The number(s) below refer to the step number(s) on the diagnostic table.

  1. Verifies repairs made to the VES.

Step

Action

Value(s)

Yes

No

1

  1. Turn the radio on.
  2. Play a VHS tape in the Video Cassette Player (VCP).
  3. Set the Auxiliary Video Module (AVM) to VCP mode.
  4. Adjust the volume at the AVM.

Do rear speakers play video audio when the radio is on?

--

Go to Step 2

Go to Step 3

2

Refer to Rear Speakers Do Not Mute When Radio is On table for further diagnosis and repair.

Is the action complete?

--

Go to Step 6

--

3

  1. Turn the ignition switch on.
  2. Turn on the radio.
  3. Turn on the Rear Seat Audio (RSA).
  4. Connect headphones to the RSA. Make sure to adjust volume.

Do the headphones play radio audio?

--

Go to Step 5

Go to Step 4

4

Refer to Radio Audio Inoperative at Rear Seat Audio (RSA) Control table for further diagnosis and repair.

Is the action complete?

--

Go to Step 6

--

5

Replace the RSA control. Refer to Rear Seat Audio Control Replacement .

Is the repair complete?

--

Go to Step 6

--

6

  1. Turn the ignition switch off.
  2. Reconnect connectors/components removed.
  3. Verify the Video Entertainment System (VES) for proper operation.

Does the VES operate normally?

--

System OK

Go to Video System System Check

Rear Speaker Radio Audio Inoperative with Video Entertainment System (VES) and Rear Seat Audio (RSA) Off second design


Object Number: 417132  Size: MF
Handling ESD Sensitive Parts Notice
Entertainment Connector End Views
Ground Distribution Schematics
Entertainment Components
Radio/Audio System Schematics

Circuit Description

The radio outputs its rear speaker audio channels directly to the Rear Seat Audio (RSA) control. When the RSA is turned on, the RSA routes these audio channels to the headphone jacks, thus muting the rear speakers. When the RSA is turned off, the RSA routes the radio audio channels to the Interface Module (IM). When the Video Entertainment System (VES) is off, the IM routes the radio audio channels to the rear speakers. If the VES is on, then the IM routes radio audio channels to the second and third seat audio controls, and mutes the rear speakers.

Diagnostic Aids

    • Check for the following conditions:
       - An open in the Radio ON circuit between the radio and the Auxiliary Video Module (AVM).
       - An open in the Radio ON circuit between the AVM and the IM.
       - A faulty RSA.
    • An intermittent failure may be very difficult to detect and to diagnose accurately. Faulty electrical connections or wiring causes most intermittent problems. When an intermittent condition is suspected, check the suspected circuits for the following conditions:
       - Poor mating of connector halves or backed out terminals.
       - Improperly formed or damaged terminals.
       - Wire chafing.
       - Poor wire to terminal connections.
       - Dirty or corroded terminals.
       - Damage to connector bodies.
       - Wire broken inside the insulation.

Test Description

The number(s) below refer to the step number(s) on the diagnostic table.

  1. Verifies repairs made to the VES.

Step

Action

Value(s)

Yes

No

1

  1. Turn the radio on.
  2. Play a VHS tape in the Video Cassette Player (VCP).
  3. Set the Auxiliary Video Module (AVM) to VCP mode.
  4. Adjust the volume at the AVM.

Do rear speakers play video audio when the radio is on?

--

Go to Step 2

Go to Step 3

2

Refer to Rear Speakers Do Not Mute When Radio is On table for further diagnosis and repair.

Is the action complete?

--

Go to Step 6

--

3

  1. Turn the ignition switch on.
  2. Turn on the radio.
  3. Turn on the Rear Seat Audio (RSA).
  4. Connect headphones to the RSA. Make sure to adjust volume.

Do the headphones play radio audio?

--

Go to Step 5

Go to Step 4

4

Refer to Radio Audio Inoperative at Rear Seat Audio (RSA) Control table for further diagnosis and repair.

Is the action complete?

--

Go to Step 6

--

5

Replace the RSA control. Refer to Rear Seat Audio Control Replacement .

Is the repair complete?

--

Go to Step 6

--

6

  1. Turn the ignition switch off.
  2. Reconnect connectors/components removed.
  3. Verify the Video Entertainment System (VES) for proper operation.

Does the VES operate normally?

--

System OK

Go to Video System System Check