GM Service Manual Online
For 1990-2009 cars only

Video Channel Inoperative - All Modes first design


Object Number: 417111  Size: MF
Video System Schematics
Entertainment Components
Entertainment Connector End Views
Entertainment Connector End Views

Circuit Description

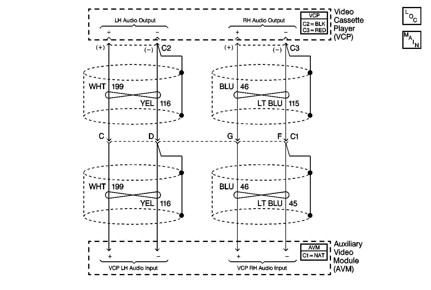
The Video Entertainment System (VES) sends stereo video audio channels to the Second and Third Seat Audio (SSA/TSA) controls, which is available through the headphone jacks. Note: The SSA/TSA control must be set to VCR in order to listen to the video audio channels. The VES also uses the rear speakers for video audio only when the radio and the Rear Seat Audio (RSA) control are off.

The Auxiliary Video Module (AVM) receives stereo audio channels from the Video Cassette Player (VCP) connectors C2 and C3. The AVM amplifies the audio signal from the VCP, and then provides two outputs: one at headphone level, and another one at speaker level.

Diagnostic Aids

    • Check for the following conditions:
       - A worn or defective VHS tape with a muted or defective audio channel.
       - Check for an open in circuit 116 and/or 199 (when the left audio channel is inoperative).
       - Check for an open in circuit 46 and/or 115 (when the right audio channel is inoperative).
       - Faulty AVM.
       - Faulty VCP.
    • An intermittent failure may be very difficult to detect and to diagnose accurately. Faulty electrical connections or wiring causes most intermittent problems. When an intermittent condition is suspected, check the suspected circuits for the following conditions:
       - Poor mating of connector halves or backed out terminals.
       - Improperly formed or damaged terminals.
       - Wire chafing.
       - Poor wire to terminal connections.
       - Dirty or corroded terminals.
       - Damage to connector bodies.
       - Wire broken inside the insulation.

Test Description

The number(s) below refer to the step number(s) on the diagnostic table.

  1. Checks for a faulty VHS tape.

  2. Checks for dirty VCP audio play head.

  3. Checks for backed out connectors (audio inputs) at the VCP.

  4. Determines if the Auxiliary Video Module is faulty.

  5. Determines whether the video audio channel input circuits are open or the VCP is faulty.

  6. Verifies repairs made to the VES.

Step

Action

Value(s)

Yes

No

1

Play a known good VHS tape.

Do audio channels work?

--

Go to Step 2

Go to Step 3

2

Make sure to use a VHS tape with good audio channels.

Is the action complete?

--

System OK

--

3

  1. Clean the tape heads in the Video Cassette Player (VCP). Refer to Video System Operation for more information.
  2. Play a known good VHS tape.

Do audio channels work?

--

System OK

Go to Step 4

4

Check the VCP connections (connectors C2 for left audio channel and C3 for right audio channel).

Are VCP connectors C2 and C3 fully seated?

--

Go to Step 6

Go to Step 5

5

Restore VCP connections and recheck for proper operation.

Is the action complete?

--

System OK

--

6

  1. Switch the video audio channels: connect VCP connector C2 into the right audio channel output of the VCP, and connector C3 into the left audio channel output of the VCP.
  2. Play a known good VHS tape.

Did the inoperative video audio channel switch side?

--

Go to Step 8

Go to Step 7

7

Replace the Auxiliary Video Module (AVM). Refer to Audio/Video Interface Module Replacement .

Is the repair complete?

--

Go to Step 9

--

8

  1. Disconnect both video audio channel outputs from the VCP (connectors C2 and C3).
  2. While the VCP is playing, connect the VCP connector C2 (right audio channel) into the left, then the right audio channel output of the VCP.
  3. While the VCP is playing, connect the VCP connector C3 (left audio channel) into the left, then the right audio channel output of the VCP.
  4. Observe the following:
  5. • If the VCP connector C2 (right audio channel input) did not play audio when connected to either left or right audio channel output of the VCP, then repair open or poor connection in CKT(s) 116 and/or 199 between the VCP and the AVM.
    • If the VCP connector C3 (left audio channel input) did not play audio when connected to either left or right audio channel output of the VCP, then repair open or poor connection in CKT(s) 46 and/or 115 between the VCP and the AVM.
    • If the left or right audio outputs of the VCP did not work when connected to either channel input, then replace the VCP. Refer to Video Cassette Player Replacement .

Is the repair complete?

--

Go to Step 9

--

9

  1. Turn the ignition switch off.
  2. Reconnect connectors/components removed.
  3. Verify the Video Entertainment System (VES) for proper operation.

Does the VES operate normally?

--

System OK

Go to Video System System Check

Video Channel Inoperative - All Modes second design


Object Number: 591635  Size: MF
Video System Schematics
Entertainment Components
Entertainment Connector End Views
Entertainment Connector End Views

Circuit Description

The Video Entertainment System (VES) sends stereo video audio channels to the Second and Third Seat Audio (SSA/TSA) controls, which is available through the headphone jacks. Note: The SSA/TSA control must be set to VCR in order to listen to the video audio channels. The VES also uses the rear speakers for video audio only when the radio and the Rear Seat Audio (RSA) control are off.

The Auxiliary Video Module (AVM) receives stereo audio channels from the Video Cassette Player (VCP) connectors C2 and C3. The AVM amplifies the audio signal from the VCP, and then provides two outputs: one at headphone level, and another one at speaker level.

Diagnostic Aids

    • Check for the following conditions:
       - A worn or defective VHS tape with a muted or defective audio channel.
       - Check for an open in the left audio channel circuit..
       - Check for an open in the right audio channel circuit.
       - Faulty AVM.
       - Faulty VCP.
    • An intermittent failure may be very difficult to detect and to diagnose accurately. Faulty electrical connections or wiring causes most intermittent problems. When an intermittent condition is suspected, check the suspected circuits for the following conditions:
       - Poor mating of connector halves or backed out terminals.
       - Improperly formed or damaged terminals.
       - Wire chafing.
       - Poor wire to terminal connections.
       - Dirty or corroded terminals.
       - Damage to connector bodies.
       - Wire broken inside the insulation.

Test Description

The number(s) below refer to the step number(s) on the diagnostic table.

  1. Checks for a faulty VHS tape.

  2. Checks for dirty VCP audio play head.

  3. Checks for backed out connectors (audio inputs) at the VCP.

  4. Determines if the Auxiliary Video Module is faulty.

  5. Determines whether the video audio channel input circuits are open or the VCP is faulty.

  6. Verifies repairs made to the VES.

Step

Action

Value(s)

Yes

No

1

Play a known good VHS tape.

Do audio channels work?

--

Go to Step 2

Go to Step 3

2

Make sure to use a VHS tape with good audio channels.

Is the action complete?

--

System OK

--

3

  1. Clean the tape heads in the Video Cassette Player (VCP). Refer to Video System Operation for more information.
  2. Play a known good VHS tape.

Do audio channels work?

--

System OK

Go to Step 4

4

Check the VCP connections (connectors C2 for left audio channel and C3 for right audio channel).

Are VCP connectors C2 and C3 fully seated?

--

Go to Step 6

Go to Step 5

5

Restore VCP connections and recheck for proper operation.

Is the action complete?

--

System OK

--

6

  1. Switch the video audio channels: connect VCP connector C2 into the right audio channel output of the VCP, and connector C3 into the left audio channel output of the VCP.
  2. Play a known good VHS tape.

Did the inoperative video audio channel switch side?

--

Go to Step 8

Go to Step 7

7

Replace the Auxiliary Video Module (AVM). Refer to Audio/Video Interface Module Replacement .

Is the repair complete?

--

Go to Step 9

--

8

  1. Disconnect both video audio channel outputs from the VCP (connectors C2 and C3).
  2. While the VCP is playing, connect the VCP connector C2 (right audio channel) into the left, then the right audio channel output of the VCP.
  3. While the VCP is playing, connect the VCP connector C3 (left audio channel) into the left, then the right audio channel output of the VCP.
  4. Observe the following:
  5. • If the VCP connector C2 (right audio channel input) did not play audio when connected to either left or right audio channel output of the VCP, then repair open or poor connection in the right side audio circuits between the VCP and the AVM.
    • If the VCP connector C3 (left audio channel input) did not play audio when connected to either left or right audio channel output of the VCP, then repair open or poor connectithe left side audio circuits between the VCP and the AVM.
    • If the left or right audio outputs of the VCP did not work when connected to either channel input, then replace the VCP. Refer to Video Cassette Player Replacement .

Is the repair complete?

--

Go to Step 9

--

9

  1. Turn the ignition switch off.
  2. Reconnect connectors/components removed.
  3. Verify the Video Entertainment System (VES) for proper operation.

Does the VES operate normally?

--

System OK

Go to Video System System Check