GM Service Manual Online
For 1990-2009 cars only

Video Screen is Blank but Backlighting is On first design


Object Number: 417109  Size: MF
Entertainment Connector End Views
Entertainment Components
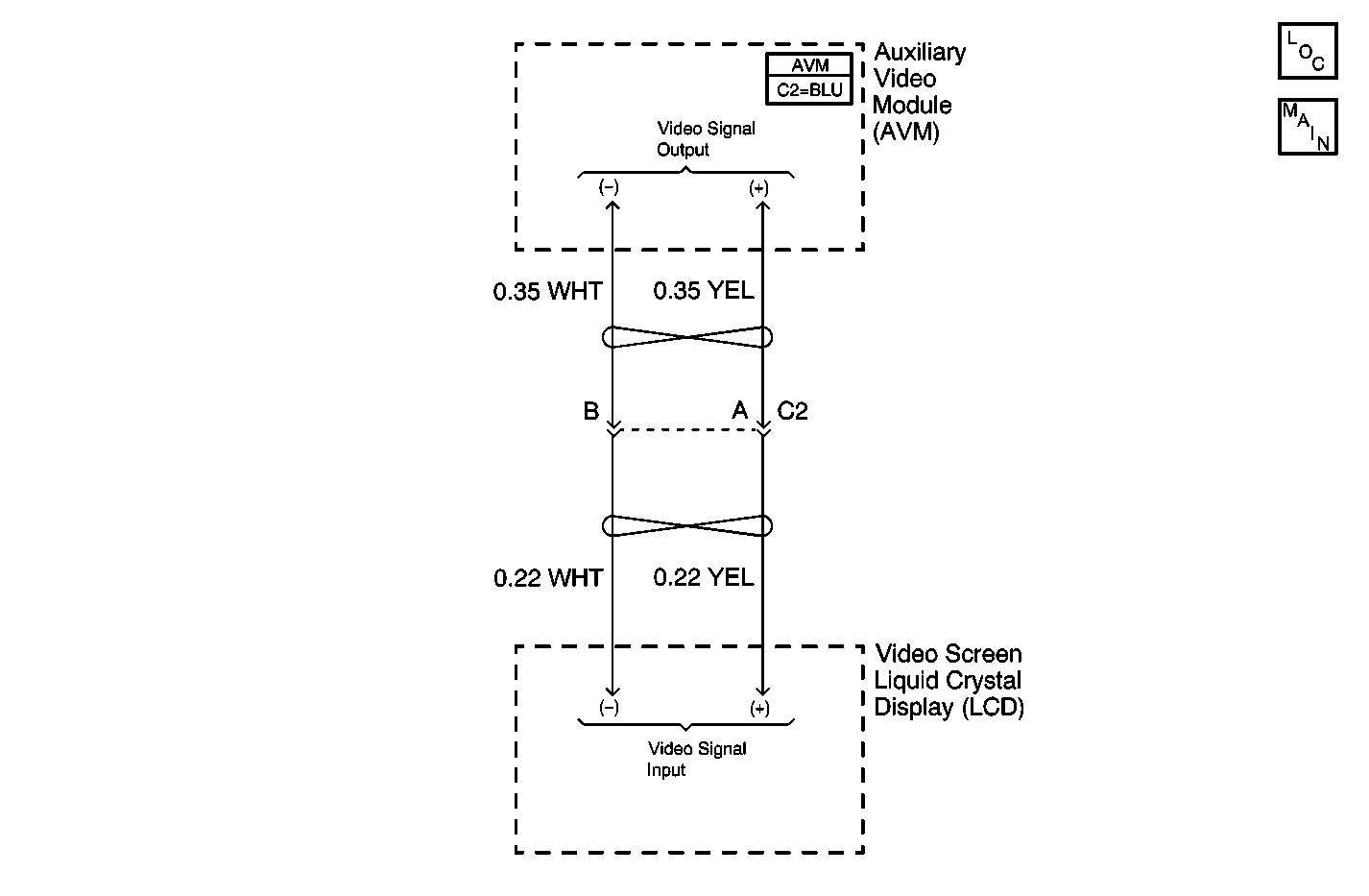
Video System Schematics

Circuit Description

The Video Cassette Player (VCP) plays pre-recorded VHS tapes. The Auxiliary Video Module (AVM) receives the video signal generated by the VCP. When the AVM switch is set to VCP, the AVM routes the VCP video signal to the video screen.

The AVM also allows the user to connect an auxiliary source of video and audio through RCA-style input jacks. When the AVM switch is set to AUX, the AVM routes the video signal from the auxiliary source of video to the video screen.

The video screen produces images based on this video signal, either coming from the VCP or the auxiliary source of video.

The video screen is of a Liquid Crystal Display (LCD) type, and uses backlighting for its operation.

Diagnostic Aids

    • Check for the following conditions:
       - An open in YEL and/or WHT wires between the AVM and the video screen.
       - A faulty video screen.
       - A faulty AVM.
    • An intermittent failure may be very difficult to detect and to diagnose accurately. Faulty electrical connections or wiring causes most intermittent problems. When an intermittent condition is suspected, check the suspected circuits for the following conditions:
       - Poor mating of connector halves or backed out terminals.
       - Improperly formed or damaged terminals.
       - Wire chafing.
       - Poor wire to terminal connections.
       - Dirty or corroded terminals.
       - Damage to connector bodies.
       - Wire broken inside the insulation.

Test Description

The number(s) below refer to the step number(s) on the diagnostic table.

  1. Checks the integrity of the video signal circuits between the AVM and the video screen.

  2. Checks if the AVM is faulty.

  3. Verifies repairs made to the VES.

Step

Action

Value(s)

Yes

No

1

Check the WHT and YEL wire circuits between the Auxiliary Video Module (AVM) harness connector C2 and the video screen.

Are these circuits in good condition? (no sign of open, short to ground, or shorted together)

--

Go to Step 3

Go to Step 2

2

  1. Repair the WHT and/or YEL wire(s) between the AVM and the video screen.
  2. After video screen replacement, verify the operation of the Video Entertainment System (VES).

Does the video screen operate?

--

System OK

Go to Video System System Check

3

  1. Replace the video screen. Refer to Video Display Replacement .
  2. After video screen replacement, verify the operation of the Video Entertainment System (VES).

Does the video screen operate?

--

System OK

Go to Step 4

4

  1. Replace the AVM. Refer to Audio/Video Interface Module Replacement .
  2. After video screen replacement, verify the operation of the Video Entertainment System (VES).

Does the video screen operate?

--

System OK

Go to Video System System Check

Video Screen is Blank but Backlighting is On second design


Object Number: 567189  Size: MF
Entertainment Connector End Views
Entertainment Components
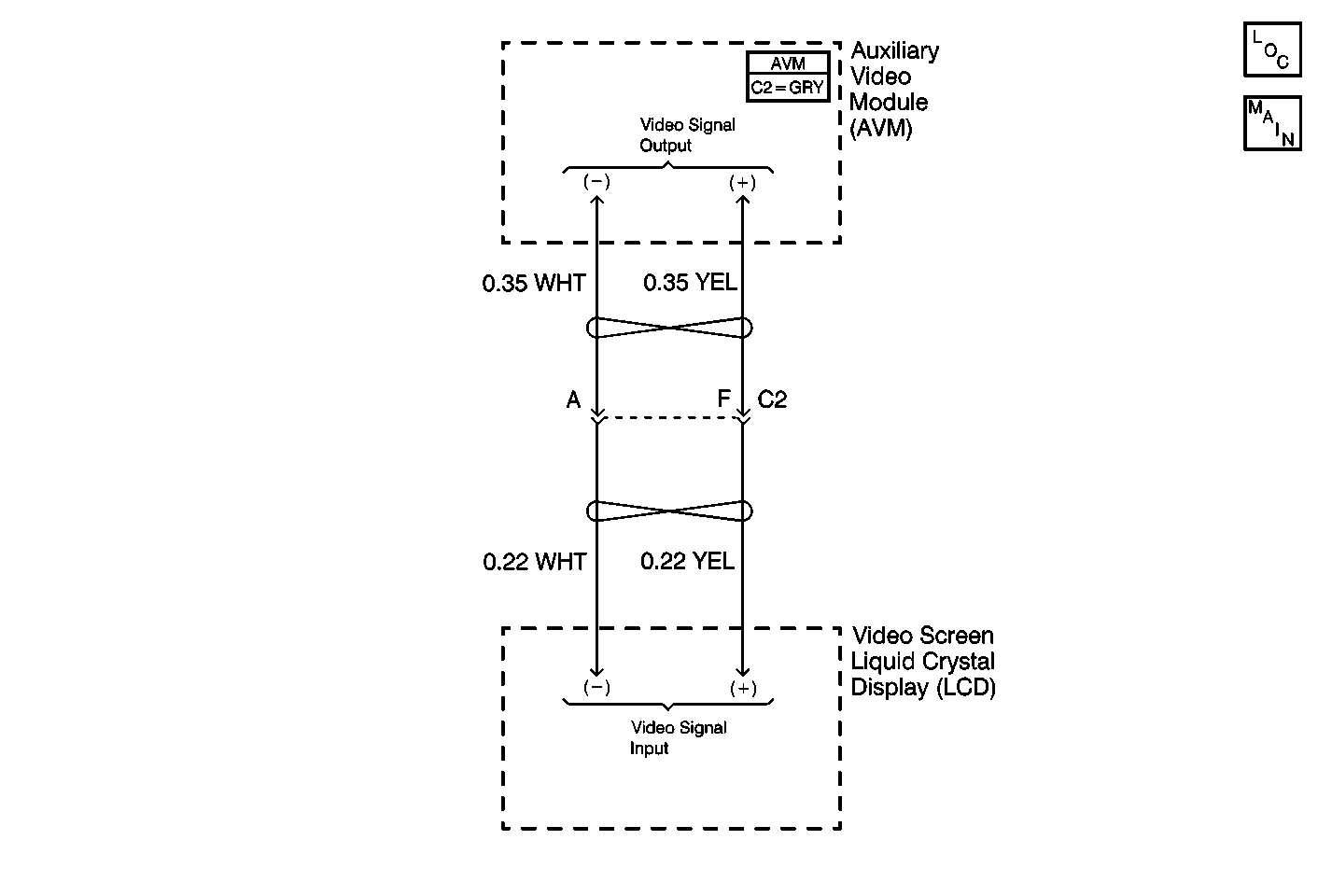
Video System Schematics

Circuit Description

The Video Cassette Player (VCP) plays pre-recorded VHS tapes. The Auxiliary Video Module (AVM) receives the video signal generated by the VCP. When the AVM switch is set to VCP, the AVM routes the VCP video signal to the video screen.

The AVM also allows the user to connect an auxiliary source of video and audio through RCA-style input jacks. When the AVM switch is set to AUX, the AVM routes the video signal from the auxiliary source of video to the video screen.

The video screen produces images based on this video signal, either coming from the VCP or the auxiliary source of video.

The video screen is of a Liquid Crystal Display (LCD) type, and uses backlighting for its operation.

Diagnostic Aids

    • Check for the following conditions:
       - An open in YEL and/or WHT wires between the AVM and the video screen.
       - A faulty video screen.
       - A faulty AVM.
    • An intermittent failure may be very difficult to detect and to diagnose accurately. Faulty electrical connections or wiring causes most intermittent problems. When an intermittent condition is suspected, check the suspected circuits for the following conditions:
       - Poor mating of connector halves or backed out terminals.
       - Improperly formed or damaged terminals.
       - Wire chafing.
       - Poor wire to terminal connections.
       - Dirty or corroded terminals.
       - Damage to connector bodies.
       - Wire broken inside the insulation.

Test Description

The number(s) below refer to the step number(s) on the diagnostic table.

  1. Checks the integrity of the video signal circuits between the AVM and the video screen.

  2. Checks for proper connections at the VCP.

  3. Checks if the AVM is faulty.

  4. Verifies repairs made to the VES.

Step

Action

Value(s)

Yes

No

1

Check the WHT and YEL wire circuits between the Auxiliary Video Module (AVM) harness connector C2 and the video screen.

Are these circuits in good condition? (no sign of open, short to ground, or shorted together)

--

Go to Step 3

Go to Step 2

2

Repair the WHT and/or YEL wire(s) between the AVM and the video screen.

Has the repair been made?

--

Go to Video System System Check

--

3

Check the connections at the VCP for proper seating or any bent pins ect.

Were any connections loose or faulty?

--

Go to Video System System Check

Go to Step 4

4

  1. Replace the video screen. Refer to Video Display Replacement .
  2. After video screen replacement, verify the operation of the Video Entertainment System (VES).

Does the video screen operate?

--

System OK

Go to Step 5

5

  1. Replace the AVM. Refer to Audio/Video Interface Module Replacement .
  2. After video screen replacement, verify the operation of the Video Entertainment System (VES).

Does the video screen operate?

--

System OK

Go to Video System System Check