GM Service Manual Online
For 1990-2009 cars only

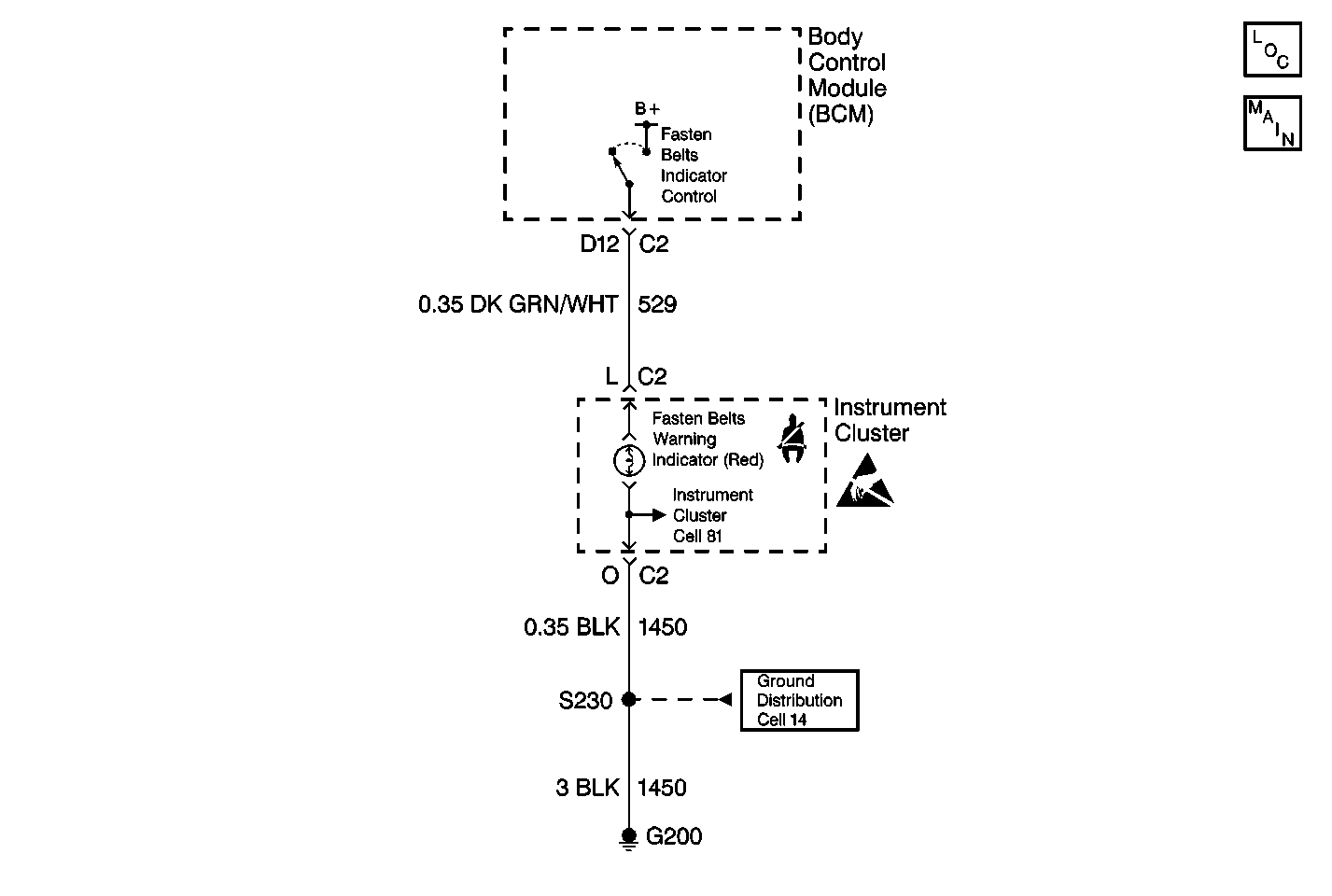
Object Number: 323113  Size: MF
Body Control Module Components
Cell 51: BCM: Ignition Input, Door Locks, Exterior Lamps Output
Handling ESD Sensitive Parts Notice
Cell 14: G200

Circuit Description

The Body Control Module (BCM) controls the operation of the fasten seat belt indicator. The fasten seat belt indicator is located in the instrument cluster. The BCM turns ON the fasten seat belt indicator by sending voltage through CKT 529. The fasten seat belt indicator receives ground through CKT 1450.

The BCM turns ON the fasten seat belt indicator for 63-77 seconds when the following conditions are met:

    • The ignition switch is in the RUN position.
    • The driver's seat belt releases (unfastens).

If the driver's seat belt is fastened during the 63-77 second period, the BCM turns OFF the fasten seat belt indicator. If the driver's seat belt releases anytime during the same ignition cycle, the BCM turns ON the fasten seat belt indicator again for 63-77 seconds.

Conditions for Setting the DTC

The BCM detects a short to B+ or ground in CKT 529.

Action Taken When the DTC Sets

    • The BCM sets the Diagnostic Trouble Code (DTC) 1.
    • The fasten seat belt indicator lamp does not turn on when CKT 529 shorts to ground.
    • The fasten seat belt indicator lamp stays on at all times when CKT 529 shorts to B+.

Conditions for Clearing the MIL/DTC

    • A short to B+ or ground in CKT 529 is no longer present between the BCM and the instrument cluster.
    • After you complete the repairs, the DTC is cleared by performing the Clearing Diagnostic Trouble Codes (DTCs) procedure.

Diagnostic Aids

    • Inspect for a short to ground in CKT 529.
    • Inspect for a short to B+ in CKT 529.
    • Inspect for an internal short to ground in the instrument cluster circuity.
    • Attempt to perform the tests shown while moving the wiring and the connectors.
        This procedure can show where the malfunction may appear.

Test Description

The number(s) below refer to the step number(s) on the diagnostic table.

  1. Always perform the BCM diagnostic system check before attempting to diagnose the DTC.

  2. Perform the tests for the operation of the fasten seat belt indicator.

  3. Perform the tests for a short to ground in CKT 529.

  4. Perform the tests for a short to B+ in CKT 529.

  5. Determine whether the BCM or the instrument cluster is faulty.

  6. Perform the tests for a faulty BCM.

Step

Action

Value(s)

Yes

No

1

Was the BCM diagnostic system inspection performed?

--

Go to Step 2

Go to Diagnostic System Check - Body Control System

2

  1. Turn the ignition switch to the LOCK position.
  2. Release (unfasten) the driver's seat belt.
  3. While observing the fasten seat belt indicator, turn the ignition switch to the RUN position.

Does the fasten seat belt indicator turn on for 63-77 seconds, then turn off?

--

Go to Step 7

Go to Step 3

3

  1. Turn the ignition switch to the LOCK position.
  2. Disconnect the Body Control Module (BCM) electrical connector C2
  3. Disconnect the instrument cluster electrical connector C2.
  4. Use a DMM J 39200 in order to measure the resistance between the BCM harness connector C2 terminal D12 and ground.

Is the resistance equal to the specified value?

Infinite

Go to Step 4

Go to Step 8

4

  1. Turn the ignition switch to the RUN position.
  2. Use a DMM J 39200 in order to measure the voltage between the BCM harness connector C2 terminal D12 and ground.

Is the voltage less than the specified value?

2 V

Go to Step 5

Go to Step 9

5

  1. Reconnect the instrument cluster electrical connector C2.
  2. Use a 3A fused jumper in order to connect between B+ and the BCM harness connector C2 terminal D12.

Does the fastener seat belt indicator lamp turn ON (and the fused jumper does not open)?

--

Go to Step 6

Go to Step 10

6

  1. Turn the ignition switch to the LOCK position.
  2. Disconnect the fused jumper from the previous step.
  3. Reconnect the BCM electrical connector C2.
  4. Ensure that the driver's seat belt releases (unfastens).
  5. Turn the ignition switch to the RUN position for 70 seconds.
  6. Turn the ignition switch to the LOCK position.
  7. Remove the BCM PRGRM Fuse.
  8. Turn the ignition switch to the ACC position. (The BCM sounds the chime a number of times equivalent to the BCM type installed on the vehicle).
  9. Within 1 second, turn the ignition switch from the ACC position, to the lock position, then back to the ACC position. (The BCM sounds any DTCs stored).

Does DTC 1 reset.

--

Go to Step 11

Go to Step 7

7

The malfunction is intermittent or not present at this time. Refer to Diagnostic Aids.

Is the action complete?

--

Go to Step 12

--

8

Repair short to ground in CKT 529 between the BCM connector C2 terminal D12 and the instrument cluster connector C2 terminal L.

Is the repair complete?

--

Go to Step 12

--

9

Repair short to B+ in CKT 529 between the BCM connector C2 terminal D12 and the instrument cluster connector C2 terminal L.

Is the repair complete?

--

Go to Step 12

--

10

The instrument cluster has an internal short to ground. Service the instrument cluster. Refer to Instrument Cluster Replacement

Is the action complete?

--

Go to Step 12

--

11

    • Inspect the BCM connector C2 for short to B+ or ground in terminal D12, and make the repair as needed.
    • If the connector is OK, replace the BCM. Refer to Body Control Module Replacement

Is the repair complete?

--

Go to Step 12

--

12

  1. Turn the ignition switch to the LOCK position.
  2. Reinstall the connectors/components removed.
  3. Ensure that the driver's seat belt is released (unfastened).
  4. Turn the ignition switch to the RUN position for 6 seconds.
  5. Turn the ignition switch to the LOCK position.
  6. Remove the BCM PRGRM Fuse.
  7. Turn the ignition switch to the ACC position. (The BCM sounds the chime a number of times equivalent to the BCM type installed on the vehicle).
  8. Within 1 second, turn the ignition switch from the ACC position, to the lock position, then back to the ACC position. (The BCM sounds any DTCs stored).

Are any BCM DTCs present?

--

Go to Diagnostic System Check - Body Control System

System OK