GM Service Manual Online
For 1990-2009 cars only
Makes
🢒
Chevrolet
🢒
2001
🢒
Venture
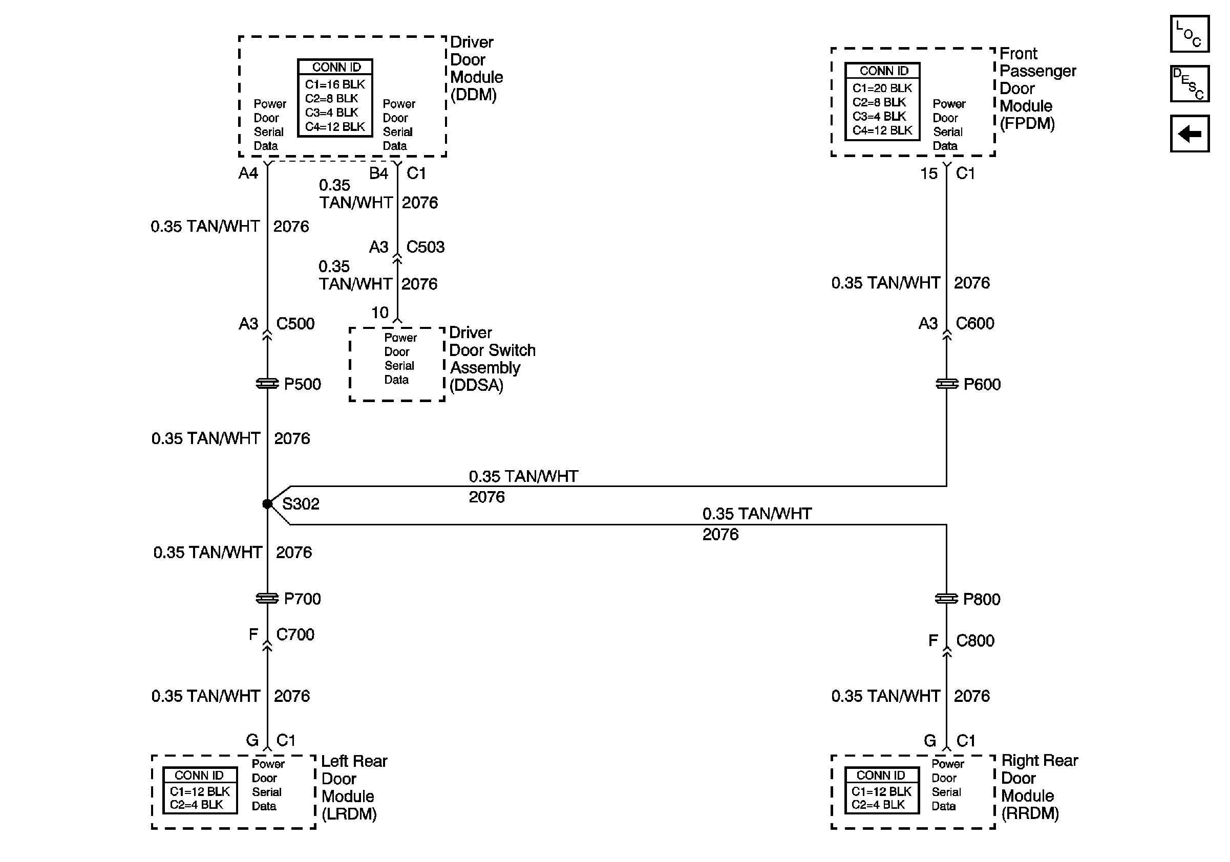
🢒 Simple Bus Interface (SBI)
Simple Bus Interface (SBI)
Simple Bus Interface (SBI)
Master Electrical Component List
Driver Door Switch Assembly