GM Service Manual Online
For 1990-2009 cars only
Makes
🢒
Chevrolet
🢒
1997
🢒
Venture Ext.
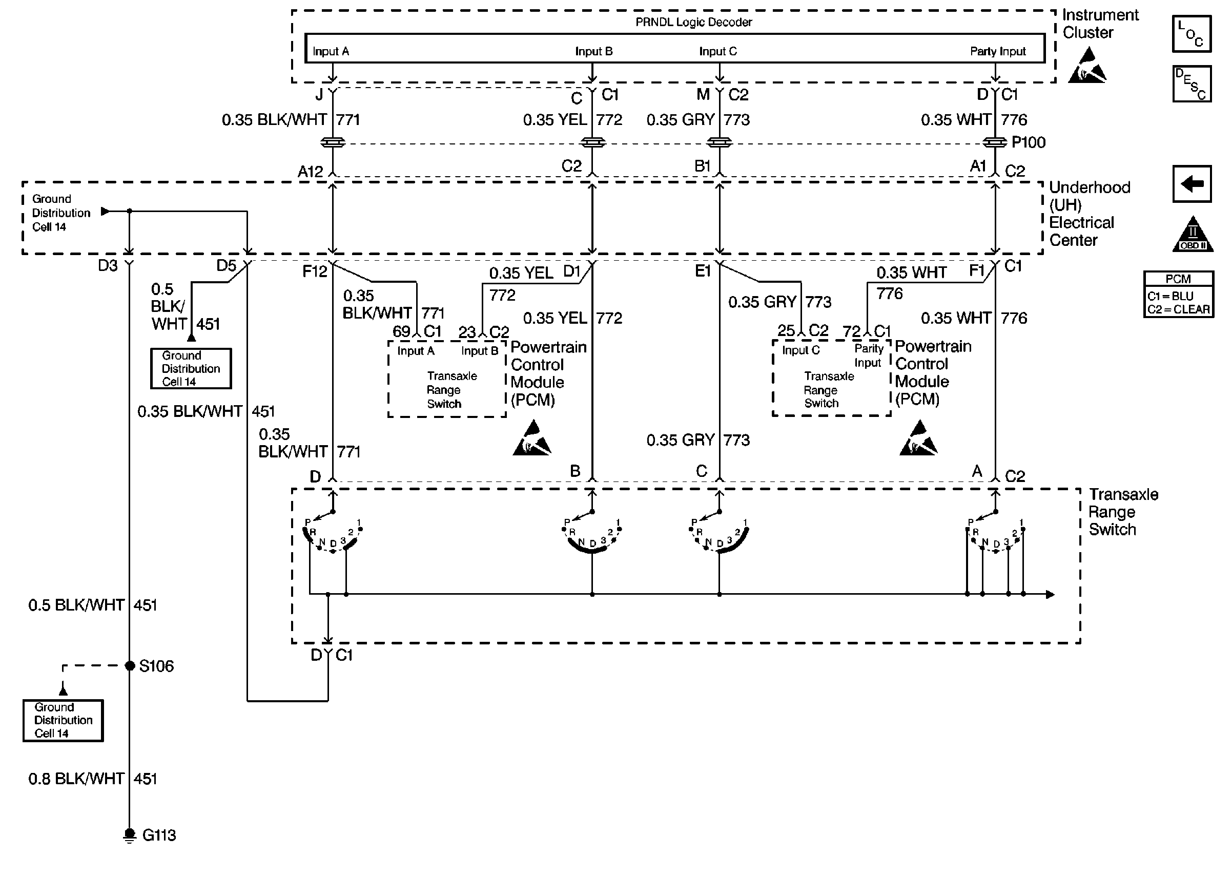
🢒 Transaxle Range Sw.
Transaxle Range Sw.
Transaxle Range Sw.
Handling ESD Sensitive Parts Notice
Handling ESD Sensitive Parts Notice
Handling ESD Sensitive Parts Notice
OBD II Symbol Description Notice
Coolant Fans
Information Sensors
Engine Controls Components