GM Service Manual Online
For 1990-2009 cars only

Removal Procedure

Tools Required

J 29843-9 Door Lock Striker and Seat Belt Torx® Wrench


    Object Number: 179376  Size: SH
  1. Unsnap the plastic cover from the shoulder belt guide.
  2. Remove the anchor nut from the upper guide loop on the front seat belt .
  3. Remove the center pillar upper trim panel. Refer to Center Pillar Upper Trim Panel Replacement in Interior Trim.
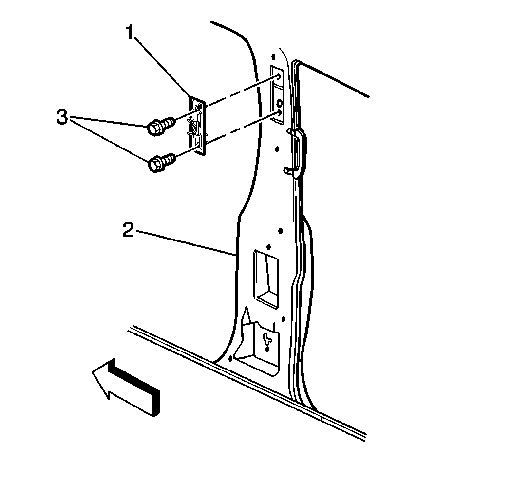
  4. Use J 29843-9 in order to remove the bolts (3) from the shoulder belt guide adjuster bracket (1) .
  5. Remove the guide adjuster bracket (1) from the B-pillar (2).

Installation Procedure

Tools Required

J 29843-9 Door Lock Striker and Seat Belt Torx® Wrench


    Object Number: 179376  Size: SH
  1. Install the shoulder belt guide adjuster bracket (1) to the B-pillar (2).
  2. Notice: Use the correct fastener in the correct location. Replacement fasteners must be the correct part number for that application. Fasteners requiring replacement or fasteners requiring the use of thread locking compound or sealant are identified in the service procedure. Do not use paints, lubricants, or corrosion inhibitors on fasteners or fastener joint surfaces unless specified. These coatings affect fastener torque and joint clamping force and may damage the fastener. Use the correct tightening sequence and specifications when installing fasteners in order to avoid damage to parts and systems.

  3. Use J 29843-9 in order to install the bolts (3) to the guide adjuster bracket (1).
  4. Tighten
    Tighten the bolts to 50 N·m (37 lb ft).

  5. Install the center pillar upper trim panel. Refer to Center Pillar Upper Trim Panel Replacement in Interior Trim.
  6. Install the nut securing the upper guide loop anchor nut.
  7. Tighten
    Tighten the anchor nut to 29 N·m (21 lb ft).

  8. Snap the plastic cover to the shoulder belt guide.