GM Service Manual Online
For 1990-2009 cars only
Makes
🢒
Chevrolet
🢒
1999
🢒
Venture Ext.
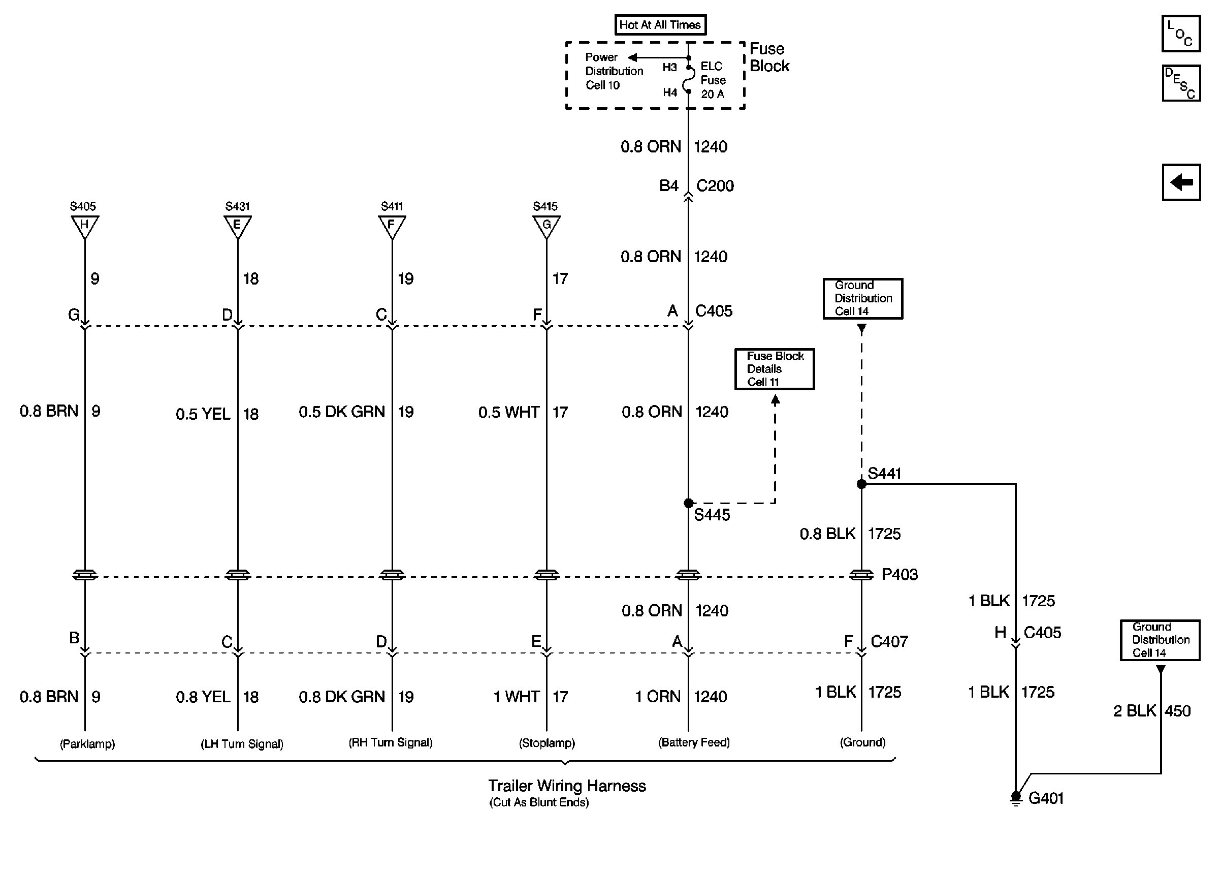
🢒 Cell 110: Fuse Block and G401
Cell 110: Fuse Block and G401
Cell 110: Fuse Block and G401
Lighting Systems Components
Exterior Lights Circuit Description
Cell 110: DRL Ambient Light Sensor, DRL Control Module
Cell 14: G401
Cell 14: G401
Cell 11: Cigar/DLC, CTSY Lamp, ELC, FRT PWR SCKT, PWR Mirror and RR Defog Fuses
Cell 110: License Lamps, Relay Center
Cell 110: Taillamps, Side Markers, Park/Turn Lamps
Cell 110: Taillamps, Side Markers, Park/Turn Lamps
Cell 110: Stoplamp Switch, Center High Mounted Stop Lamp