GM Service Manual Online
For 1990-2009 cars only
Figure 1:

EBCM, BATT Main 1 and Radio Fuses


Object Number: 599235  Size: FS
Figure 2:

BATT Main 2, Headlamps, ELC/Trailer, RR Defog/HTP Mirrors and RR Fog LP Fuses and PWR/ Heated Seat PSD Circut Breaker


Object Number: 599247  Size: FS
Stop Lamp, Hazard, and Pass Key Fuses, FRT HVAC MI BLWR and Headlamp Circuit Breakers
Power and Grounding Components
Ignition Switch, IGN Main 2, BCM PRORM, RR WPR/WSHR, MALL/Cluster and FRT/WPR/WSHR Fuses
EBCM, BATT Main 1 and Radio Fuses
Figure 3:

Ignition Switch, IGN Main 2, BCM PRORM, RR WPR/WSHR, MALL/Cluster and FRT/WPR/WSHR Fuses


Object Number: 599256  Size: FS
Power and Grounding Components
Ignition Switch IGN Main Relay, IGN Main 1, PCM/ABS, CONVENT SOL, DRL, and PCM/Crank Fuses
BATT Main 2, Headlamps, ELC/Trailer, RR Defog/HTP Mirrors and RR Fog LP Fuses and PWR/ Heated Seat PSD Circuit Breaker
Underhood Accessory Wiring Junction Block, Relay Center, PWR WDO and PWR OTR Vent Fuses
HVAC/DIC/DRL/Heated Seat, HVAC Blower and RR HVAC/TEMP CONT Fuses
Figure 4:

Ignition Switch IGN Main Relay, IGN Main 1, PCM/ABS, CONVENT SOL, DRL, and PCM/Crank Fuses


Object Number: 599261  Size: FS
IGN, SIR, T/S/G, Cruise, and PCM/Pass Key 1 Cluster Fuses
Power and Grounding Components
Underhood Accessory Wiring Junction Block
Ignition Switch, IGN Main 2, BCM PRORM, RR WPR/WSHR, MALL/Cluster and FRT/WPR/WSHR Fuses
IGN, SIR, T/S/G, Cruise, and PCM/Pass Key 1 Cluster Fuses
Figure 5:

Underhood Accessory Wiring Junction Block


Object Number: 599268  Size: FS
Ignition Switch IGN Main Relay, IGN Main 1, PCM/ABS, CONVENT SOL, DRL, and PCM/Crank Fuses
Cell 14: G100, G111 and G113
Under Accessory Wiring Junction Block and IGN 1 Fuse
Cell 14: G100, G111 and G113
Under Accessory Wiring Junction Block and INJ Fuse
Underhood Accessory Wiring Junction Block
Underhood Accessory Wiring Junction Block
Power and Grounding Components
Underhood Accessory Wiring Junction Block, Relay Center, PWR WDO and PWR OTR Vent Fuses
Ignition Switch IGN Main Relay, IGN Main 1, PCM/ABS, CONVENT SOL, DRL, and PCM/Crank Fuses
Ignition Switch IGN Main Relay, IGN Main 1, PCM/ABS, CONVENT SOL, DRL, and PCM/Crank Fuses
Underhood Accessory Wiring Junction Block, Relay Center, PWR WDO and PWR OTR Vent Fuses
Figure 6:

Underhood Accessory Wiring Junction Block, Relay Center, PWR WDO and PWR OTR Vent Fuses


Object Number: 599498  Size: FS
Ignition Switch, IGN Main 2, BCM PRORM, RR WPR/WSHR, MALL/Cluster and FRT/WPR/WSHR Fuses
Cluster BATT, RR PWR SCKT, PWR Lock, Rap Relay, CTSY Lamp, FRT PWR SCKT, Cigar/DLC and PWR Mirror Fuses
Underhood Accessory Wiring Junction Block
Power and Grounding Components
Cluster BATT, RR PWR SCKT, PWR Lock, Rap Relay, CTSY Lamp, FRT PWR SCKT, Cigar/DLC and PWR Mirror Fuses
Underhood Accessory Wiring Junction Block
Figure 7:

Cluster BATT, RR PWR SCKT, PWR Lock, Rap Relay, CTSY Lamp, FRT PWR SCKT, Cigar/DLC and PWR Mirror Fuses


Object Number: 599471  Size: FS
EBCM, BATT Main 1 and Radio Fuses
Underhood Accessory Wiring Junction Block, Relay Center, PWR WDO and PWR OTR Vent Fuses
Power and Grounding Components
Stop Lamp, Hazard, and Pass Key Fuses, FRT HVAC MI BLWR and Headlamp Circuit Breakers
Underhood Accessory Wiring Junction Block, Relay Center, PWR WDO and PWR OTR Vent Fuses
Figure 8:

Stop Lamp, Hazard, and PassKey Fuses, FRT HVAC MI BLWR and Headlamp Circuit Breakers


Object Number: 599474  Size: FS
BATT Main 2, Headlamps, ELC/Trailer, RR Defog/HTP Mirrors and RR Fog LP Fuses and PWR/ Heated Seat PSD Circuit Breaker
Power and Grounding Components
HVAC/DIC/DRL/Heated Seat, HVAC Blower and RR HVAC/TEMP CONT Fuses
Cluster BATT, RR PWR SCKT, PWR Lock, Rap Relay, CTSY Lamp, FRT PWR SCKT, Cigar/DLC and PWR Mirror Fuses
Figure 9:

HVAC/DIC/DRL/Heated Seat, HVAC Blower and RR HVAC/TEMP CONT Fuses


Object Number: 599478  Size: FS
Ignition Switch, IGN Main 2, BCM PRORM, RR WPR/WSHR, MALL/Cluster and FRT/WPR/WSHR Fuses
Power and Grounding Components
IGN, SIR, T/S/G, Cruise, and PCM/Pass Key 1 Cluster Fuses
Stop Lamp, Hazard, and Pass Key Fuses, FRT HVAC MI BLWR and Headlamp Circuit Breakers
Figure 10:

IGN, SIR, T/S/G, Cruise, and PCM/PassKey 1 Cluster Fuses


Object Number: 599483  Size: FS
Ignition Switch IGN Main Relay, IGN Main 1, PCM/ABS, CONVENT SOL, DRL, and PCM/Crank Fuses
Ignition Switch IGN Main Relay, IGN Main 1, PCM/ABS, CONVENT SOL, DRL, and PCM/Crank Fuses
Power and Grounding Components
Under Accessory Wiring Junction Block and IGN 1 Fuse
HVAC/DIC/DRL/Heated Seat, HVAC Blower and RR HVAC/TEMP CONT Fuses
Figure 11:

Under Accessory Wiring Junction Block and IGN 1 Fuse


Object Number: 599487  Size: FS
Underhood Accessory Wiring Junction Block
Power and Grounding Components
Under Accessory Wiring Junction Block and INJ Fuse
IGN, SIR, T/S/G, Cruise, and PCM/Pass Key 1 Cluster Fuses
Figure 12:

Under Accessory Wiring Junction Block and INJ Fuse


Object Number: 599489  Size: FS
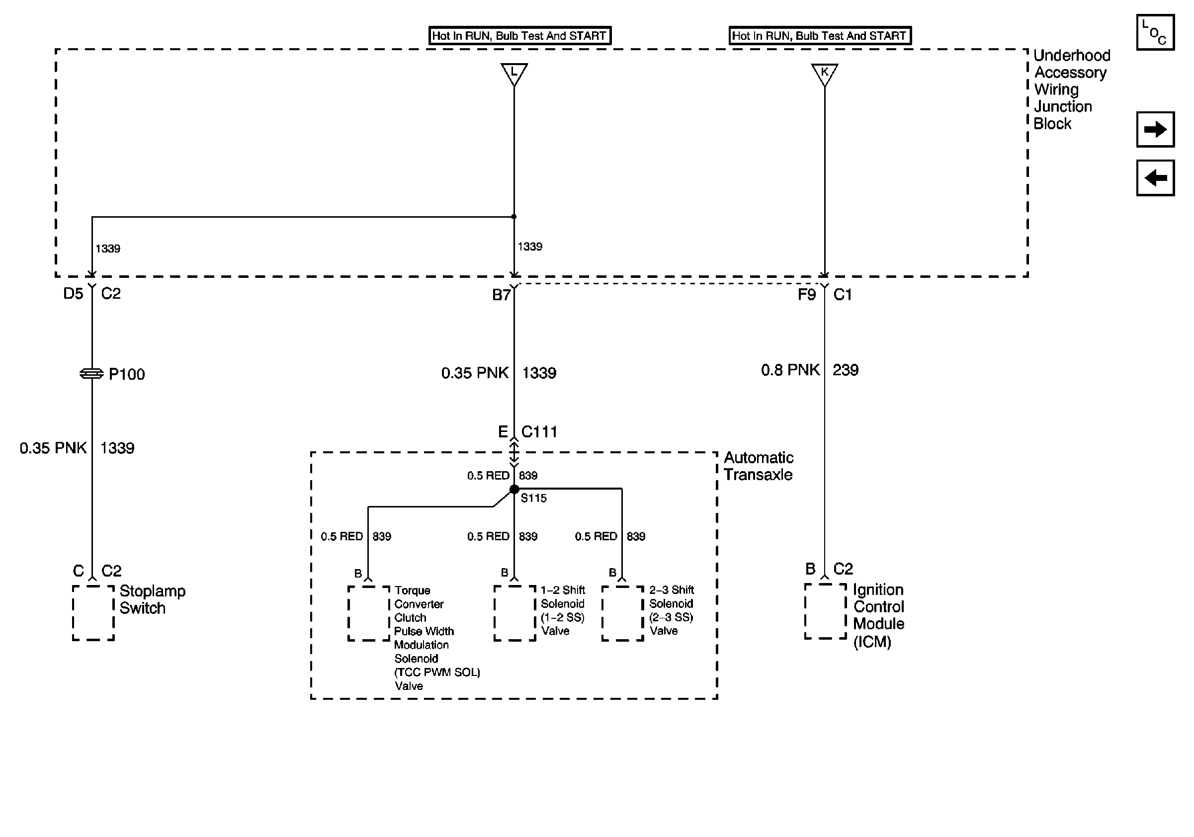
Underhood Accessory Wiring Junction Block
Power and Grounding Components
Underhood Accessory Wiring Junction Block
Under Accessory Wiring Junction Block and IGN 1 Fuse
Figure 13:

Underhood Accessory Wiring Junction Block


Object Number: 599491  Size: FS
Underhood Accessory Wiring Junction Block
Underhood Accessory Wiring Junction Block
Power and Grounding Components
SWC Backlight and HTO Mirror Fuses
Under Accessory Wiring Junction Block and INJ Fuse
Figure 14:

SWC Backlight and HTO Mirror Fuses


Object Number: 599493  Size: FS
Cell 61
Power and Grounding Components
(Export Only) LH T/LP, RH T/LP, LH HEAD LP High, RH HEAD LP High, LH Head LP Low, and RH Head LP Low Fuses
Underhood Accessory Wiring Junction Block
Figure 15:

(Export Only) LH T/LP, RH T/LP, LH HEAD LP High, RH HEAD LP High, LH Head LP Low, and RH Head LP Low Fuses


Object Number: 599495  Size: FS
Power and Grounding Components
SWC Backlight and HTO Mirror Fuses