GM Service Manual Online
For 1990-2009 cars only

Ignition Lock Cylinder Replacement - On Vehicle Cylinder Rotates

Removal Procedure

  1. Disconnect the battery negative cable. Refer to Battery Negative Cable Disconnection and Connection in Engine Electrical.
  2. Caution: This vehicle is equipped with a Supplemental Inflatable Restraint (SIR) System. Failure to follow the correct procedure could cause the following conditions:

       • Air bag deployment
       • Personal injury
       • Unnecessary SIR system repairs
    In order to avoid the above conditions, observe the following guidelines:
       • Refer to SIR Component Views in order to determine if you are performing service on or near the SIR components or the SIR wiring.
       • If you are performing service on or near the SIR components or the SIR wiring, disable the SIR system. Refer to Disabling the SIR System.

  3. Disable the SIR system. Refer to Disabling the SIR System in SIR.
  4. Remove the inflator module. Refer to Inflatable Restraint Steering Wheel Module Replacement in SIR.
  5. Remove the steering wheel. Refer to Steering Wheel Replacement .
  6. Remove the tilt lever.
  7. Remove ONLY the steering column LOWER shroud. Refer to Steering Column Trim Covers - Disassemble - Off Vehicle .
  8. Remove the fasteners from the steering column UPPER shroud.

  9. Object Number: 375970  Size: SH
  10. Lift the upper steering column shroud in order to gain access to the lock cylinder access hole (1).
  11. Insert the bent tip awl into the ignition lock cylinder access hole (1).

  12. Object Number: 375316  Size: SH
  13. Turn the ignition lock cylinder to START.

  14. Object Number: 375310  Size: SH
  15. Use the bent tip awl in order to push down on the ignition lock cylinder retainer.
  16. Release the ignition lock cylinder to RUN.

  17. Object Number: 375305  Size: SH
  18. Remove the ignition lock cylinder from the lock module.

Installation Procedure


    Object Number: 375309  Size: SH
  1. Insert the ignition lock cylinder through the upper shroud.
  2. Align the lock cylinder retaining tab and the position tab with the slots in the lock housing.
  3. Push the lock cylinder into the lock housing completely.
  4. Install the steering column upper shroud. Refer to Steering Column Trim Covers - Assemble - Off Vehicle .
  5. Install the lower shroud. Refer to Steering Column Trim Covers - Assemble - Off Vehicle .
  6. Install the tilt wheel lever.
  7. Install the steering wheel. Refer to Steering Wheel Replacement .
  8. Install the inflator module. Refer to Inflatable Restraint Steering Wheel Module Replacement in SIR.
  9. Enable the SIR system. Refer to Enabling the SIR System in SIR.
  10. Connect the battery negative cable. Refer to Battery Negative Cable Disconnection and Connection in Engine Electrical.

Ignition Lock Cylinder Replacement - On Vehicle Unable to Rotate Cylinder

Removal Procedure

  1. Disconnect the battery negative cable. Refer to Battery Negative Cable Disconnection and Connection in Engine Electrical.
  2. Caution: This vehicle is equipped with a Supplemental Inflatable Restraint (SIR) System. Failure to follow the correct procedure could cause the following conditions:

       • Air bag deployment
       • Personal injury
       • Unnecessary SIR system repairs
    In order to avoid the above conditions, observe the following guidelines:
       • Refer to SIR Component Views in order to determine if you are performing service on or near the SIR components or the SIR wiring.
       • If you are performing service on or near the SIR components or the SIR wiring, disable the SIR system. Refer to Disabling the SIR System.

  3. Disable the SIR system. Refer to Disabling the SIR System in SIR.
  4. Remove the inflator module. Refer to Inflatable Restraint Steering Wheel Module Replacement in SIR.
  5. Remove the steering wheel. Refer to Steering Wheel Replacement .
  6. Remove the tilt lever.
  7. Remove ONLY the steering column LOWER shroud. Refer to Steering Column Trim Covers - Disassemble - Off Vehicle .
  8. Remove the SIR coil. Refer to Inflatable Restraint Steering Wheel Module Coil Replacement in SIR.
  9. Remove the shaft lock shield and the turn signal cancel cam. Refer to Steering Column Tilt Head Housing - Disassemble - Off Vehicle Steering Column Tilt Head Disassemble.
  10. Remove the fasteners from the steering column UPPER shroud.
  11. Remove the park lock cable from the lock module.
  12. Important: The lock bolt has spring tension from the lock bolt spring. Hold the lock bolt while you remove the lock module.

  13. Remove the lock module with the ignition switch, the theft deterrent module, and the steering column upper shroud. Refer to Electronic Column Lock Module - Disassemble - Off Vehicle .
  14. Remove the lock module rear cover in order to gain access to the lock module sector gears.

  15. Object Number: 471844  Size: SH

    Important: Make a mark (1) on both of the lock module sector gears in order to ensure proper sector gear timing after the lock module is assembled.

  16. Remove the lock module sector gears.

  17. Object Number: 471852  Size: SH
  18. Use a small burring tool in order to carefully remove the lock cylinder position tab.
  19. Use a small flat-bladed tool in order to press and hold the lock cylinder retainer (1).
  20. Remove the lock cylinder from the lock module.
  21. Remove all of the metal shavings from the lock module.

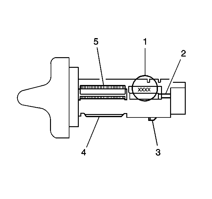
  22. Object Number: 471839  Size: SH
  23. Record the lock cylinder four-character key code (1) on the lock cylinder.
  24. Cut a new key according to the four-character lock cylinder key code. Refer to Key and Lock Cylinder Coding in General Information.
  25. Ensure that the new ignition key operates in all of the vehicle lock cylinders.
  26. Code the NEW ignition lock cylinder according to the four-character lock cylinder key code. Refer to Key and Lock Cylinder Coding in General Information.

Installation Procedure


    Object Number: 471844  Size: SH
  1. Align the marks (1) on the lock module sector gears and install the sector gears.
  2. Ensure that the lock module is in the OFF/LOCK position.
  3. Insert the ignition key into the NEW ignition lock cylinder.
  4. Align the lock cylinder retaining tab and the position tab with the slots in the lock housing.
  5. Push the lock cylinder into the lock housing completely.
  6. Rotate the lock cylinder to ACC.
  7. Ensure that the sector gear arrows point toward each other. If the sector gear arrows do not point toward each other, remove the sector gears and install the sector gears properly.
  8. Install lock module rear cover.
  9. Push the lock bolt completely into the into the tilt head and hold the lock bolt.
  10. Install the lock module with the ignition switch, the theft deterrent module and the steering column upper shroud. Refer to Electronic Column Lock Module - Assemble - Off Vehicle .
  11. Install the park lock cable to the lock module.
  12. Adjust the park lock cable.
  13. Install the steering column lower shroud. Refer to Steering Column Trim Covers - Assemble - Off Vehicle .
  14. Install the turn signal cancel cam and the shaft lock shield. Refer to Steering Column Tilt Head Housing - Assemble - Off Vehicle .
  15. Install the SIR coil. Refer to Inflatable Restraint Steering Wheel Module Coil Replacement in SIR.
  16. Install the steering wheel. Refer to Steering Wheel Replacement .
  17. Install the inflator module. Refer to Inflatable Restraint Steering Wheel Module Replacement in SIR.
  18. Enable the SIR system. Refer to Enabling the SIR System in SIR.
  19. Connect the battery negative cable. Refer to Battery Negative Cable Disconnection and Connection in Engine Electrical.