GM Service Manual Online
For 1990-2009 cars only
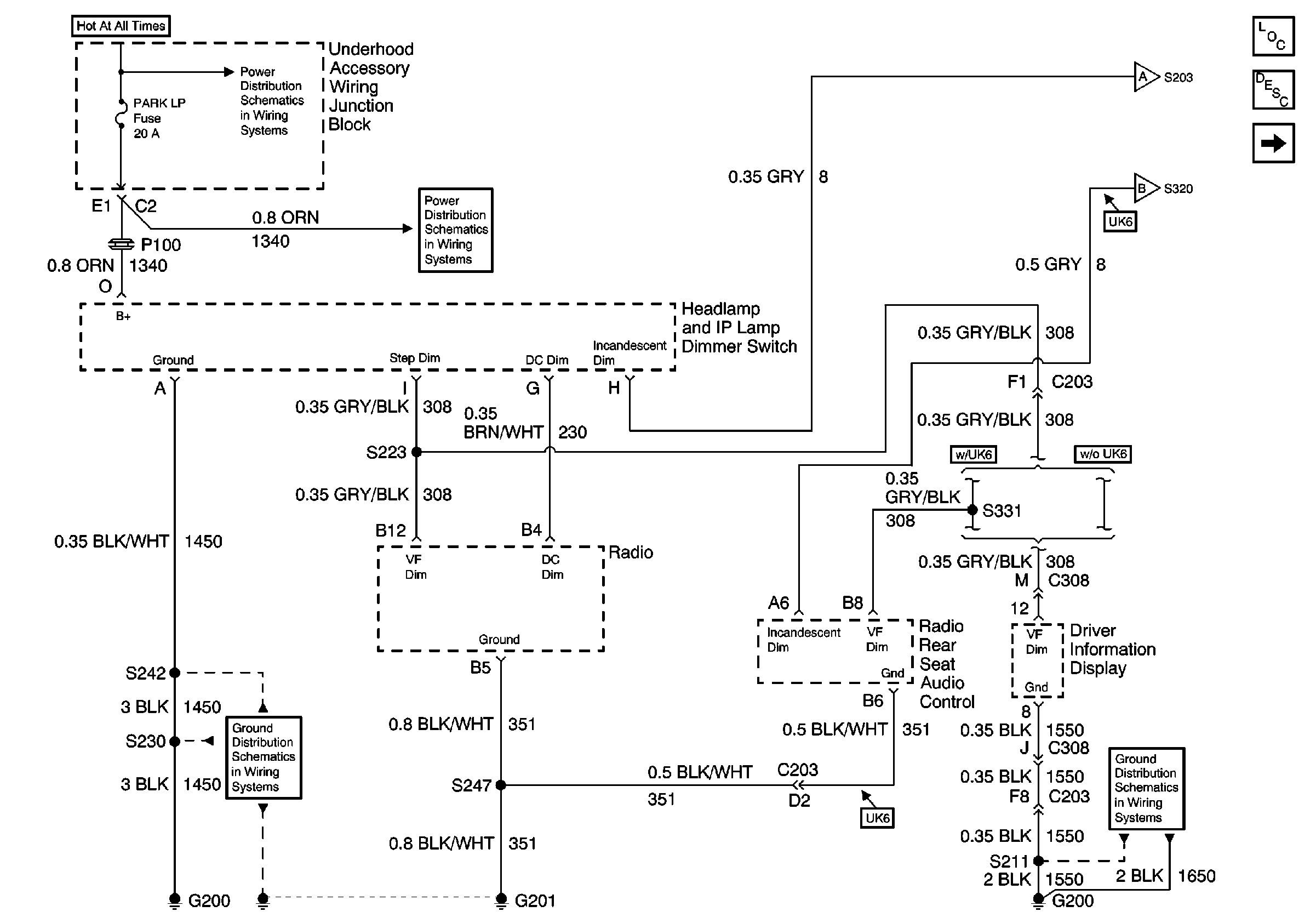
Figure 1:

Interior Lights Dimming Schematics (Cell 117: Headlamp and IP Lamp Dimmer Switch, Driver Information Display)


Object Number: 608495  Size: FS
Lighting Systems Components
Interior Lights Dimming Circuit Description
Interior Lights Dimming Schematics (Cell 117: Heater-A/C Control Switches and Instrument Cluster)
Interior Lights Dimming Schematics (Cell 117: Heater-A/C Control Switches and Instrument Cluster)
Interior Lights Dimming Schematics (Cell 117: Rear Window Wiper/Washer and Multifunction Switch, Window Switches, Door Lock Switches)
EBCM, BATT Main 1 and Radio Fuses
EBCM, BATT Main 1 and Radio Fuses
Cell 14: G200
Cell 14: G200
Figure 2:

Interior Lights Dimming Schematics (Cell 117: Heater-A/C Control Switches and Instrument Cluster)


Object Number: 608499  Size: FS
Lighting Systems Components
Interior Lights Dimming Circuit Description
Interior Lights Dimming Schematics (Cell 117: Rear Window Wiper/Washer and Multifunction Switch, Window Switches, Door Lock Switches)
Interior Lights Dimming Schematics (Cell 117: Headlamp and IP Lamp Dimmer Switch, Driver Information Display)
Interior Lights Dimming Schematics (Cell 117: Rear Window Wiper/Washer and Multifunction Switch, Window Switches, Door Lock Switches)
Interior Lights Dimming Schematics (Cell 117: Headlamp and IP Lamp Dimmer Switch, Driver Information Display)
Handling ESD Sensitive Parts Notice
Cell 14: G200
Handling ESD Sensitive Parts Notice
Cell 14: G200
SIR Handling Caution
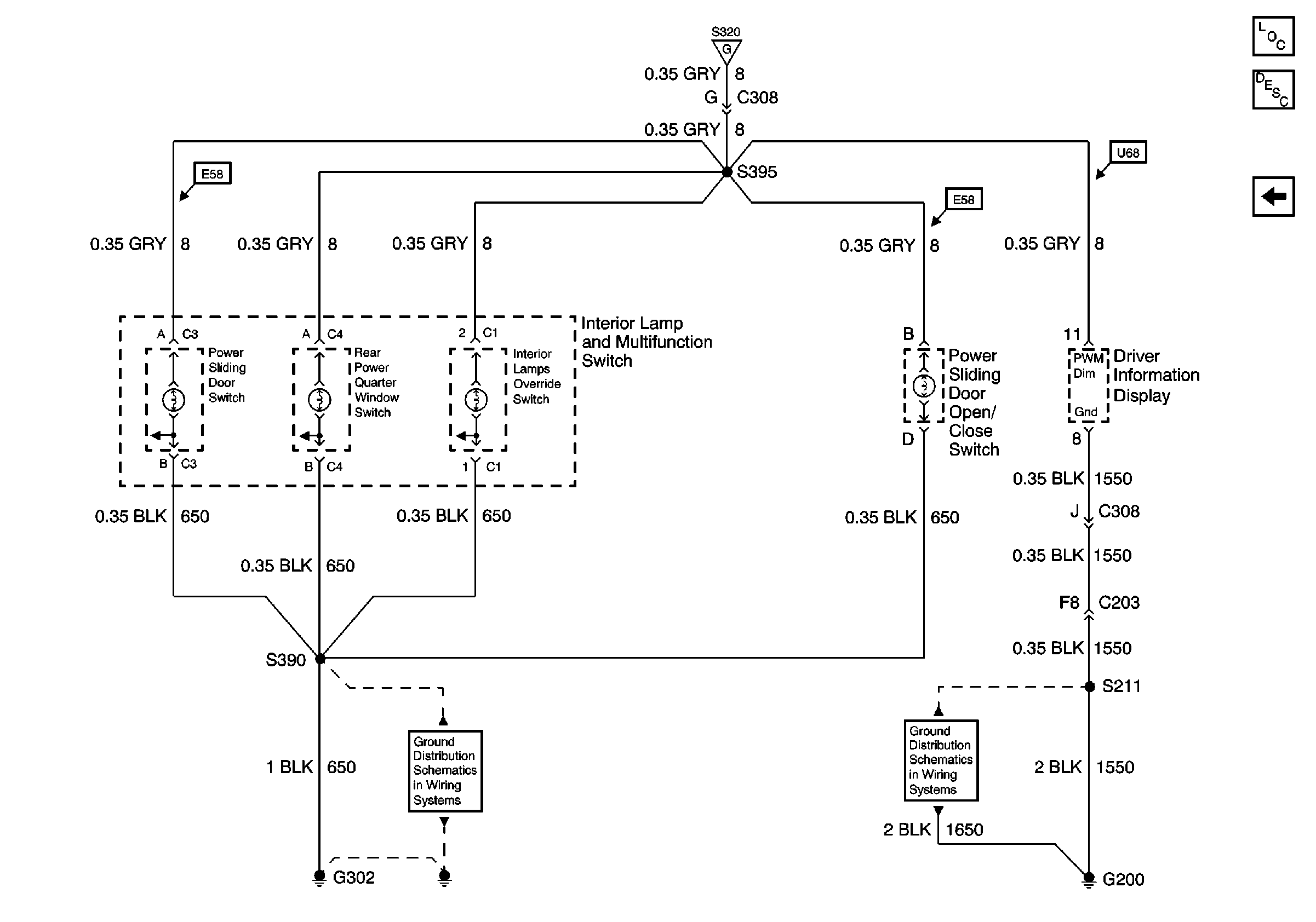
Figure 3:

Interior Lights Dimming Schematics (Cell 117: Rear Window Wiper/Washer and Multifunction Switch, Window Switches, Door Lock Switches)


Object Number: 608502  Size: FS
Lighting Systems Components
Interior Lights Dimming Circuit Description
Interior Lights Dimming Schematics (Cell 117: Interior Lamp and Multifunction Switch, Right Rear Door Latch, Release Actuator Switch)
Interior Lights Dimming Schematics (Cell 117: Heater-A/C Control Switches and Instrument Cluster)
Interior Lights Dimming Schematics (Cell 117: Headlamp and IP Lamp Dimmer Switch, Driver Information Display)
Interior Lights Dimming Schematics (Cell 117: Heater-A/C Control Switches and Instrument Cluster)
Interior Lights Dimming Schematics (Cell 117: Heater-A/C Control Switches and Instrument Cluster)
Cell 14: G302
Cell 14: G200
Cell 14: G401 and G402
Cell 14: G302
Interior Lights Dimming Schematics (Cell 117: Interior Lamp and Multifunction Switch, Right Rear Door Latch, Release Actuator Switch)
Figure 4:

Interior Lights Dimming Schematics (Cell 117: Interior Lamp and Multifunction Switch, Right Rear Door Latch, Release Actuator Switch)


Object Number: 608507  Size: FS
Lighting Systems Components
Interior Lights Dimming Circuit Description
Interior Lights Dimming Schematics (Cell 117: Rear Window Wiper/Washer and Multifunction Switch, Window Switches, Door Lock Switches)
Interior Lights Dimming Schematics (Cell 117: Rear Window Wiper/Washer and Multifunction Switch, Window Switches, Door Lock Switches)
Cell 14: G302
Cell 14: G200