GM Service Manual Online
For 1990-2009 cars only
Makes
🢒
Chevrolet
🢒
2000
🢒
Venture Ext.
🢒
Body and Accessories
🢒
Entertainment
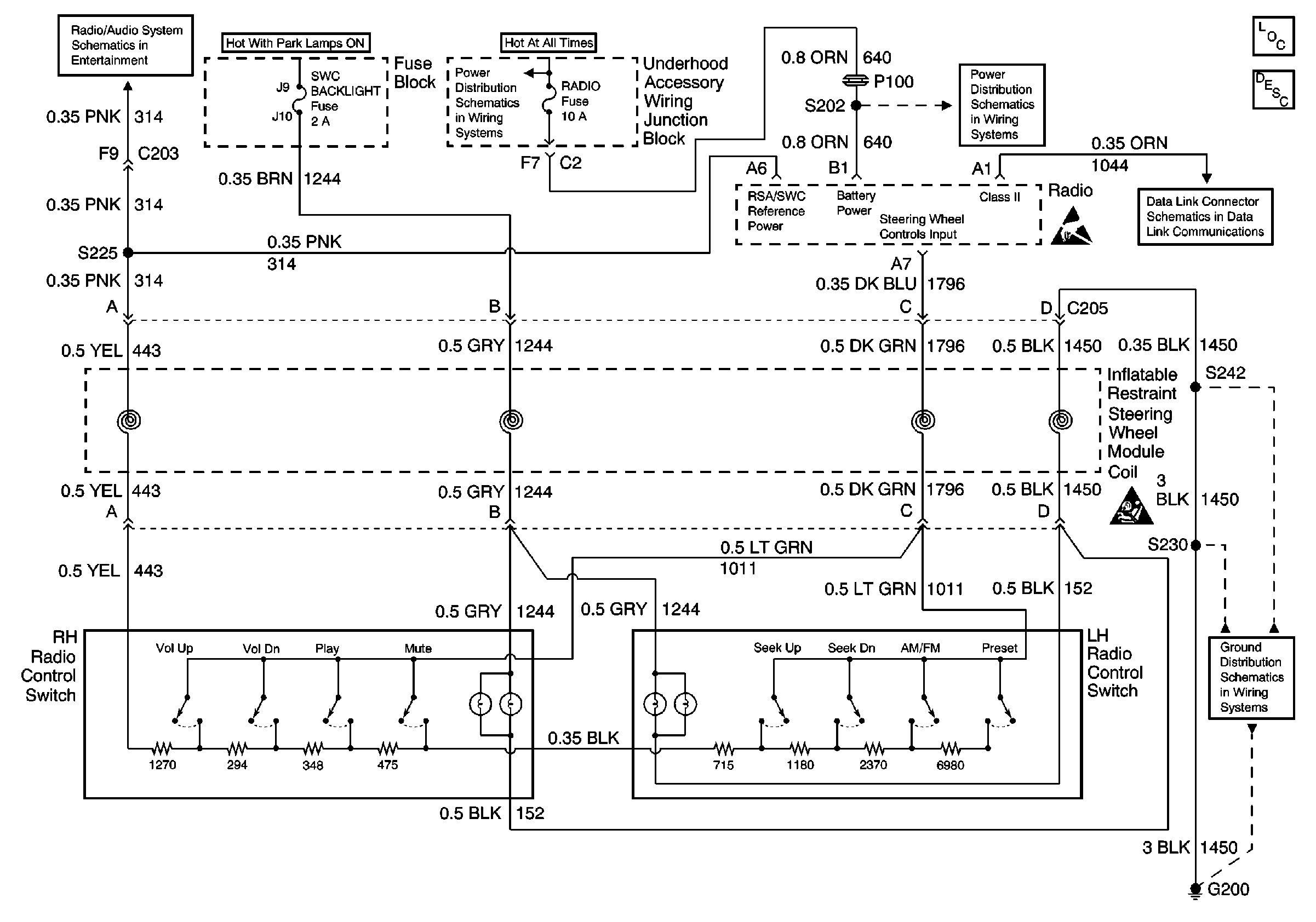
🢒 Steering Wheel Controls Schematics
Entertainment Components
Steering Wheel Controls System Circuit Description
DLC Schematic
Handling ESD Sensitive Parts Notice
EBCM, BATT Main 1 and Radio Fuses
EBCM, BATT Main 1 and Radio Fuses
SWC Backlight and HTO Mirror Fuses
Cell 150: G201
Cell 14: G200
SIR Handling Caution