GM Service Manual Online
For 1990-2009 cars only
Figure 1:

Below Driver's Seat


Object Number: 447181  Size: LF
(1)Drivers Seat
(2)Body Harness
(3)Connectors to Driver Seat Buckle Side Belt and Connector to Inflatable Restraint Driver Seat Module
(4)In-line Connector C313 (C314 Similar) and Connector to Driver Seat Belt Switch
Figure 2:

Passenger Heated Seat (Driver seat similar)


Object Number: 627805  Size: LF
(1)Seat Back Cushion (cover removed)
(2)Heater-- Seat Back --Passenger
(3)Heater-- Seat Cushion --Passenger
(4)Seat Cushion (cover removed)
(5)Power Seat Motor Adjuster Assembly
(6)Power Seat Adjuster Switch
Figure 3:

Driver Seat Adjuster Motor Assembly (Passenger similar)


Object Number: 626572  Size: LF
(1)Seat Front Vertical Adjuster Motor
(2)Seat Rear Vertical Adjuster Motor
(3)Seat Horizontal Adjuster Motor
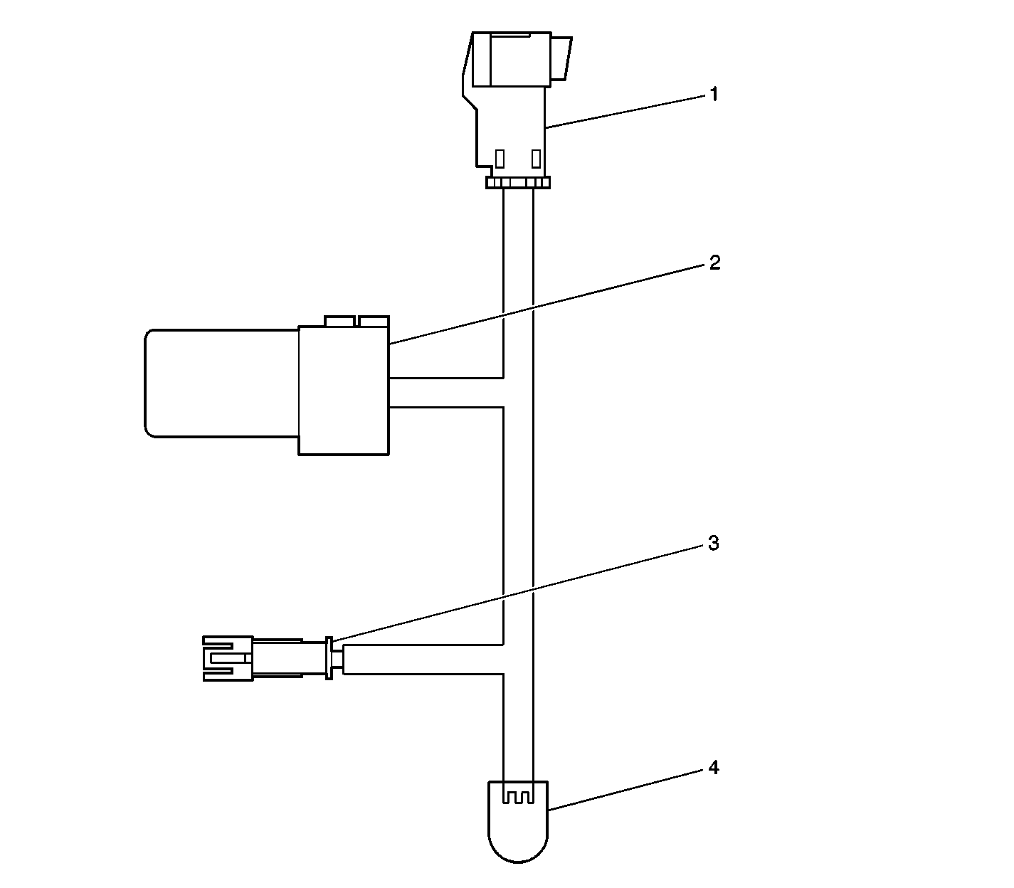
Figure 4:

Heated Seat Harness


Object Number: 627912  Size: LF
(1)C315-Driver, C316-Passenger
(2)Seat Heater Module-Driver, Seat Heater Module-Passenger
(3)Heater--Seat Back- Driver Connector, Heater--Seat Back- Passenger Connector
(4)Heater--Seat Cushion- Driver, Heater--Seat Cushion- Passenger