GM Service Manual Online
For 1990-2009 cars only
Makes
🢒
Chevrolet
🢒
2000
🢒
Venture Ext.
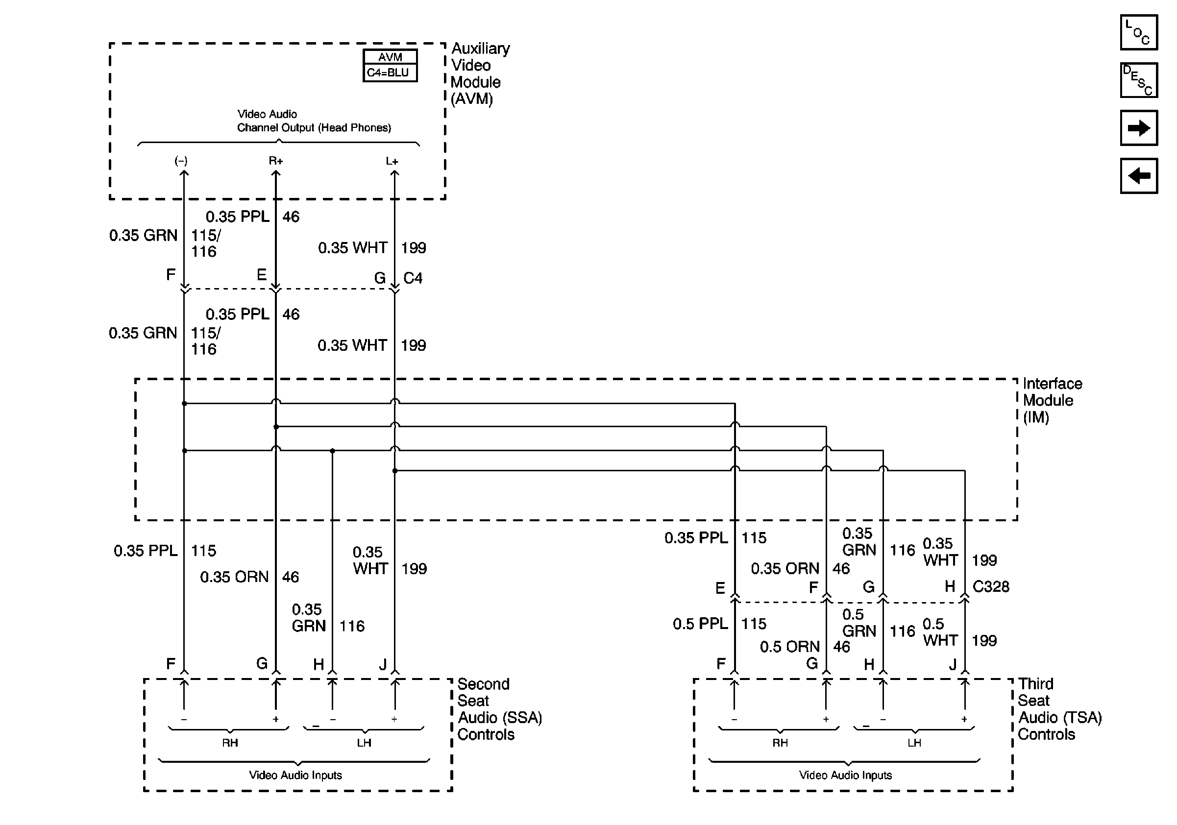
🢒 Video Audio Channel Outputs
Video Audio Channel Outputs
Video Audio Channel Outputs
Entertainment Components
Video System Description
Rear Speaker Outputs
Radio Audio Channel Outputs