The Power Sliding Door (PSD) contains an optical sensor that provides sliding door position information to the rear side door actuator control module. The optical sensor sends pulses to the rear side door actuator control module when the sliding door is moving. The rear side door actuator control module keeps track of these optical sensor pulses at all times, even when the sliding door is open or closed manually with the power sliding door on/off switch in the off position. The optical sensor pulses allow the rear side door actuator control module to calculate the position of the sliding door. Also, the optical sensor allows the rear side door actuator control module to resume PSD operation after operating the sliding door manually.
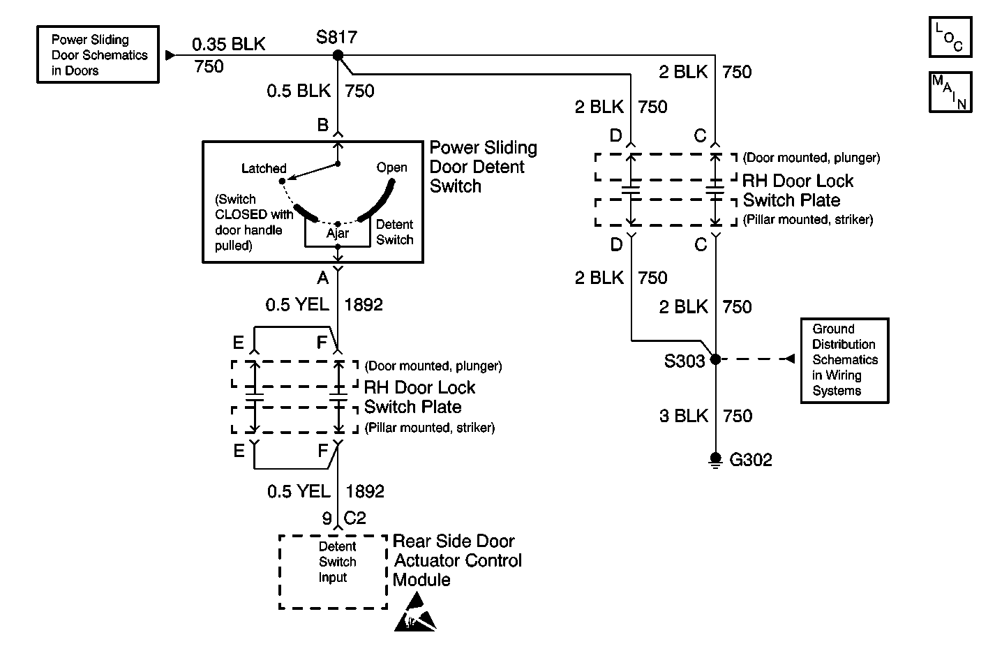
In addition to the optical sensor, the rear side door actuator control module uses the PSD detent switch to determine when the sliding door is open, ajar, or latched. The PSD detent switch is part of the sliding door latch assembly. The PSD detent switch sends ground signals to the rear side door actuator control module through circuit 1892 indicating when the sliding door is open, ajar, or latched (fully closed). The PSD detent switch receives ground through circuit 750. Circuits 750 and 1892 pass through the switch plate plungers and pads located on the B-pillar.
When the PSD is closing and the sliding door is about 30 cm (12 in.) from being closed, the rear side door actuator control module reduces power to the cable motor. This action slows down the movement of the sliding door. Once the switch plate plungers and pads make contact, circuits 750 and 1892 are completed and the rear side door actuator control module is able to monitor the PSD detent switch input.
When the sliding door latch moves from the open to the secondary latch (ajar) position, the PSD detent switch no longer sends a ground signal to the rear side door actuator control module, thus opening circuit 1892. This action signals the rear side door actuator control module that the sliding door has passed from the open door to the secondary latch (ajar) position. Upon detecting the door ajar position, the rear side door actuator control module sends full power to the cable motor.
As the sliding door continues to close, the sliding door latch moves from the ajar to the primary latch position. The PSD detent switch sends and another ground signal to the rear side door actuator control module when the sliding door is between the secondary and primary latch position. This action signals the rear side door actuator control module that the sliding door has passed from ajar to door closed position. Then, the rear side door actuator control module disengages the clutch and de-energizes the cable motor.
The PSD is unable to determine the exact location of the sliding door due to a problem with one of the following inputs:
| • | The optical sensor input |
| • | The PSD detent switch input |
| • | The PSD is disabled. |
| • | Any PSD movement, if in process is stopped. |
| • | The rear side door actuator control module sets DTC 13 in memory. |
| • | The conditions for setting the DTC are no longer present. |
| • | The power sliding door is re-initialized. |
| • | Inspect for the following conditions: |
| - | Poor connector terminal contact at the rear side door actuator control module |
| - | Poor interface of switch plate plungers and striker |
| - | An open in circuit 1892 |
| - | An open in circuit 750 |
| - | Poor ground, G302 |
| - | A short to ground in circuit 1892 |
| - | A faulty PSD detent switch |
| • | Prevent bright light from reaching the optical sensor when performing diagnostics with the rear quarter trim panel removed. Bright light may cause the rear side door actuator control module to lose track of the sliding door position. |
| • | An intermittent failure may be difficult to detect and to accurately diagnose. Faulty electrical connections or wiring causes most intermittent problems. When an intermittent condition is suspected, inspect the suspected circuits for the following conditions: |
| - | Poor mating of connector halves |
| - | Backed out terminals |
| - | Improperly formed or damaged terminals |
| - | Wire chafing |
| - | Poor wire-to-terminal connections |
| - | Dirty or corroded terminals |
| - | Damaged connector bodies |
| - | A broken wire inside the insulation |
| • | Use a J 35616 whenever a diagnostic procedure requests probing or inspecting a terminal. Using the J 35616 ensures that no damage to the terminal will occur. Using the J 35616 provides an estimate of whether the contact tension is sufficient. |
The number(s) below refer to the step number(s) on the diagnostic table.
This step performs the Diagnostic Mode 2: Input Test.
This step determines if the malfunction is in the sliding door or in the vehicle.
This step tests for an open in circuit 750 (door side).
This step tests for an open in circuit 1892 (door side).
This step determines if circuit 1892 is shorted to ground (door side) or the PSD detent switch is faulty.
This step tests for an open in circuit 750 (vehicle side).
This step tests for a short to ground in circuit 1892 (vehicle side).
This step tests for an open in circuit 1892 (vehicle side).
This step determines if the malfunction is intermittent or the rear side door actuator control module is faulty.
Step | Action | Value(s) | Yes | No | ||||||
|---|---|---|---|---|---|---|---|---|---|---|
1 | Was the Power Sliding Door (PSD) Diagnostic System Check performed? | -- | Go to Step 2 | |||||||
During Diagnostic Mode 2, the power sliding door alarm toggles (between on and off) when:
Does the power sliding door alarm work as described? | -- | Go to Step 17 | Go to Step 3 | |||||||
Upon contact using the fused jumper, does the power sliding door alarm toggle (on or off)? | -- | Go to Step 4 | Go to Step 7 | |||||||
Does the resistance measure less than the specified range? | 2 ohms | Go to Step 5 | Go to Step 10 | |||||||
Using a DMM, measure the resistance between the PSD detent switch electrical harness connector terminal C and door mounted RH door lock switch plate connector terminal F. Refer to Circuit Testing in Wiring Systems. Is the resistance less than the specified range? | 2 ohms | Go to Step 6 | Go to Step 11 | |||||||
Does the resistance measure at the specified range? | Infinite | Go to Step 12 | Go to Step 13 | |||||||
Using a test lamp, connect between B+ and the pillar mounted RH door lock switch plate connector terminal A. Refer to Circuit Testing in Wiring Systems. Did the test lamp illuminate? | -- | Go to Step 8 | Go to Step 14 | |||||||
Does the resistance measure near the specified range? | Infinite | Go to Step 9 | Go to Step 15 | |||||||
Using DMM, measure the resistance between the rear side door actuator control module harness connector C2 terminal 9 and the pillar mounted RH door lock switch plate connector terminal F. Refer to Circuit Testing in Wiring Systems. Does the resistance measure less than the specified value? | 10 ohms | Go to Step 17 | Go to Step 16 | |||||||
10 | Repair the poor connection or open in circuit 750 between the PSD detent switch and the door mounted RH door lock switch plate. Refer to Wiring Repairs or Connector Repairs in Wiring Systems. Is the repair complete? | -- | Go to Step 20 | -- | ||||||
11 | Repair the poor connection or open in circuit 1892 between the PSD detent switch and the door mounted RH door lock switch plate. Refer to Wiring Repairs or Connector Repairs in Wiring Systems. Is the repair complete? | -- | Go to Step 20 | -- | ||||||
12 | Replace the PSD detent switch Refer to Power Sliding Door Rear Latch Detent Switch Replacement . Is the repair complete? | -- | Go to Step 20 | -- | ||||||
13 | Repair the short to ground in circuit 1892 between the PSD detent switch and the door mounted RH door lock switch plate. Refer to Wiring Repairs or Connector Repairs in Wiring Systems. Is the repair complete? | -- | Go to Step 20 | -- | ||||||
14 | Repair the poor connection or open in circuit 750 between the PSD detent switch, RH door lock switch plate and ground, and the rear side door actuator control module. Refer to Wiring Repairs or Connector Repairs in Wiring Systems. Is the repair complete? | -- | Go to Step 20 | -- | ||||||
15 | Repair the short to ground in circuit 1892 between the PSD detent switch and the rear side door actuator control module. Refer to Wiring Repairs or Connector Repairs in Wiring Systems. Is the repair complete? | -- | Go to Step 20 | -- | ||||||
16 | Repair the poor connection or open in circuit 1892 between the PSD detent switch and the rear side door actuator control module. Refer to Wiring Repairs or Connector Repairs in Wiring Systems. Is the repair complete? | -- | Go to Step 20 | -- | ||||||
Does DTC 13 reset? | -- | Go to Step 18 | Go to Step 19 | |||||||
18 | Replace the rear side door actuator control module. Refer to Rear Side Door Actuator Control Module Replacement . Is the repair complete? | -- | Go to Step 20 | -- | ||||||
19 | Malfunction is not present at this time. Contact the Technical Assistance Center for the latest technical information and troubleshooting hints. Is the action complete? | -- | Go to Step 20 | -- | ||||||
20 |
Does the PSD operate correctly? | -- | System OK |