GM Service Manual Online
For 1990-2009 cars only
Makes
🢒
Chevrolet
🢒
2001
🢒
Venture Ext.
🢒
Brakes
🢒
Hydraulic Brakes
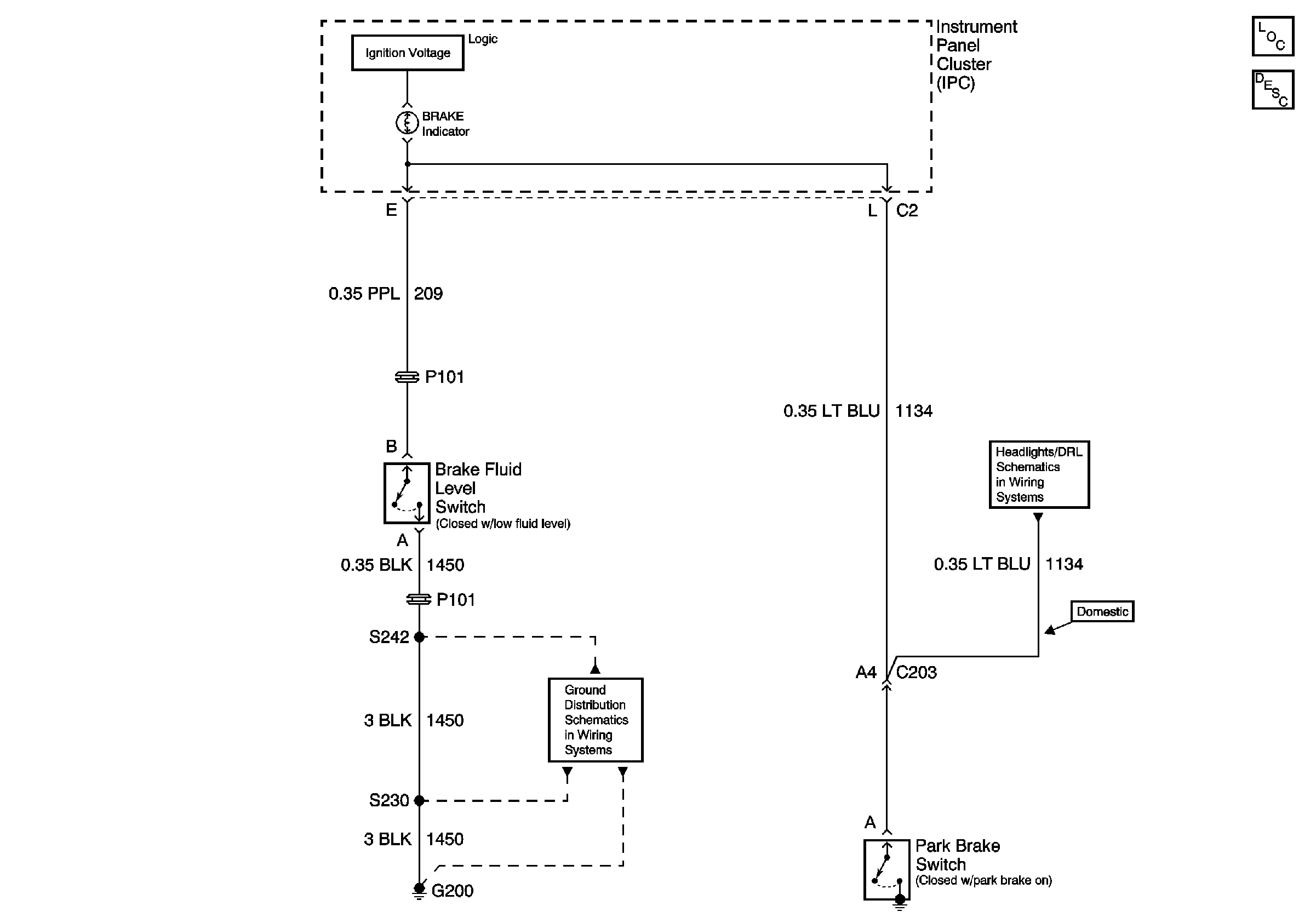
🢒 Brake Warning System Schematics
Hardwire Indicators
G200 (1 of 3)
Master Electrical Component List
Brake Warning System Description and Operation