GM Service Manual Online
For 1990-2009 cars only
Figure 1:

Power and Grounds


Object Number: 701948  Size: FS
Steering Wheel Controls
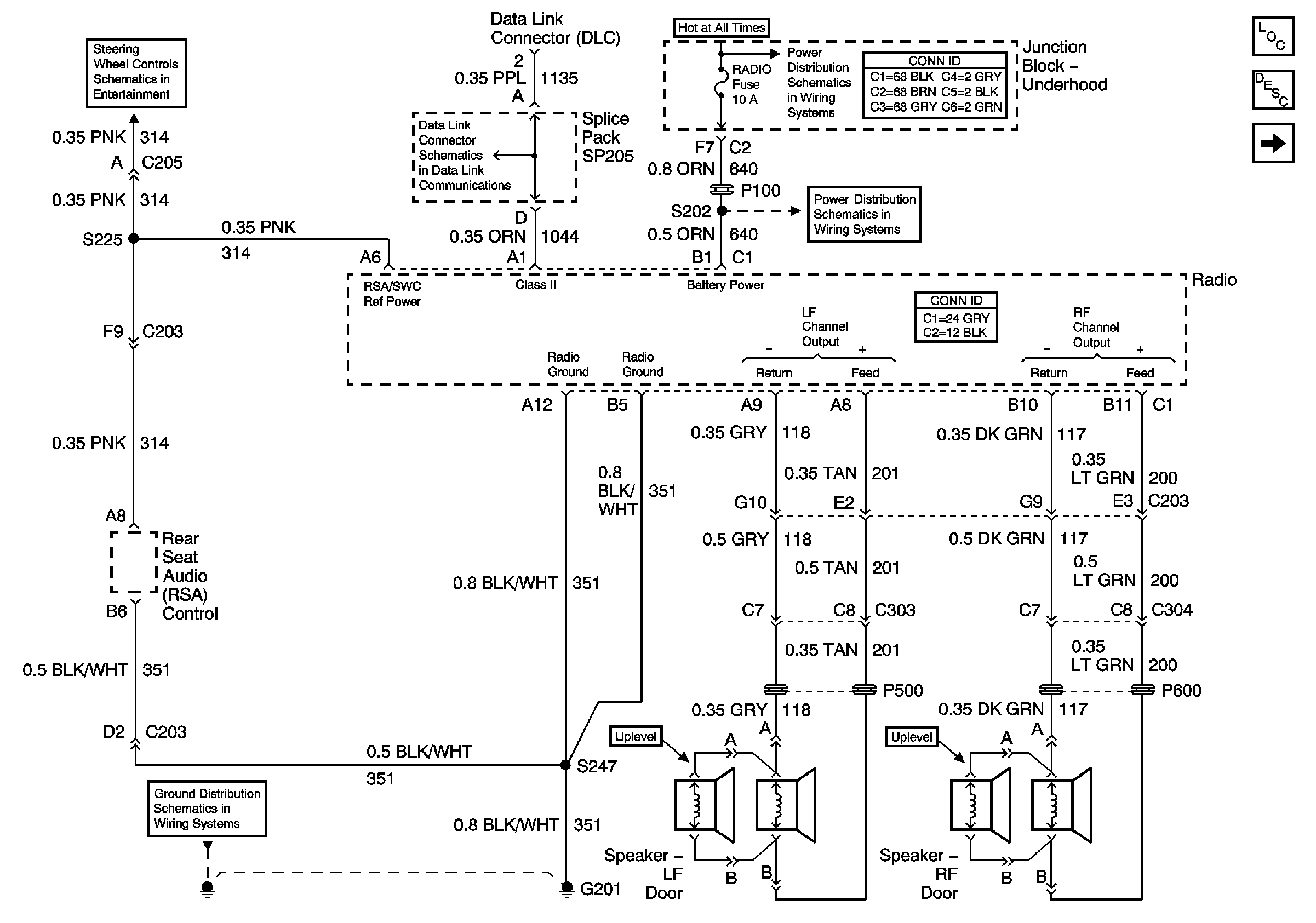
Data Link Connector (DLC)
EBCM, BATT MAIN 1, RADIO and PARK LP Fuses
EBCM, BATT MAIN 1, RADIO and PARK LP Fuses
G200 and G201
Master Electrical Component List
Radio/Audio System Description and Operation d
Windshield Antenna
Figure 2:

Windsheild Antenna


Object Number: 701974  Size: FS
Headlamp and IP Lamp Dimmer Switch
EBCM, BATT MAIN 1, RADIO and PARK LP Fuses
EBCM, BATT MAIN 1, RADIO and PARK LP Fuses
Right and Left Radio Liftgate Speaker (Base)
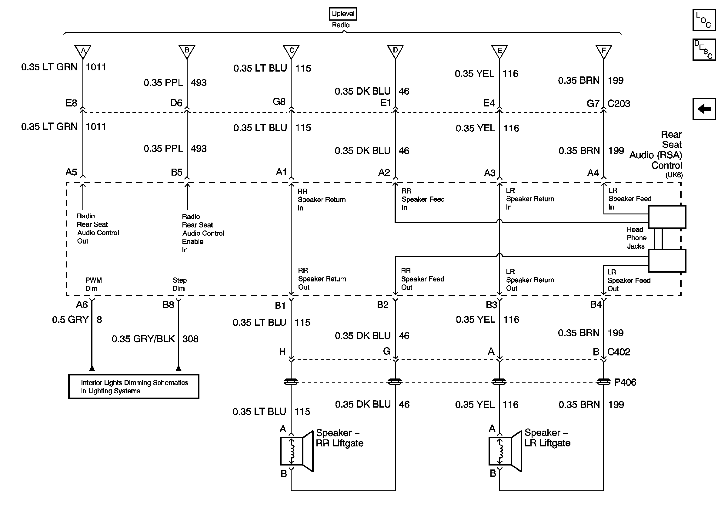
Right and Left Radio Liftgate Speaker (Uplevel)
SIR Caution
Master Electrical Component List
Radio/Audio System Description and Operation d
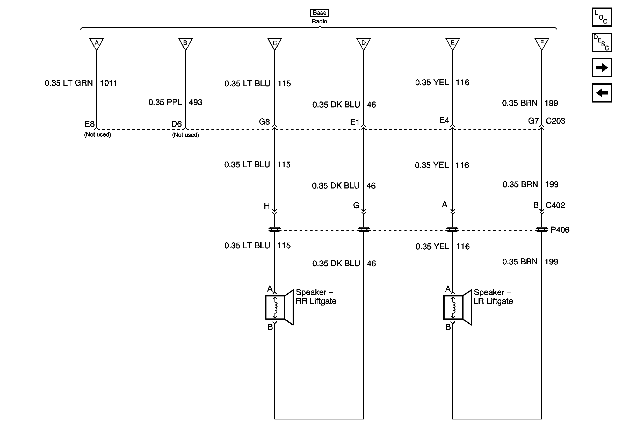
Right and Left Radio Liftgate Speaker (Base)
Power and Grounds
Figure 3:

Right and Left Radio Liftgate Speaker (Base)


Object Number: 701978  Size: FS
Windshield Antenna
Master Electrical Component List
Radio/Audio System Description and Operation d
Right and Left Radio Liftgate Speaker (Uplevel)
Windshield Antenna
Figure 4:

Right and Left Radio Liftgate Speaker (Uplevel)


Object Number: 701987  Size: FS
Windshield Antenna
Headlamp and IP Lamp Dimmer Switch
Master Electrical Component List
Radio/Audio System Description and Operation d
Right and Left Radio Liftgate Speaker (Base)