GM Service Manual Online
For 1990-2009 cars only
Makes
🢒
Chevrolet
🢒
2001
🢒
Venture Ext.
🢒
Body and Accessories
🢒
Instrument Panel, Gauges, and Console
🢒 Instrument Cluster Schematics
Figure
1:
Power, Ground, Class 2 Data Line and Gauges
BATT MAIN 1, CLUSTER BATT, RR PWR SCKT, PWR LOCK, RAP RELAY, CTSY LAMP, CTSY LAMP, ONSTAR, CIGAR DLC/APO FRT, and PWR MIRROR Fuses
IGN 1, SDM, T/SIG, CRUISE and PCM PASS KEY/CLUSTER Fuses
IGN 1, SDM, T/SIG, CRUISE and PCM PASS KEY/CLUSTER Fuses
IGN 1, SDM, T/SIG, CRUISE and PCM PASS KEY/CLUSTER Fuses
IGN MAIN 2, BCM PRGRM, RR WPR/WSHR, MALL/CLUSTER and FRT/WPR/WSHR Fuses
G200 (3 of 3)
Retained Accessory Power (RAP)
Interior Lights On Request and Horn Control
Data Link Connector (DLC)
Rear Object Sensor Control Module, Power and Ground
Master Electrical Component List
Instrument Cluster Description and Operation
Hardwire Indicators
Figure
2:
Hardwire Indicators
Hazard Lamp/Turn Signal Flasher and Turn Signal Switch
Headlamps
Hazard Lamp/Turn Signal Flasher and Turn Signal Switch
Heater-A/C Control Switches and Instrument Cluster
G200 (1 of 3)
Seat Belt
Brake Warning System
Brake Warning System
Power, Ground, MIL, DLC
Export Hazard Lamp/Turn Signal Flasher and Turn Signal Switch
Export Rear Fog Lights
Fog Lights
Master Electrical Component List
Instrument Cluster Description and Operation
Class 2 Telltales
Power, Ground, Class 2 Data Line and Gauges
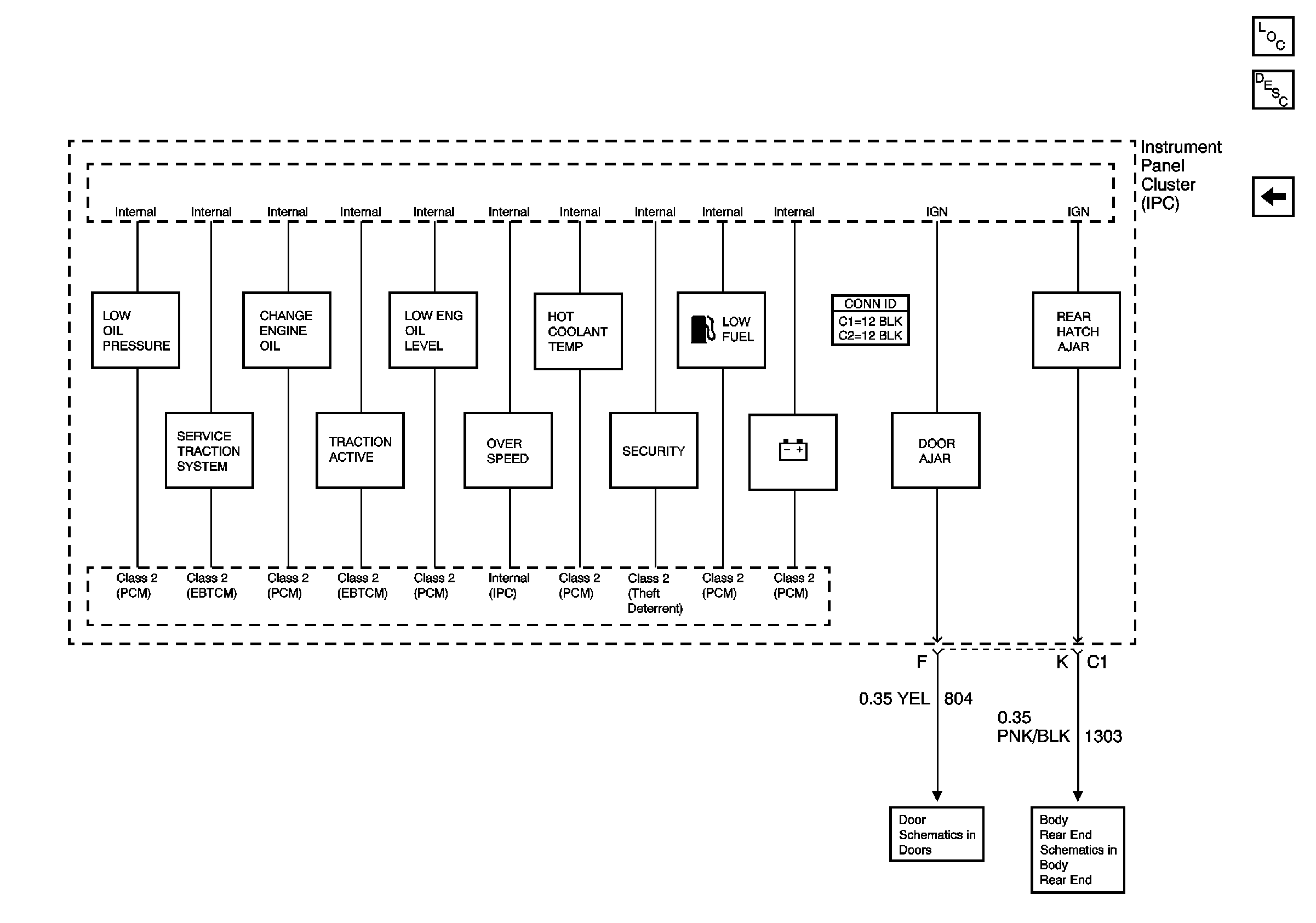
Figure
3:
Class 2 Telltales
IP DOOR AJAR Telltale
IP REAR HATCH AJAR Telltale
Master Electrical Component List
Instrument Cluster Description and Operation
Hardwire Indicators