GM Service Manual Online
For 1990-2009 cars only

SMU - Revised Fasten Requirements for Front and Rear Brake Caliper Bracket Replacement

Subject:Revised Fastener Requirements for Front and Rear Brake Caliper Bracket Replacement

Models:1997-2001 Buick Century, Regal
1997-2001 Buick Regal (Export China)
1997-2001 Chevrolet Trans Sport (Export China), Venture
2000-2001 Chevrolet Impala, Monte Carlo
1998-2001 Oldsmobile Intrigue
1997-1998 Pontiac Trans Sport
1997-2001 Pontiac Grand Prix
1999-2001 Pontiac Montana



This bulletin is being revised to update the model information. Please discard Corporate Bulletin Number 01-05-23-006 (Section 05 -- Brakes).


This bulletin is being issued to revise the fastener requirements for the front and rear brake caliper bracket replacement procedures in the Disc-Brake sub-section of Brakes in the appropriate Service Manual. Please use the following to replace the existing information in the Service Manual.

This information has been updated within SI2000. If you are using a paper version of this Service Manual, please mark a reference to this bulletin on the affected page in the Disc-Brake sub-section of the Service Manual.

Front Brake Caliper Bracket Replacement (All Above Listed Vehicles)

  1. Remove the caliper from the mounting bracket and support the caliper with heavy mechanics wire or equivalent. It is not necessary to disconnect the hydraulic brake flexible hose from the caliper.
  2. Remove the front brake pads.

  3. Object Number: 785075  Size: SH
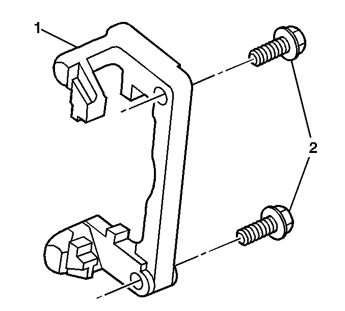
  4. Remove the caliper bracket bolts (2).
  5. Remove the caliper bracket (1).

  6. Object Number: 785075  Size: SH

    Important: To ensure that the proper clamp load will be present when installed, it is imperative that the threads on the caliper bracket bolts, as well as the mounting holes in the knuckle, be cleaned of all debris and inspected before proceeding with installation.

  7. Clean and visually inspect threads of the caliper bracket bolts (2) and mounting holes in the knuckle.
  8. Apply LOCTITE® THREAD LOCKER 272 (GM P/N 12345493) or equivalent to the threads of the brake caliper bracket bolts (2).
  9. Install the caliper bracket (1) with the bracket bolts (2).
  10. Tighten
    Tighten the caliper bracket bolts to 180 N·m (133 lb ft).

  11. Install the front brake pads.
  12. Install the caliper.

Rear Brake Caliper Bracket Replacement (See Vehicles Listed Below)

    • 1999-2001 Buick Century, Regal
    • 1999-2001 Buick Regal (Export China)
    • 2000-2001 Chevrolet Impala, Monte Carlo
    • 2000-2001 Chevrolet Trans Sport (Export China)
    • 1998-2001 Oldsmobile Intrigue
    • 1997-2001 Pontiac Grand Prix
  1. Remove the caliper from the mounting bracket and support the caliper with heavy mechanics wire or equivalent. It is not necessary to disconnect the hydraulic brake flexible hose from the caliper.
  2. Remove the rear brake pads.

  3. Object Number: 785076  Size: SH
  4. Remove the caliper bracket bolts (2).
  5. Remove the caliper bracket (1).

  6. Object Number: 785076  Size: SH

    Important: To ensure that the proper clamp load will be present when installed, it is imperative that the threads on the caliper bracket bolts, as well as the mounting holes in the knuckle, be cleaned of all debris and inspected before proceeding with installation.

  7. Clean and visually inspect threads of the caliper bracket bolts (2) and mounting holes in the knuckle.
  8. Apply LOCTITE® THREAD LOCKER 272 (GM P/N 12345493) or equivalent to the threads of the brake caliper bracket bolts (2).
  9. Install the caliper bracket (1) with the bracket bolts (2).
  10. Tighten
    Tighten the caliper bracket bolts to 115 N·m (85 lb ft).

  11. Install the rear brake pads.
  12. Install the caliper.