GM Service Manual Online
For 1990-2009 cars only
Makes
🢒
Chevrolet
🢒
2001
🢒
Venture Ext.
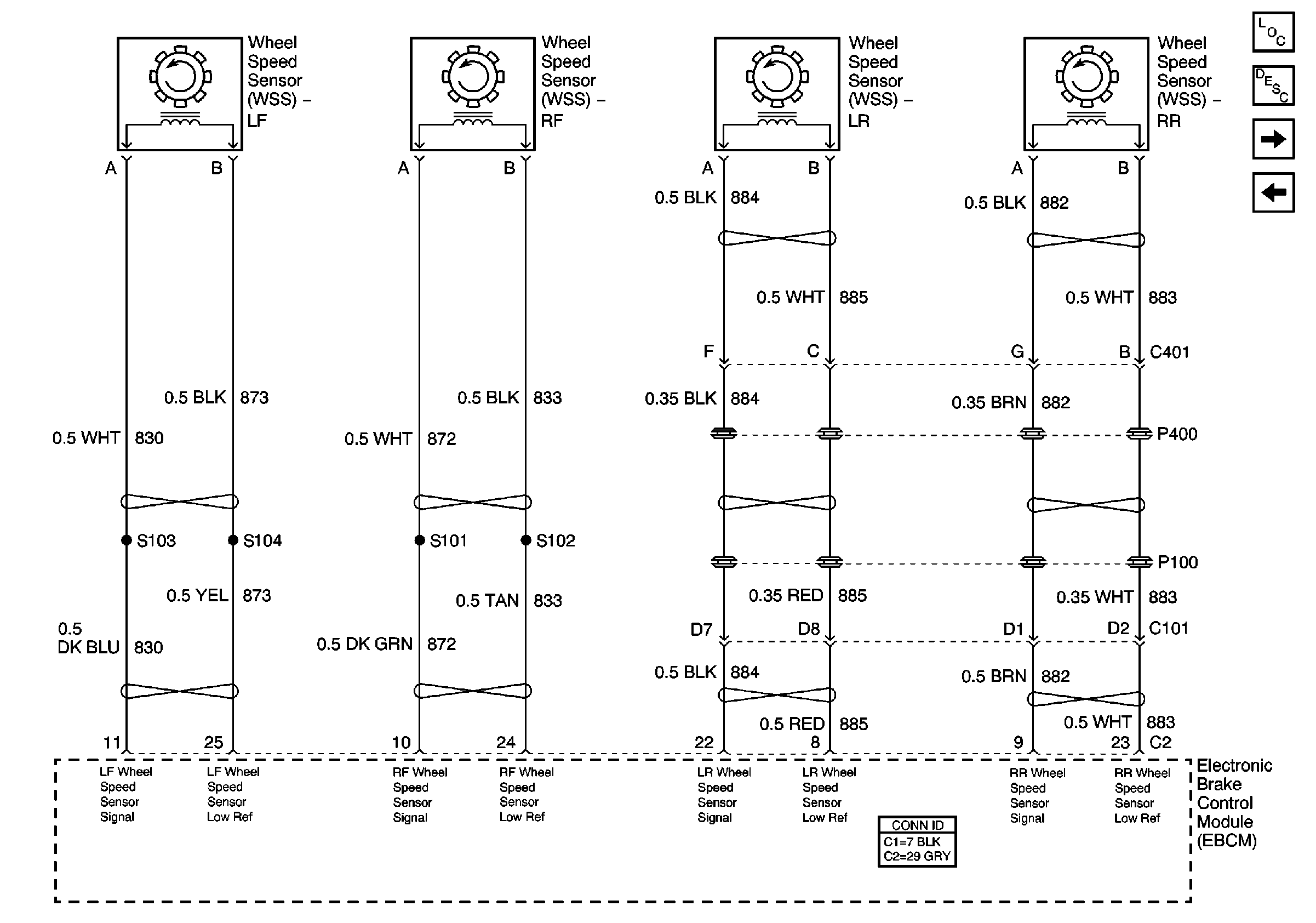
🢒 Wheel Speed Sensors
Wheel Speed Sensors
Wheel Speed Sensors
Master Electrical Component List
Vehicle Stability Enhancement System (JL4)
Power, Ground, BPMV Valves, and the Stoplamp Switch Controls