GM Service Manual Online
For 1990-2009 cars only
Figure 1:

Module Power, Ground, Serial Data, and MIL


Object Number: 893930  Size: FS
Master Electrical Component List
Powertrain Control Module Description
Engine Data Sensors - 5 Volt and Low Reference
OBD II Symbol Description Notice
RAP Relay, Fuse Block - Underhood, and Fuse Block - I/P Fuses
IGN Main 1, PCM/ABS, CAN VENT SOL, DRL and PCM/CRANK Fuses
IGN Main 1, SDM, T/SIG, CRUISE and PCM PASS KEY/CLUSTER Fuses
IGN Main 1, SDM, T/SIG, CRUISE and PCM PASS KEY/CLUSTER Fuses
IGN Main 1, SDM, T/SIG, CRUISE and PCM PASS KEY/CLUSTER Fuses
IGN Main 1, PCM/ABS, CAN VENT SOL, DRL and PCM/CRANK Fuses
IGN Main 1, SDM, T/SIG, CRUISE and PCM PASS KEY/CLUSTER Fuses
Power, Ground, Class 2 Data Line and Gages
IGN Main 1, PCM/ABS, CAN VENT SOL, DRL and PCM/CRANK Fuses
G101, G111, and G113
Data Link Connector (DLC) Schematics
Figure 2:

Engine Data Sensors - 5-Volt and Low Reference


Object Number: 893958  Size: FS
Master Electrical Component List
Powertrain Control Module Description
Engine Data Sensors - Pressure and Temperature
Module Power, Ground, Serial Data, and MIL
OBD II Symbol Description Notice
Figure 3:

Engine Data Sensors - Pressure and Temperature


Object Number: 893960  Size: FS
Master Electrical Component List
Powertrain Control Module Description
Engine Data Sensors - MAF and VSS
Engine Data Sensors - 5 Volt and Low Reference
OBD II Symbol Description Notice
Figure 4:

Engine Data Sensors - MAF and VSS


Object Number: 893965  Size: FS
Master Electrical Component List
Powertrain Control Module Description
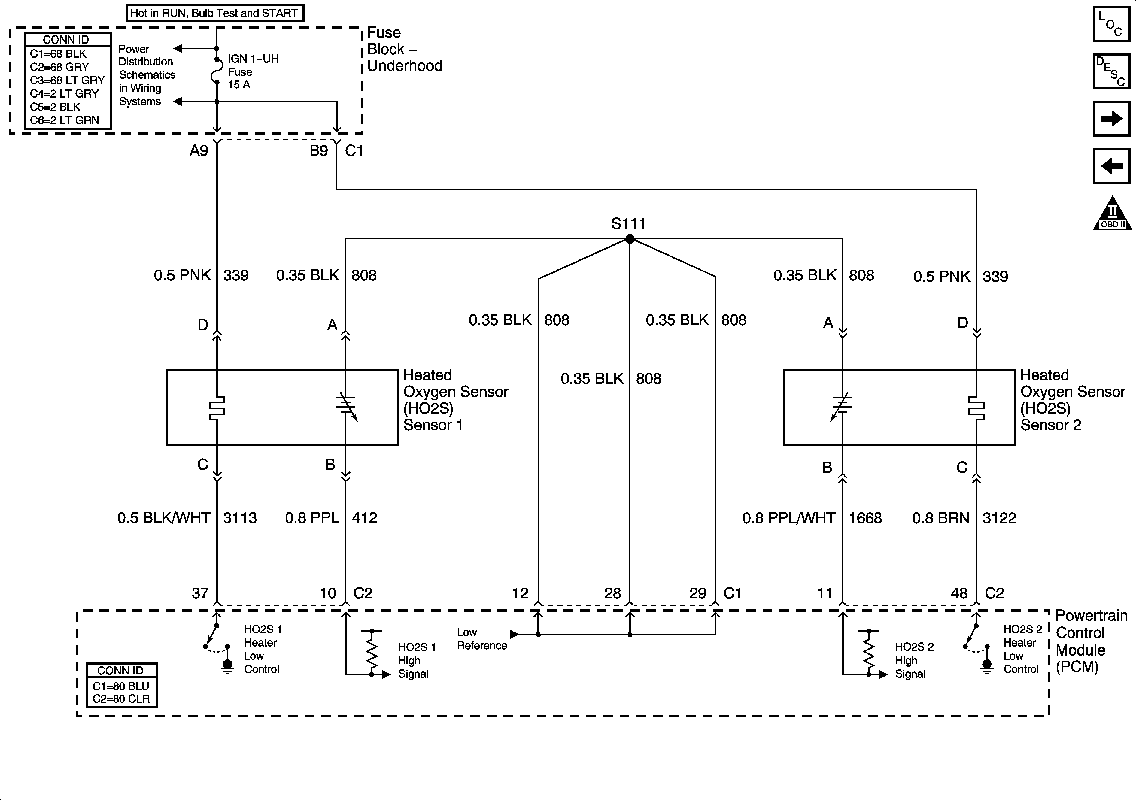
Engine Data Sensors - HO2S
Engine Data Sensors - Pressure and Temperature
OBD II Symbol Description Notice
Fuse Block - Underhood IGN 1 - U/H Fuse
G101, G111, and G113
PCM Power, Ground, VSS and Park/Neutral Position (PNP) Switch
Figure 5:

Engine Data Sensors - HO2S


Object Number: 1829888  Size: FS
Master Electrical Component List
Powertrain Control Module Description
Ignition Controls - Ignition System and Sensors
Engine Data Sensors - MAF and VSS
OBD II Symbol Description Notice
Fuse Block - Underhood IGN 1 - U/H Fuse
G114 and G117
Figure 6:

Ignition Controls - Ignition System and Sensors


Object Number: 893970  Size: FS
Master Electrical Component List
Powertrain Control Module Description
Fuel Controls - Fuel Pump Controls
Engine Data Sensors - HO2S
Engine Controls Schematic Icons
Fuse Block - Underhood, TCC and ELEK IGN Fuses
Engine Controls Schematic Icons
Figure 7:

Fuel Controls - Fuel Pump Controls


Object Number: 893982  Size: FS
Master Electrical Component List
Powertrain Control Module Description
Fuel Controls - EVAP Controls
Ignition Controls - Ignition System and Sensors
OBD II Symbol Description Notice
Fuse Block - Underhood and Fusable Links
G101, G111, and G113
Sensors and Switches
G210 and G301
G101, G111, and G113
Figure 8:

Fuel Controls - EVAP Controls


Object Number: 893987  Size: FS
Master Electrical Component List
Powertrain Control Module Description
Fuel Control - Fuel Injectors
Fuel Controls - Fuel Pump Controls
OBD II Symbol Description Notice
Fuse Block - Underhood IGN 1 - U/H Fuse
Engine Data Sensors - 5 Volt and Low Reference
IGN Main 1, PCM/ABS, CAN VENT SOL, DRL and PCM/CRANK Fuses
IGN Main 1, PCM/ABS, CAN VENT SOL, DRL and PCM/CRANK Fuses
Engine Data Sensors - 5 Volt and Low Reference
Figure 9:

Fuel Control - Fuel Injectors


Object Number: 893988  Size: FS
Master Electrical Component List
Powertrain Control Module Description
Device Controls
Fuel Controls - EVAP Controls
OBD II Symbol Description Notice
Fuse Block - Underhood, INJ Fuse
Figure 10:

Device Controls


Object Number: 893993  Size: FS
Master Electrical Component List
Powertrain Control Module Description
Controlled/Monitored Subsystem References
Fuel Control - Fuel Injectors
OBD II Symbol Description Notice
RAP Relay, Fuse Block - Underhood, and Fuse Block - I/P Fuses
Fuse Block - Underhood IGN 1 - U/H Fuse
Fuse Block - Underhood IGN 1 - U/H Fuse
Figure 11:

Controlled/Monitored Subsystem References


Object Number: 893996  Size: FS
Master Electrical Component List
Powertrain Control Module Description
Transmission Controls
Device Controls
OBD II Symbol Description Notice
HVAC Compressor Control
Cooling Fans
Engine Electrical Schematics - Charging
HVAC Compressor Control
Rear Axle Controls
Cruise Control
Sensors and Switches
Data Link, MIL, PCM and Stop Lamp Switch
Figure 12:

Transmission Controls


Object Number: 894001  Size: FS
Master Electrical Component List
Powertrain Control Module Description
Controlled/Monitored Subsystem References
OBD II Symbol Description Notice
Automatic Transmission TCC Switch
Automatic Transmission TCC Switch
Automatic Transmission
Automatic Transmission
PCM Power, Ground, VSS and Park/Neutral Position (PNP) Switch