GM Service Manual Online
For 1990-2009 cars only
Makes
🢒
Chevrolet
🢒
2005
🢒
Venture - 4WD
🢒
Vehicle Control Systems
🢒
Vehicle DTC Information
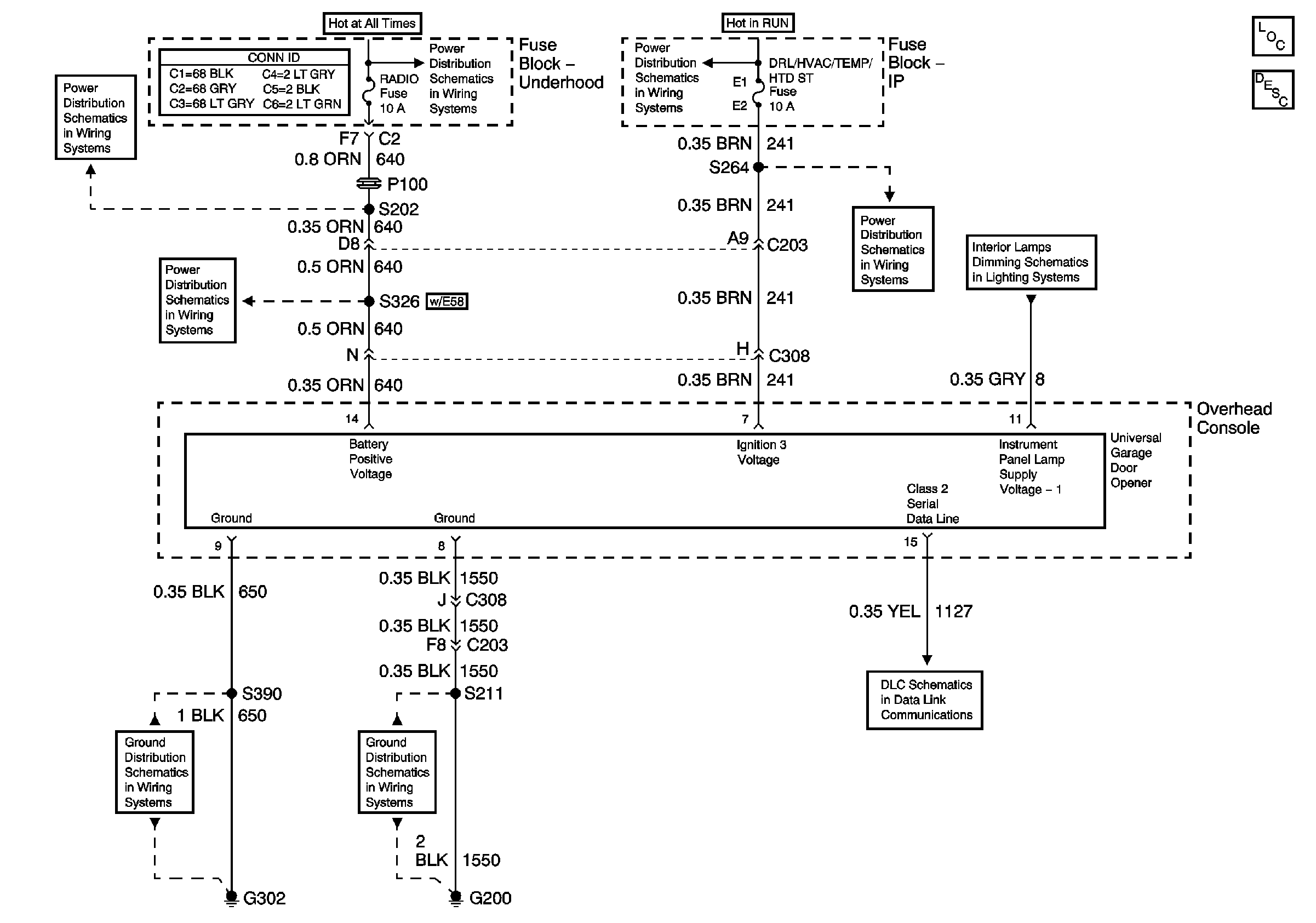
🢒 Garage Door Opener Schematics
Master Electrical Component List
Garage Door Opener Description and Operation
EBCM, BATT Main 1, RADIO and PARK LP Fuses
EBCM, BATT Main 1, RADIO and PARK LP Fuses
DRL/HVAC/TEMP/HTD ST, HVAC BLOWER and RR HVAC/TEMP CONT Fuses
EBCM, BATT Main 1, RADIO and PARK LP Fuses
DRL/HVAC/TEMP/HTD ST, HVAC BLOWER and RR HVAC/TEMP CONT Fuses
Interior Lamp and Multifunction Switch, Driver Information Center (DIC) and Rel
G302, Page 1 of 3
G200, Page 3 of 3
Data Link Connector (DLC) Schematics