GM Service Manual Online
For 1990-2009 cars only
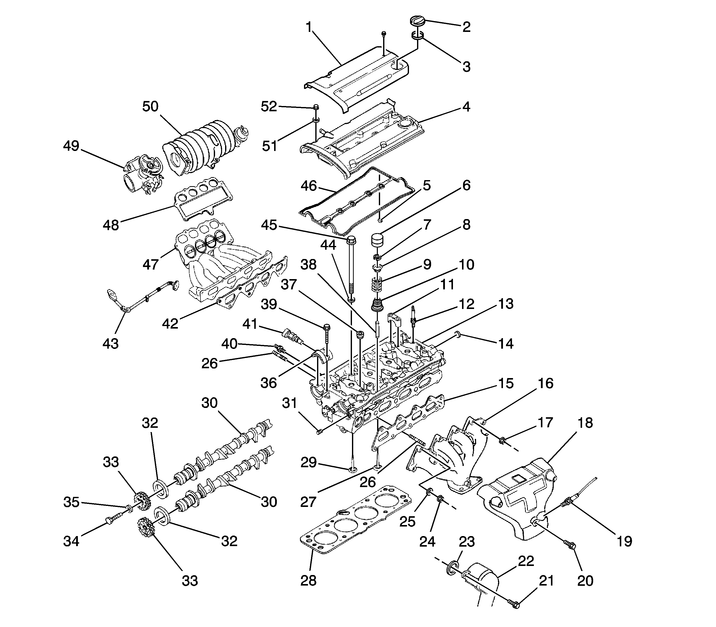
Figure 1:

Upper End


Object Number: 1262701  Size: LF
(1)Spark Plug Cover
(2)Oil Filler Cap
(3)Oil Filler Cap Seal
(4)Camshaft Cover
(5)Seal
(6)Hydraulic Tappet Adjuster
(7)Valve Key
(8)Valve Spring Cap
(9)Valve Spring
(10)Valve Stem Seal
(11)Intermediate Camshaft Cap
(12)Camshaft Cover Stud
(13)Cylinder Head
(14)Freeze Plug
(15)Exhaust Manifold Gasket
(16)Exhaust Manifold
(17)Nut
(18)Exhaust Manifold Heat Shield
(19)Oxygen Sensor
(20)Bolt
(21)Bolt
(22)Thermostat Housing
(23)Thermostat Adapter Seal
(24)Nut
(25)Washer
(26)Stud
(27)Exhaust Valve
(28)Cylinder Head Gasket
(29)Intake Valve
(30)Camshaft
(31)Plug
(32)Camshaft Seal
(33)Camshaft Gear
(34)Camshaft Gear Bolt
(35)Washer
(36)Front Camshaft Cap
(37)Plug
(38)Valve Guide
(39)Bolt
(40)Engine Coolant Temperature Sensor
(41)Coolant Temperature Sensor
(42)Intake Manifold Gasket
(43)Exhaust Gas Recirculation Pipe
(44)Washer
(45)Head Bolt
(46)Camshaft Cover Gasket
(47)Intake Manifold
(48)VGIS Manifold Gasket
(49)Throttle Body
(50)Intake VGIS Manifold
(51)Camshaft Cover Washer
(52)Camshaft Cover Nut
Figure 2:

Lower End


Object Number: 1262703  Size: LF
(1)Hose Clamp
(2)Engine Ventilation Hose
(3)Oil Separator Gasket
(4)Oil Level Gage Stick
(5)Engine Block
(6)Gage Stick Tube
(7)Piston Ring Set
(8)Connecting Piece
(9)Oil Filter
(10)Piston
(11)Connecting Rod
(12)Bolt - Manual Transaxle
(13)Flywheel - Manual Transaxle
(14)Bolt - Automatic Transaxle
(15)Flexible Plate - Automatic Transaxle
(16)Shaft Seal Ring
(17)Oil Pan
(18)Threaded Ring
(19)Oil Pan Drain Plug
(20)Bolt
(21)Bolt
(22)Crankshaft Main Bearing Cap
(23)Crankshaft
(24)Crankshaft Bearing Set
(25)Connecting Rod Bolt
(26)Connecting Rod Bearing Set
(27)Piston Pin
(28)Cover
(29)Oil Pump Seal Ring
(30)Bolt Plug
(31)Oil Suction Pipe
(32)Bolt
(33)Bolt
(34)Cover
(35)Crankshaft Pulley
(36)Washer
(37)Crankshaft Pulley Bolt
(38)Bolt
(39)Cover Seal
(40)Timing Belt
(41)Bracket
(42)Seal
(43)Spring
(44)Pressure Relief Valve Plunger
(45)Seal
(46)Oil Pressure Switch
(47)Rear Cover Bolt
(48)Crankshaft Gear
(49)Idler Pulley
(50)Bolt
(51)Auto Tensioner
(52)Rear Timing Belt Cover
(53)Bolt
(54)Water Pump
(55)Seal Ring
(56)Bolt
(57)Oil Pump
(58)Plug
(59)Ring Gear
(60)Gear
(61)Bolt
(62)Oil Pump Body Gasket
(63)Bracket
(64)Bolt
(65)Crankshaft Position Sensor
(66)Bolt
(67)Exhaust Gas Recirculation Solenoid
(68)Bolt
(69)Knock Sensor
(70)Intake Manifold-to-Engine Block Bracket
(71)Bolt
(72)Engine Ventilation Pipe