GM Service Manual Online
For 1990-2009 cars only

POWER BOOSTER FUNCTIONAL CHECK

  1. With the engine stopped, eliminate vacuum in the booster by pumping the brake pedal several times.
  2. Push the pedal down and hold in this position.
  3. Start the engine.
  4. The booster is OK if the pedal drops further because of extra force produced.

If the brake pedal does not drop, the vacuum system (vacuum hoses, check valve, etc.) is probably defective and should be checked.

If no defect is revealed by checking the vacuum system, the defect is in the booster itself.

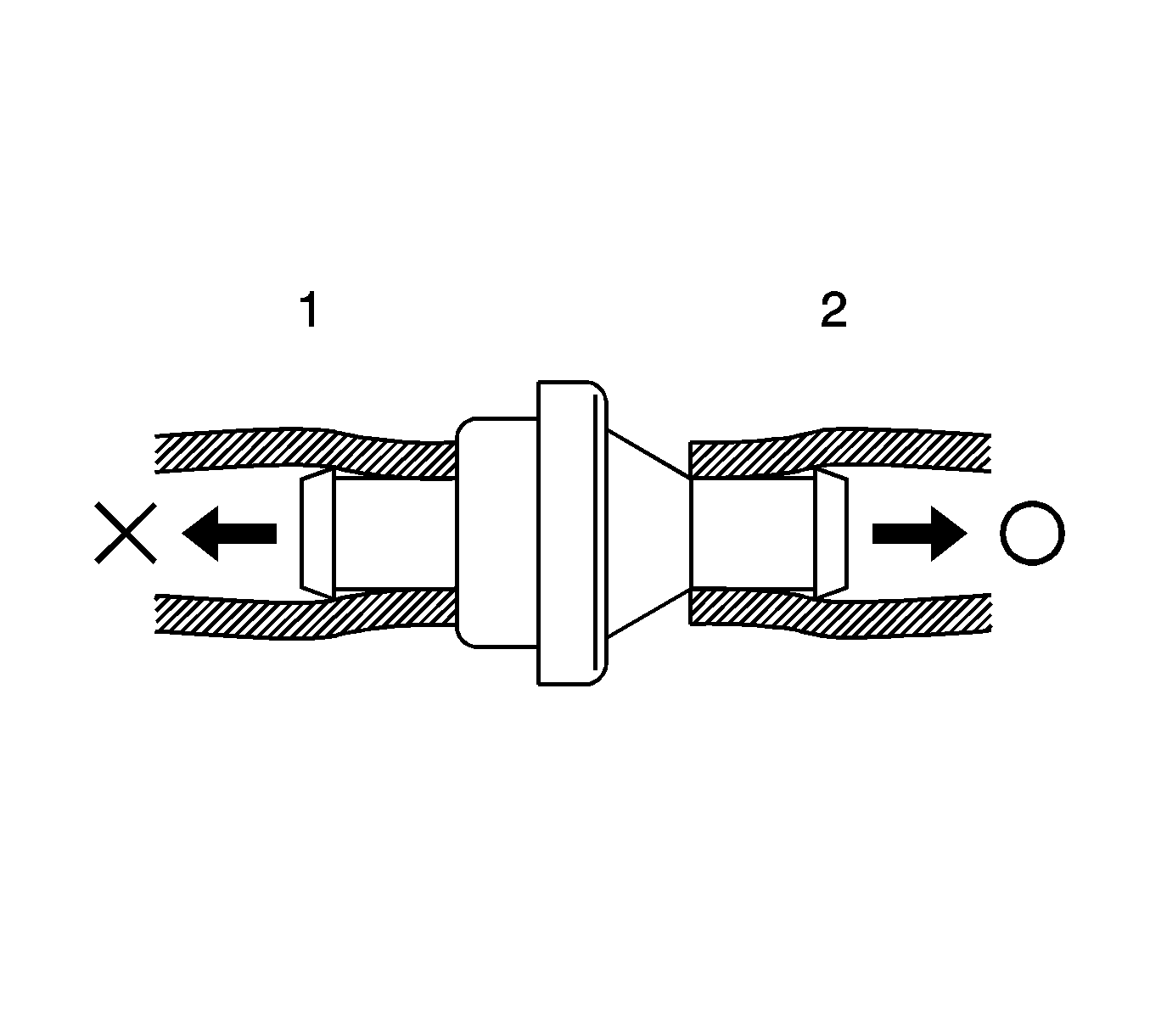
CHECK VALVE FUNCTIONAL CHECK


    Object Number: 1265689  Size: SH
  1. Remove the vacuum hose.
  2. Suck the vacuum hose to power booster (1). And also, suck the vacuum hose to engine (2).
  3. If the air pass through the check valve or not, replace the check valve. And if the vacuum hose to engine is only sucked, the check valve OK.