GM Service Manual Online
For 1990-2009 cars only

Tools Required

    •  J 36633 Snap Ring Retainer
    •  KM-334 Installer Sleeve
    •  KM-552 Fixture
    •  KM-554 Installer
    •  J 3289-20 (KM-113-2) Holding Fixture

    Object Number: 1251688  Size: SH
  1. Join the mainshaft and the input shaft.
  2. Compress the snap ring at the base of the mainshaft and hold with the J 36633  (1).
  3. Hold the snap ring at the base of the input driveshaft with the snap ring pliers (2).
  4. Install the mainshaft/input shaft assembly onto the bearing plate.
  5. Release the mainshaft snap ring and the input shaft snap ring.

  6. Object Number: 1251685  Size: SH
  7. Position the 1st-2nd gearshift fork.
  8. Install the 5th gearshift lever into the bearing plate.

  9. Object Number: 1251684  Size: SH
  10. Install the 3rd-4th gearshift rod/fork holding pin.

  11. Object Number: 1251683  Size: SH
  12. Install the support bracket onto the bearing plate.

  13. Object Number: 1251682  Size: SH
  14. Install the 1st-2nd gearshift rod/fork onto the bearing plate.

  15. Object Number: 1251681  Size: SH
  16. Install the 1st-2nd gearshift fork holding pin.
  17. Notice: Refer to Fastener Notice in the Preface section.


    Object Number: 1251678  Size: SH
  18. Using the KM-552 install the support bracket bolts.
  19. Tighten
    Tighten the support bracket bolts to 7 N·m (62 lb in).


    Object Number: 1251675  Size: SH
  20. Install the reverse gearshift rod/fork onto the bearing plate.

  21. Object Number: 1251674  Size: SH
  22. Install the reverse gearshift rod/fork holding pin.

  23. Object Number: 1251672  Size: SH
  24. Install the rod lock pin and spring into the small plug hole.

  25. Object Number: 1251778  Size: SH
  26. Install the 4th gearshift rod plugs.

  27. Object Number: 1251670  Size: SH
  28. Install the bolts and the 5th gearshift connector onto the bearing plate, using the pawl.
  29. Tighten
    Tighten the 5th gearshift connector bolts to 7 N·m (62 lb in).


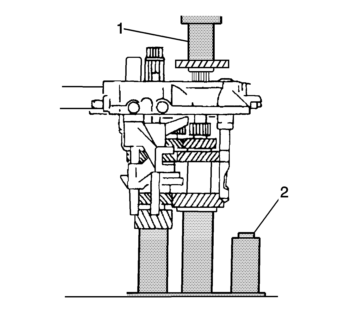
    Object Number: 1251780  Size: SH
  30. Install the input drive 5th gear using the KM-554  (2) and the KM-334  (1).

  31. Object Number: 1251668  Size: SH
  32. Install the snap rings securing the 5th drive gear.

  33. Object Number: 1251666  Size: SH
  34. Install the thrust washers, the retaining ring, and the needle bearing into the mainshaft-driven 5th gear assembly.

  35. Object Number: 1251665  Size: SH
  36. Install the brass synchronizer ring onto the mainshaft driven 5th gear assembly.

  37. Object Number: 1251782  Size: SH
  38. Install the mainshaft-driven 5th gear assembly.
  39. Install the 5th drive gear synchronizer gear and the synchronizer sleeve using KM-554  (1).

  40. Object Number: 1248226  Size: SH
  41. Install the snap ring holding the 5th speed-driven assembly.

  42. Object Number: 1248225  Size: SH
  43. Install the bolts and the 5th gear fork onto the bearing plate.
  44. Tighten
    Tighten the 5th gear fork bolts to 22 N·m (16 lb ft).


    Object Number: 1248221  Size: SH
  45. Remove the bearing plate from the KM-552 .
  46. Shift the transaxle into 2nd gear.
  47. Install the bearing plate, with the shafts attached, into the case.

  48. Object Number: 1248220  Size: SH
  49. Install the bearing plate bolts.
  50. Tighten
    Tighten the bearing plate bolts to 22 N·m (16 lb ft).


    Object Number: 1248215  Size: SH
  51. Install the speedometer-driven gear and the speedometer-housing retaining bolt into the transaxle housing.
  52. Tighten
    Tighten the speedometer housing retaining bolt to 4 N·m (35 lb in).


    Object Number: 1248213  Size: SH
  53. Bolt the gearshift lever cover to the KM-552  (2).
  54. Position the KM-552  (2) into the J 3289-20  (KM-113-2) (3).
  55. Install the gearshift rod, the shift finger lever, and the gearshift lever pin.

  56. Object Number: 1248211  Size: SH
  57. Install the snap ring, the bushing, the spring, and the intermediate lever.
  58. Remove the gearshift lever cover from the J 3289-20  (KM-113-2) and the KM-552 .
  59. Shift the transaxle into NEUTRAL.

  60. Object Number: 1248207  Size: SH
  61. Install the gearshift lever cover and the gearshift lever cover bolts.
  62. Tighten
    Tighten the gearshift lever cover bolts to 22 N·m (16 lb ft).


    Object Number: 1248217  Size: SH
  63. Install the transaxle cover and the transaxle cover bolts.
  64. Tighten

        • Tighten the bigger transaxle cover bolts to 20 N·m (15 lb ft).
        • Tighten the smaller transaxle cover bolts to 15 N·m (11 lb ft).
  65. Install the transaxle into the vehicle. Refer to Transmission Replacement .