|
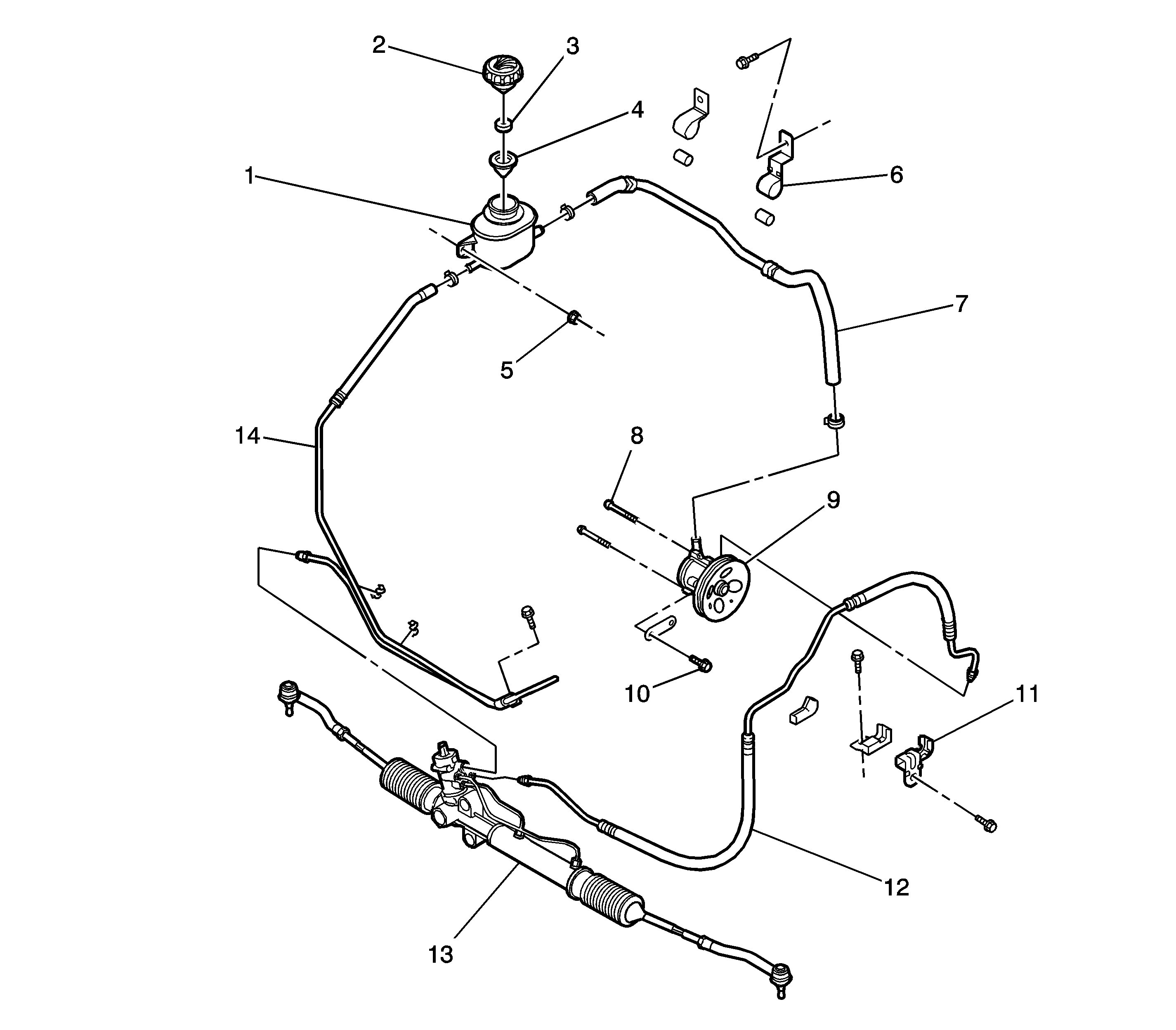
| (1) | Power Steering
Oil Reservoir |
| (2) | Power Steering
Oil Reservoir Cap |
| (3) | Power Steering
Oil Reservoir Sponge |
| (4) | Power Steering
Oil Reservoir Shield |
| (5) | Power Steering
Oil Reservoir Nut |
| (6) | Clamp |
| (7) | Supply Line
Hose |
| (8) | Power Steering
Pump Bolt |
| (9) | Power Steering
Pump |
| (10) | Power Steering
Pump Bracket Bolt |
| (11) | Clamp |
| (12) | Pump Pressure
Pipe |
| (13) | Power Steering
Gear |
| (14) | Return Line |