GM Service Manual Online
For 1990-2009 cars only

Torque Converter

The converter consists of the impeller, the turbine wheel, the reaction member stator and the oil to transmit torque. The impeller, which is driven by the engine, causes the oil in the converter to flow in a circular pattern. This oil flow meets the turbine wheel, where is direction of flow is deflected. At the hub, the oil leaves the turbine and reaches the reaction member (stator), where it is once again deflected so that it reaches the impeller at the correct angle of flow.

The reversal effect generates movement in the stator. The reaction torque then amplifies the turbine torque

The ratio between turbine torque and torque is referred to as torque multiplication.

The greater the difference is speed between the pump and turbine, the greater the torque multiplication. It is at its highest when the turbine is at a standstill. The higher the speed of the turbine, the lower the torque multiplication.

When the turbine speed reaches about 85 percent of the pump speed, torque multiplication equals 1, i.e. the turbine torque equivalent to pump torque.


Object Number: 1265753  Size: SH

The stator, which bears against the housing via the freewheel, is then rotating freely in the oil flow and the freewheel is over-come. From this point onwards, the converter acts as a straightforward fluid coupling.

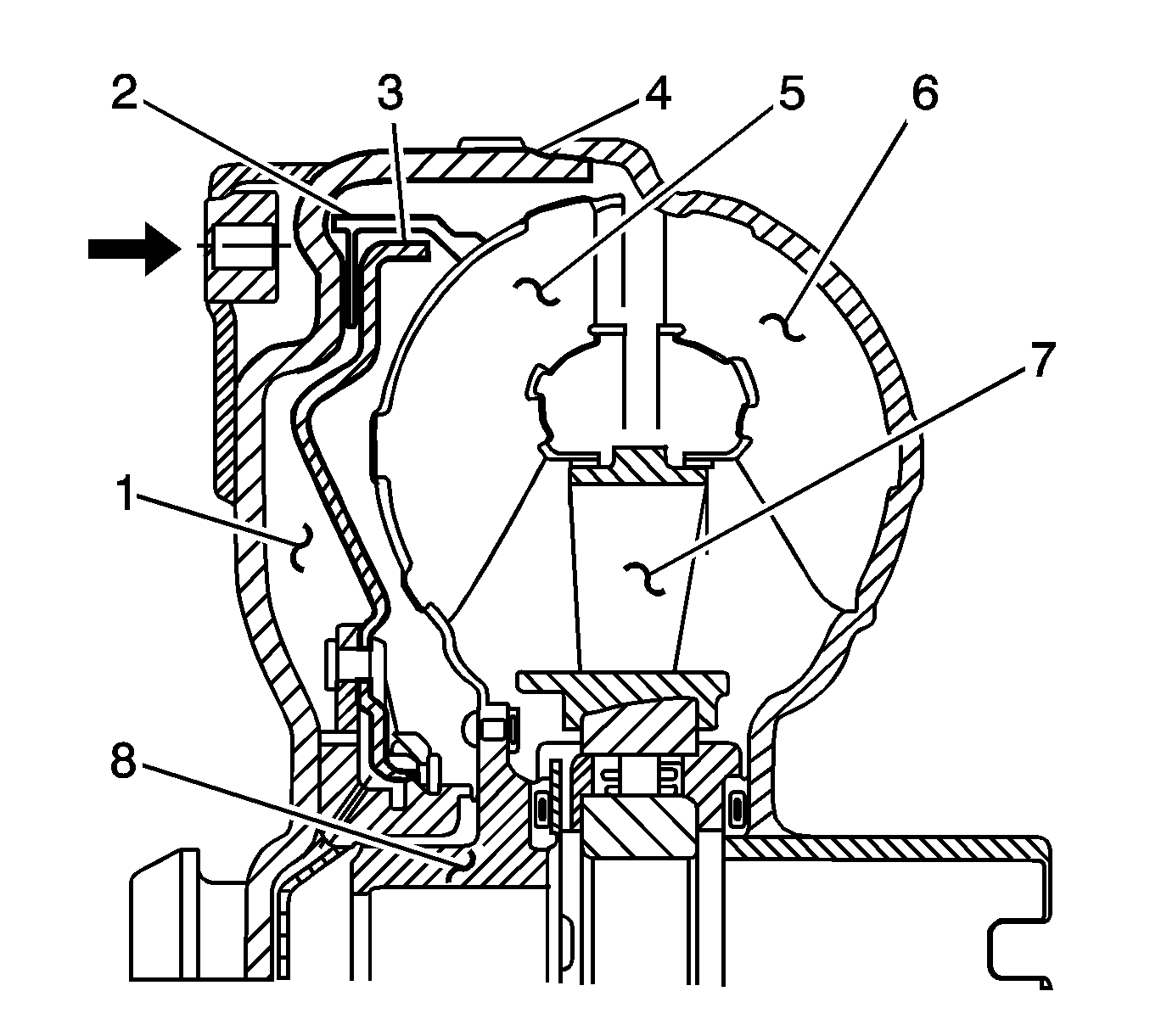
Space Behind Lock-up Clutch Piston

  1. Friction Lining
  2. Lock-up Clutch Piston
  3. Converter Cover
  4. Turbine Wheel
  5. Impeller
  6. Stator
  7. Turbine Hub
  8. Torque Converter Impeller Hub

Torque Converter Lock-up Clutch (TCC)

The converter lock-up clutch is a device, which eliminates converter slip and thus helps to improve fuel consumption.

The previous control principle for converter lock-up clutch operation has been replaced by a controlling function on the 4 HP 16. The converter lock-up clutch is engaged and released in a controlled manner. During the controlled phase, a slight speed difference between the impeller and turbine wheel is established. This ensures that the engine's rotating vibration is not phased on to the transaxle. The result is optimum shift quality.

An electronic pressure-regulating valve determines pressure regulation of the lock-up converter clutch's piston.

When open conversion range, the oil pressure behind the converter lock-up clutch piston and in the turbine zone is equal. The direction of flow is through the turbine shaft and through the space behind the piston, to the turbine chamber.


Object Number: 1256078  Size: SH

To engage the lock-up clutch, the direction of flow is modified reversed via a valve in the hydraulic selector unit. At the same time, the space behind the lock-up clutch piston is vented. The oil pressure passes from the turbine chamber to the lock-up clutch piston and presses it against the converter's cover. The turbine is thus blocked by way of the linings between the piston and cover, and permits rigid through drive with no slip or reduced slip if controlled to the mechanical stage of the transaxle.

Fluid Pump


Object Number: 1256079  Size: SH

The fluid pump is located between the torque converter and the transaxle case and is driven directly by the torque converter. The pump sucks the fluid through a filter and delivers it to the main pressure regulator valve of the control system. Excess fluid flows back to the pump. The fluid pump fulfills the following functions:

    • Generates line pressure
    • Delivers fluid under pressure to the torque converter, thus preventing air bubbles in the fluid
    • Induces a flow of fluid through the torque converter in order to eliminate heat
    • Supplies fluid pressure to the hydraulic control system
    • Supplies fluid pressure to the shift components
    • Lubricates the transaxle with fluid

Pump Housing


Object Number: 1256080  Size: SH
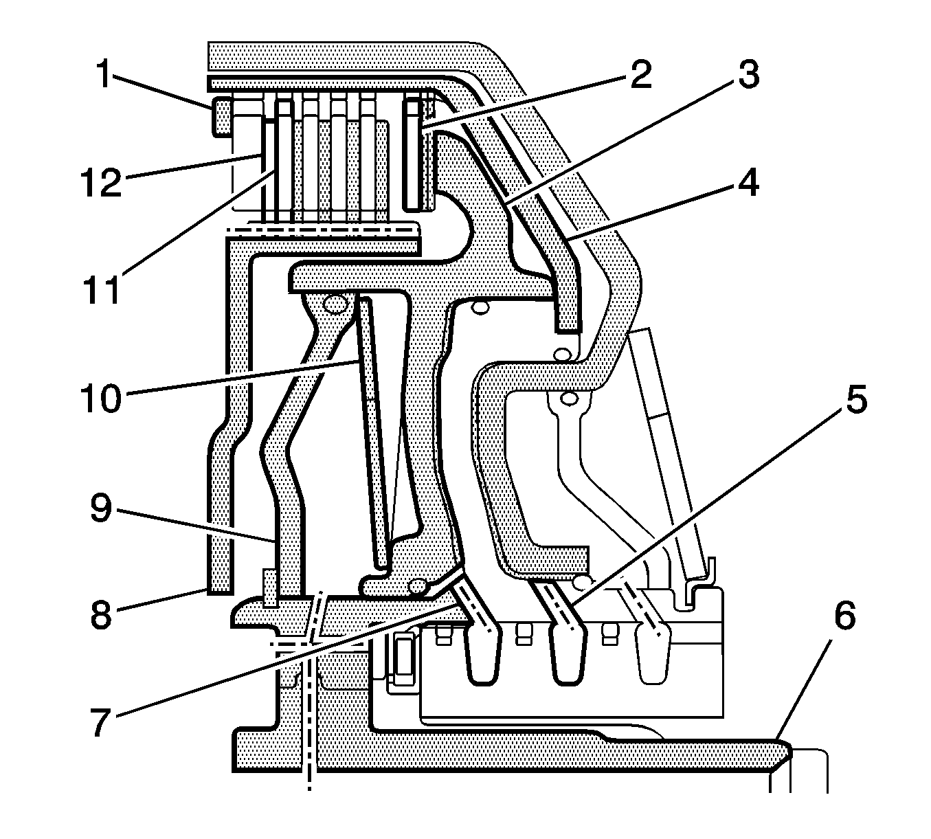
  1. Disc
  2. Shaft Seal
  3. Stator Shaft
  4. Pump Wheel
  5. Pump Ring Gear
  6. Dowel Pin

Planetary Gears


Object Number: 1265758  Size: SH

The ZF 4HP 16 automatic transaxle is equipped with a one sun gear, 4 planetary gears, a planetary carrier, and a ring gear.

Each gear is located one directly behind the other and are linked together. In other words, the front ring gear is permanently linked to rear planet carrier, the front planet carrier is linked to rear ring gear.

The individual gear ratios are obtained by linking together the gear set elements in different ways by means of clutches and brakes.

On the 4HP 16, the power flow is directed into the planetary gear set via the rear planet carrier or rear sun gear, or via both simultaneously, depending on the gear in question. The output is always via the front planet carrier.

Shift Elements: Multi-disc Clutches and Brakes


Object Number: 1265757  Size: SH
  1. Snap Ring
  2. Spring Disc
  3. Piston
  4. Cylinder
  5. Disc Carrier
  6. Input Shaft
  7. Oil Supply to Clutch
  8. Baffle Plate
  9. Oil Supply to Dynamic Pressure Equalizer
  10. Cup Spring
  11. Lined Disc
  12. Steel Disc

The shift elements are engaged hydraulically. The pressurized oil reaches the space between the cylinder and piston, as a result the discs are compressed. The clutch/brake is engaged when the oil pressure drops. The cup spring acting on the piston presses the piston back into its initial position. The clutch/brake is now released again.

Depending on the gear, the multi-disc clutches B and E supply the engine torque to the planetary gear train, with multi-disc brakes C, D, and F directing the torque into the housing.

The dynamic pressure at clutches B and E is equal, i.e. the dynamic pressure in front of and behind the piston is equal. This equalizing effect is achieved in the following way.

The space between the baffle plate and piston is filled with unpressurized oil. A dynamic pressure dependent on the engine speed builds up. The space between pressure also builds up. However, there is simultaneously a static pressure, which causes the clutch to engage. If the static pressure is relieved, the cup spring is able to force the piston back into its original position.

The advantages of this dynamic pressure equalization are:

    • Reliable clutch opening in all speed ranges
    • Smoother shifts

Parking Lock

The parking lock is actuated via the selector lever when in position P. It protects the vehicle mechanically against rolling away.

The stop plate is actuated by the selector shaft, which is permanently connected to the selector lever via a pull cable. The parking lock pawl on the parking lock gear is welded onto the lateral shaft of the transaxle and this prevents the drive wheels from turning.

This blocks the driven wheels.


Object Number: 1256057  Size: SH
  1. Pawl
  2. Leg Spring
  3. Supporting Bolt

Valve Body

Valve body performs the following tasks:

    • Generates the line pressure needed for actuating the shift elements
    • Actuates the individual shift elements via the clutch valves
    • Assures limited operation of the automatic transaxle in the event of the electronics failing
    • Actuating the lock-up clutch
    • Generating the lubricating pressure for the transaxle

Object Number: 1257119  Size: MF
(1)Lock-up Clutch Valve
(2)Lubrication Valve
(3)Manual Valve
(4)Line Pressure Control Valve
(5)Reduction Valve
(6)Clutch Valve D
(7)Holding Valve D
(8)Converter Shift Valve
(9)Solenoid Valve
(10)Pressure Control Solenoid Valve
(11)Holding Valve F
(12)Selector Valve
(13)Safety Valve
(14)Solenoid Valve
(15)Pressure Control Solenoid Valve
(16)Holding Valve C
(17)Clutch Valve C
(18)Clutch Valve B
(19)Holding Valve B
(20)Clutch Valve E
(21)Holding Valve E
(22)Clutch Valve F
(23)Converter Pressure Valve