GM Service Manual Online
For 1990-2009 cars only
Figure 1:

HVAC Control - Manual


Object Number: 1483264  Size: LF
(1)HVAC Control
(2)Defogger Switch
Figure 2:

A/C Refrigerant Pressure Lines


Object Number: 1262754  Size: LF
(1)High Pressure Pipe
(2)Suction Hose
(3)Evaporator
(4)A/C Compressor
(5)A/C Compressor Clutch Coil
(6)Rotor Pulley
(7)Drive Plate Clutch
(8)Discharge Hose
(9)Condenser
(10)Receiver-Drier
(11)O-Ring
(12)A/C Refrigerant Pressure Sensor
Figure 3:

HVAC Module


Object Number: 1483171  Size: LF
(1)Heater Core
(2)Recirculation Actuator
(3)Intake Air Control Door
(4)A/C Module Upper Case
(5)Blower Motor Resistor
(6)A/C Module Lower Case
(7)Blower Motor
(8)A/C Filter
(9)A/C Filter Cover
(10)Heater Module Lower Case
(11)Heater Module Right Case
(12)Heater Module Left Case
Figure 4:

Airflow - Typical


Object Number: 1262757  Size: MF
(1)Mode Door
(2)Heater Core
(3)Fresh Air/Recalculation Air Door
(4)Inside Air Inlet
(5)Outside Air Inlet
(6)Blower
(7)Evaporator - A/C Only
(8)Heater, Air Mix, Door
(9)Foot Outlets
(10)Vent Outlets
(11)Defroster Outlets
Figure 5:

Air Ducts


Object Number: 1262753  Size: LF
(1)Side Ventilation Duct
(2)Front Window Defroster Duct
(3)Front Air Distribution Duct
(4)Junction Block
(5)Rear Heater Duct Connector
(6)Rear Heater Duct
(7)Rear Heater Duct Extension
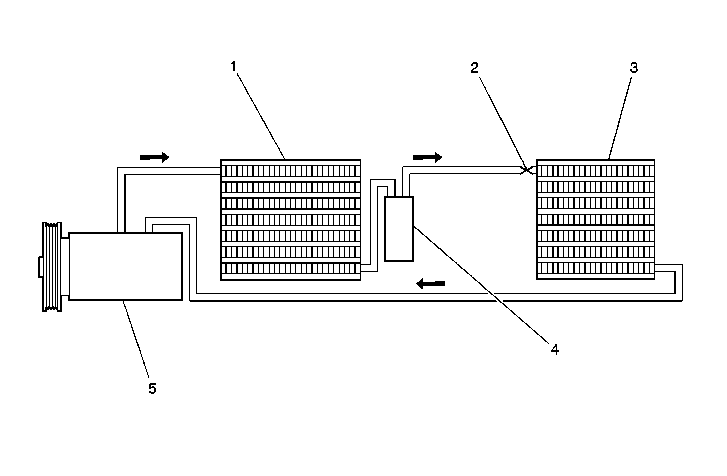
Figure 6:

A/C System - Typical


Object Number: 1262756  Size: MF
(1)Condenser
(2)Expansion Valve
(3)Evaporator
(4)Receiver-Drier
(5)Compressor