GM Service Manual Online
For 1990-2009 cars only
Makes
🢒
Chevrolet
🢒
2006
🢒
Vivant
🢒
HVAC
🢒
HVAC Systems - Manual
🢒 Power Roof Systems Component Views
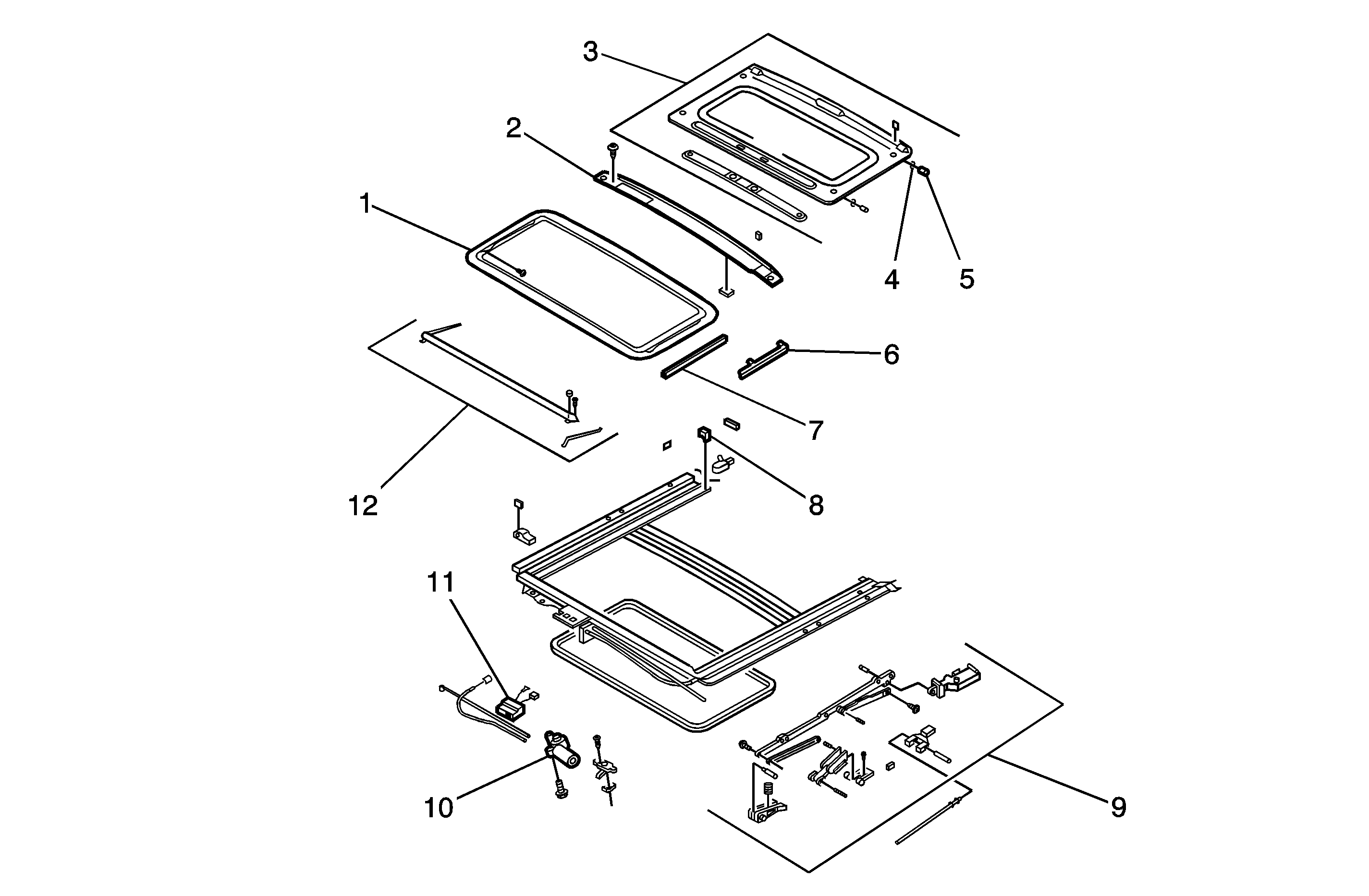
Figure
1:
Sunroof Assembly
(1)
Glass Panel
(2)
Drain Channel
(3)
Sunshade
(4)
Slide Block Spring
(5)
Slide Block
(6)
Side Outer Cover
(7)
Side Inner Cover
(8)
Sunshade Rear Stopper
(9)
Mechanism
(10)
Drive Gear and Motor
(11)
Sunroof Module
(12)
Wind Deflector
Figure
2:
Sunroof Switch
(1)
Sunroof Switch (w/ Reading Lamp)
(2)
Sunroof Module