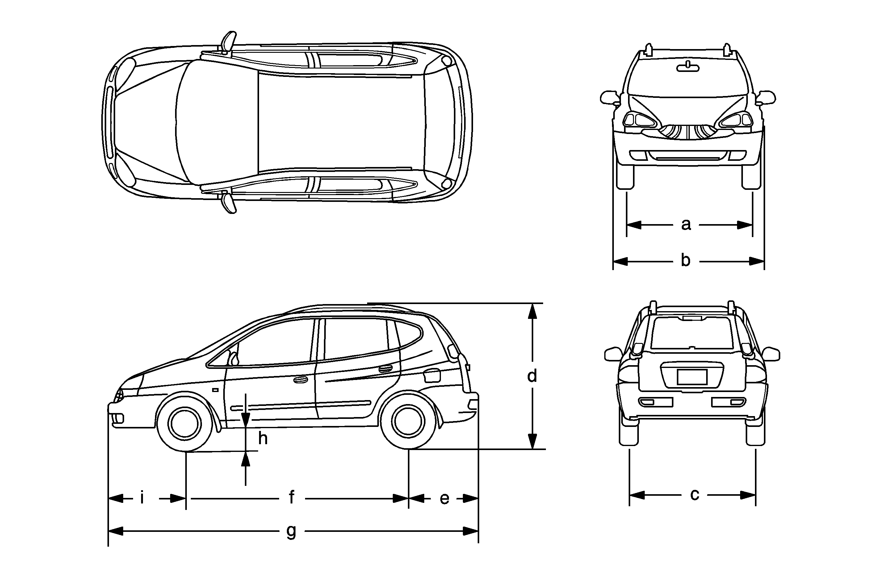
Points | Dimensions (mm) | Dimensions (in) |
|---|---|---|
|
Important: Reference dimensions show the distance between the center of positioning holes shown in illustrations. | ||
A | 1476 | 58.1 |
B | 1755 | 69.1 |
C | 1480 | 58.3 |
D | 1630 | 64.2 |
E | 850 | 33.5 |
F | 2600 | 102.4 |
G | 4350 | 171.2 |
H | 160 | 6.3 |
I | 900 | 35.4 |
Points | Dimensions (mm) | Dimensions (in) |
|---|---|---|
|
Important: Reference dimensions show the distance between the center of positioning holes shown in illustrations. | ||
A | 1420 | 55.9 |
B | 1298 | 51.1 |
C | 1166 | 45.9 |
D | 320 | 12.5 |
E | 860 | 33.8 |
F | 1399 | 55.0 |
G | 472 | 18.5 |
H | 240 | 9.44 |
I | 434 | 17.0 |
J | 812 | 31.9 |
K | 687 | 27.0 |
L | 436 | 17.1 |
M | 600 | 23.6 |
N | 996 | 39.2 |
Points | Dimensions (mm) | Dimensions (in) |
|---|---|---|
|
Important: Reference dimensions show the distance between the center of positioning holes shown in illustrations. | ||
A | 1272 | 50.1 |
B | 997 | 39.2 |
C | 1063 | 41.8 |
D | 692 | 27.2 |
E | 837 | 32.9 |
F | 743 | 29.2 |
G | 898 | 35.3 |
Points | Dimensions (mm) | Dimensions (in) |
|---|---|---|
|
Important: Reference dimensions show the distance between the center of positioning holes shown in illustrations. | ||
A | 657 | 25.9 |
B | 964 | 37.9 |
C | 1456 | 57.3 |
D | 1103 | 43.4 |
E | 428 | 16.8 |
F | 753 | 29.6 |
G | 1266 | 49.8 |
H | 1355 | 53.3 |
Points | Dimensions (mm) | Dimensions (in) |
|---|---|---|
|
Important: Reference dimensions show the distance between the center of positioning holes shown in illustrations. | ||
A | 447 | 17.6 |
B | 960 | 37.8 |
C | 668 | 26.3 |
D | 726 | 28.5 |
E | 1235 | 48.6 |
F | 1001 | 39.4 |
G | 846 | 33.3 |
H | 694 | 27.3 |
Points | Dimensions (mm) | Dimensions (in) |
|---|---|---|
|
Important: Reference dimensions show the distance between the center of positioning holes shown in illustrations. | ||
A | 277 | 10.9 |
B | 184 | 7.24 |
C | 185 | 7.28 |
D | 285 | 11.2 |
E | 235 | 9.25 |
F | 139 | 5.47 |
G | 306 | 12.0 |
H | 283 | 11.1 |
I | 201 | 7.91 |
J | 934 | 36.8 |
K | 1061 | 41.8 |
L | 429 | 16.9 |
M | 1109 | 43.7 |
N | 1173 | 46.2 |
O | 399 | 15.7 |
P | 792 | 31.2 |
Q | 1007 | 39.4 |
R | 566 | 22.3 |
S | 1067 | 42.0 |
T | 628 | 24.8 |
Important: Inspect for the following Items:
• Proper installation. • Clearance and level differences of main body, exterior panels, lamps and
bumper. • Waterleaks in passenger and luggage compartment.
Description | Location | Gap | Description | Location | Gap |
|---|---|---|---|---|---|
Hood - Front Bumper | A | 5 + 2 mm (0.19 + 0.08 in) | Side Outer - Trunk Lid | F | 3 + 1 mm (0.12 + 0.04 in) |
Hood - Head Lamp | B | 5 + 2 mm (0.19 + 0.08 in) | Side Outer - Tail Lamp | G | 1.9 mm (0.07 in) |
Hood - Fender | C | 3 ± 1 mm (0.12 ± 0.04 in) | Trunk Lid - Tail Lamp | H | 3.5 ± 1 mm (0.134 ± 0.04 in) |
Fender - Head Lamp | D | 2 ± 1 mm (0.08 ± 0.04 in) | Trunk Lid - Rear Bumper | I | 5 + 2 mm (0.19 + 0.08 in) |
Head Lamp - Front Bumper | E | 3 ± 1 mm (0.12 ± 0.04 in) | Tail Lamp - Rear Bumper | J | 4 ± 1 mm (0.16 ± 0.04 in) |
Important: Inspect for the following Items:
• Proper installation. • Clearance and level differences of main body, exterior panels, lamps and
bumper. • Waterleaks in passenger and luggage compartment.
Description | Location | Gap | Description | Location | Gap |
|---|---|---|---|---|---|
Hood - Fender | A | 3 ± 1 mm (0.12 ± 0.04 in) | Rocker Panel - Door | G | 5 ± 1 mm (0.19 ± 0.04 in) |
Fender - Head Lamp | B | 2 ± 1 mm (0.08 ± 0.04 in) | Front Door - Rear Door | H | 4 + 1 mm (0.16 + 0.04 in) |
A Pillar - Front Door | C | 5 ± 1 mm (0.19 ± 0.04 in) | Front Door - Rear Door | I | 4 + 1 mm (0.16 + 0.04 in) |
Rear Door Roof | D | 5 ± 1 mm (0.19 ± 0.04 in) | Rear Door - Side Outer | J | 3.5 + 1 mm (0.134 + 0.04 in) |
Rear Door - C Pillar | E | 5 ± 1 mm (0.19 ± 0.04 in) | Trunk Lid - Side Outer | K | 3 + 1 mm (0.12 + 0.04 in) |
Fender - Front Door | F | 3.5 + 1 mm (0.134 + 0.04 in) | Side Outer - Tail Lamp | L | 1.9 mm (0.07 in) |
Application | Specification | |
|---|---|---|
Metric | English | |
Overall Length | 4,305 | 169 in |
Overall Width | 1,755 mm | 69.1 in |
Overall Height | 1,580 mm | 62.2 in |
Minimum Ground Clearance | 167 mm | 6.57 in |
Wheel Base | 2,600 mm | 102.4 in |
Tread: | ||
| 1,476 | 58.1 in |
| 1,480 | 58.2 in |
Application | Specification | |
|---|---|---|
Metric | English | |
Manual: | ||
| 1,433 kg | 3839 lb |
| 1,828 kg | 4897 lb |
Passenger Capacity | 5 | |
Points | Dimensions (mm) | Dimensions (in) |
|---|---|---|
|
Important: Reference dimensions show the distance between the center of positioning holes shown in illustrations. | ||
A | 1476 | 58.1 |
B | 1755 | 69.1 |
C | 1480 | 58.3 |
D | 1630 | 64.2 |
E | 850 | 33.5 |
F | 2600 | 102.4 |
G | 4350 | 171.2 |
H | 160 | 6.3 |
I | 900 | 35.4 |
Points | Dimensions (mm) | Dimensions (in) |
|---|---|---|
|
Important: Reference dimensions show the distance between the center of positioning holes shown in illustrations. | ||
A | 1420 | 55.9 |
B | 1298 | 51.1 |
C | 1166 | 45.9 |
D | 320 | 12.5 |
E | 860 | 33.8 |
F | 1399 | 55.0 |
G | 472 | 18.5 |
H | 240 | 9.44 |
I | 434 | 17.0 |
J | 812 | 31.9 |
K | 687 | 27.0 |
L | 436 | 17.1 |
M | 600 | 23.6 |
N | 996 | 39.2 |
Points | Dimensions (mm) | Dimensions (in) |
|---|---|---|
|
Important: Reference dimensions show the distance between the center of positioning holes shown in illustrations. | ||
A | 1272 | 50.1 |
B | 997 | 39.2 |
C | 1063 | 41.8 |
D | 692 | 27.2 |
E | 837 | 32.9 |
F | 743 | 29.2 |
G | 898 | 35.3 |
Points | Dimensions (mm) | Dimensions (in) |
|---|---|---|
|
Important: Reference dimensions show the distance between the center of positioning holes shown in illustrations. | ||
A | 657 | 25.9 |
B | 964 | 37.9 |
C | 1456 | 57.3 |
D | 1103 | 43.4 |
E | 428 | 16.8 |
F | 753 | 29.6 |
G | 1266 | 49.8 |
H | 1355 | 53.3 |
Points | Dimensions (mm) | Dimensions (in) |
|---|---|---|
|
Important: Reference dimensions show the distance between the center of positioning holes shown in illustrations. | ||
A | 447 | 17.6 |
B | 960 | 37.8 |
C | 668 | 26.3 |
D | 726 | 28.5 |
E | 1235 | 48.6 |
F | 1001 | 39.4 |
G | 846 | 33.3 |
H | 694 | 27.3 |
Points | Dimensions (mm) | Dimensions (in) |
|---|---|---|
|
Important: Reference dimensions show the distance between the center of positioning holes shown in illustrations. | ||
A | 277 | 10.9 |
B | 184 | 7.24 |
C | 185 | 7.28 |
D | 285 | 11.2 |
E | 235 | 9.25 |
F | 139 | 5.47 |
G | 306 | 12.0 |
H | 283 | 11.1 |
I | 201 | 7.91 |
J | 934 | 36.8 |
K | 1061 | 44.8 |
L | 429 | 16.9 |
M | 1109 | 43.7 |
N | 1173 | 46.2 |
O | 399 | 15.7 |
P | 792 | 31.2 |
Q | 1007 | 39.4 |
R | 566 | 22.3 |
S | 1067 | 42.0 |
T | 628 | 24.8 |
Important: Inspect for the following Items:
• Proper installation. • Clearance and level differences of main body, exterior panels, lamps and
bumper. • Waterleaks in passenger and luggage compartment.
Description | Location | Gap | Description | Location | Gap |
|---|---|---|---|---|---|
Hood - Front Bumper | A | 5 + 2 mm (0.19 + 0.08 in) | Side Outer - Trunk Lid | F | 3 + 1 mm (0.12 + 0.04 in) |
Hood - Head Lamp | B | 5 + 2 mm (0.19 + 0.08 in) | Side Outer - Tail Lamp | G | 1.9 mm (0.07 in) |
Hood - Fender | C | 3 ± 1 mm (0.12 ± 0.04 in) | Trunk Lid - Tail Lamp | H | 3.5 ± 1 mm (0.134 ± 0.04 in) |
Fender - Head Lamp | D | 2 ± 1 mm (0.08 ± 0.04 in) | Trunk Lid - Rear Bumper | I | 5 + 2 mm (0.19 + 0.08 in) |
Head Lamp - Front Bumper | E | 3 ± 1 mm (0.12 ± 0.04 in) | Tail Lamp - Rear Bumper | J | 4 ± 1 mm (0.16 ± 0.04 in) |
Important: Inspect for the following Items:
• Proper installation. • Clearance and level differences of main body, exterior panels, lamps and
bumper. • Waterleaks in passenger and luggage compartment.
Description | Location | Gap | Description | Location | Gap |
|---|---|---|---|---|---|
Hood - Fender | A | 3 ± 1 mm (0.12 ± 0.04 in) | Rocker Panel - Door | G | 5 ± 1 mm (0.19 ± 0.04 in) |
Fender - Head Lamp | B | 2 ± 1 mm (0.08 ± 0.04 in) | Front Door - Rear Door | H | 4 + 1 mm (0.16 + 0.04 in) |
A Pillar - Front Door | C | 5 ± 1 mm (0.19 ± 0.04 in) | Front Door - Rear Door | I | 4 + 1 mm (0.16 + 0.04 in) |
Rear Door Roof | D | 5 ± 1 mm (0.19 ± 0.04 in) | Rear Door - Side Outer | J | 3.5 + 1 mm (0.134 + 0.04 in) |
Rear Door - C Pillar | E | 5 ± 1 mm (0.19 ± 0.04 in) | Trunk Lid - Side Outer | K | 3 + 1 mm (0.12 + 0.04 in) |
Fender - Front Door | F | 3.5 + 1 mm (0.134 + 0.04 in) | Side Outer - Tail Lamp | L | 1.9 mm (0.07 in) |
Application | Specification | |
|---|---|---|
Metric | English | |
Overall Length | 4,305 | 169 in |
Overall Width | 1,755 mm | 69.1 in |
Overall Height | 1,580 mm | 62.2 in |
Minimum Ground Clearance | 167 mm | 6.57 in |
Wheel Base | 2,600 mm | 102.4 in |
Tread: | ||
| 1,476 | 58.1 in |
| 1,480 | 58.2 in |
Application | Specification | |
|---|---|---|
Metric | English | |
Manual: | ||
| 1,828 kg | 4,897 lb |
| 1,862 kg | 4,988 lb |
Automatic: | ||
| 1,482 kg | 3,970 lb |
| 1,877 kg | 5,028 lb |
Passenger Capacity | 5 | |