GM Service Manual Online
For 1990-2009 cars only

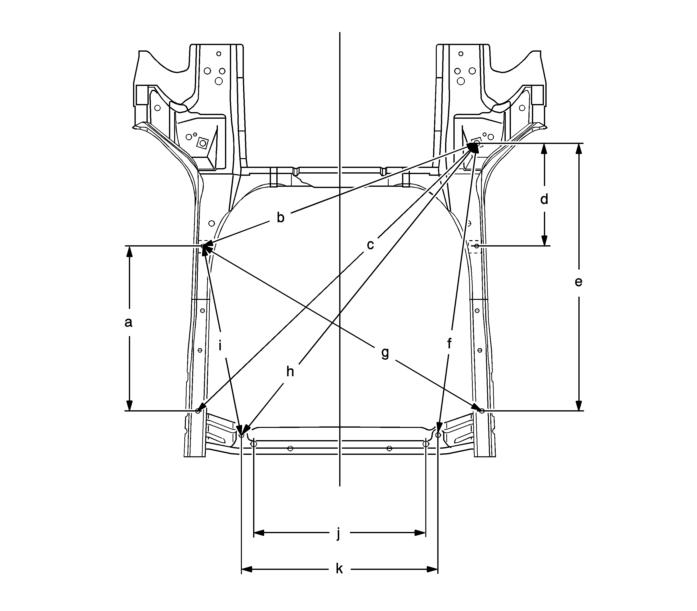
Front Frame


Object Number: 1308753  Size: LF

Points

Dimensions (mm)

Dimensions (in)

Important: Reference dimensions show the distance between the center of positioning holes shown in illustrations.

A

524

20.6

B

941

37.0

C

1,237

48.7

D

308

12.1

E

821

32.3

F

957

37.7

G

1,037

40.8

H

1,211

47.7

I

692

27.2

J

733

28.8

K

997

39.2

Rear Frame


Object Number: 1308754  Size: LF

Points

Dimensions (mm)

Dimensions (in)

Important: Reference dimensions show the distance between the center of positioning holes shown in illustrations.

A

711

28.0

B

1,153

45.4

C

1,194

47.0

D

892

35.1

E

1,383

54.4

F

1,423

56.0

G

1,570

61.8

H

674

26.5

I

964

37.9

J

1,129

44.4

K

993

39.0