GM Service Manual Online
For 1990-2009 cars only

Repair Procedure

  1. Pressure test the cooling system. Refer to Cooling System Leak Testing.
  2. Note: If the radiator is leaky, replace it. Refer to Radiator Replacement.


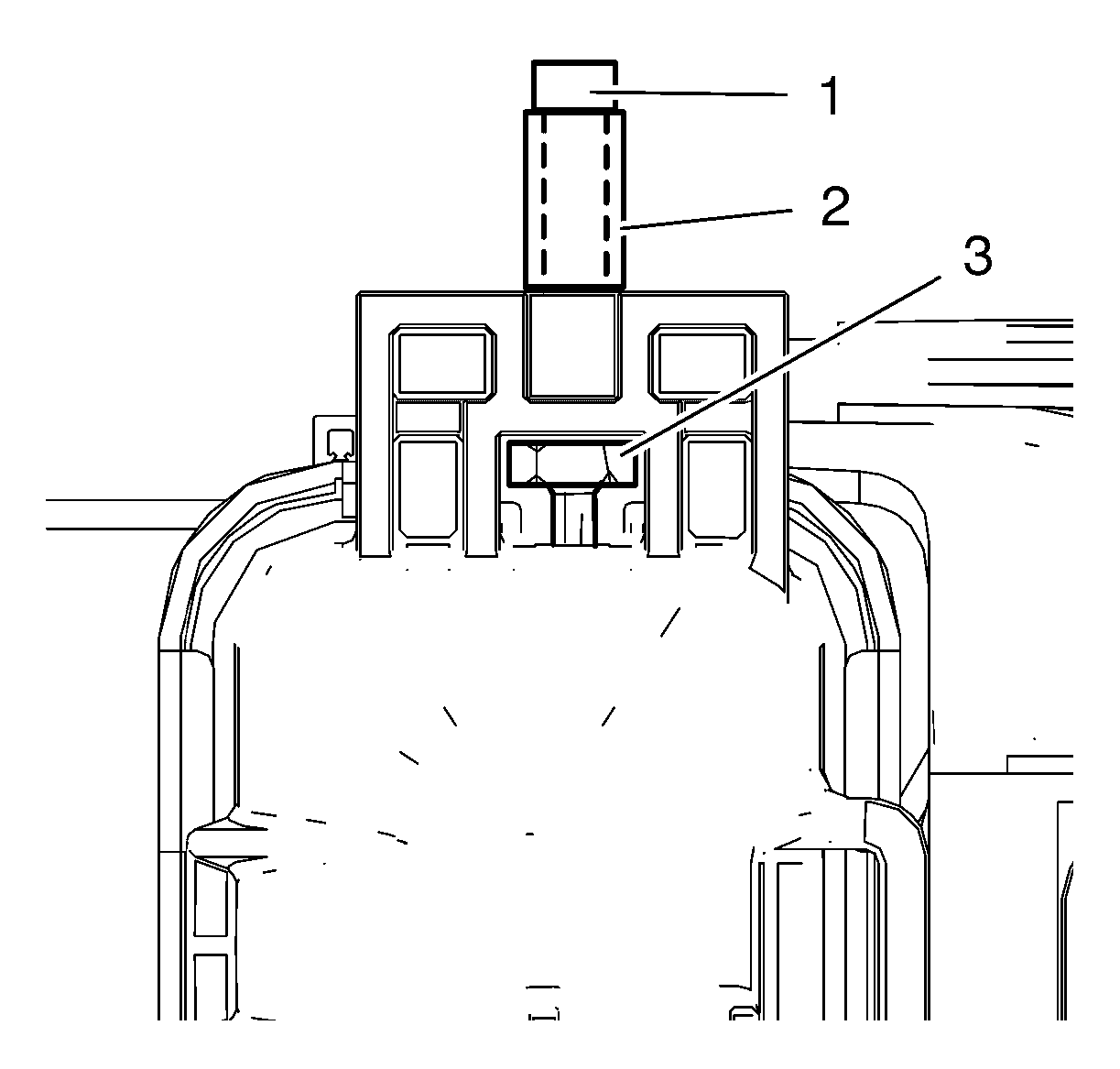
    Object Number: 2028254  Size: SH
  3. Grind the fracture surface (1) with a proper tool.
  4. Drill a persistent hole in center of the fracture surface, using a  6 mm (0.24 in) drill.

  5. Object Number: 2028256  Size: SH
  6. Install the new radiator mounting pin (2).
  7. • Install the nut (3)
    • Install the radiator mounting pin (2) with the bolt (1)

       Note: The bolt should not be longer than 35 mm (1.38in).

    Caution: Refer to Fastener Caution in the Preface section.

  8. Tighten the bolt  xx N·m (xx lb in).