GM Service Manual Online
For 1990-2009 cars only
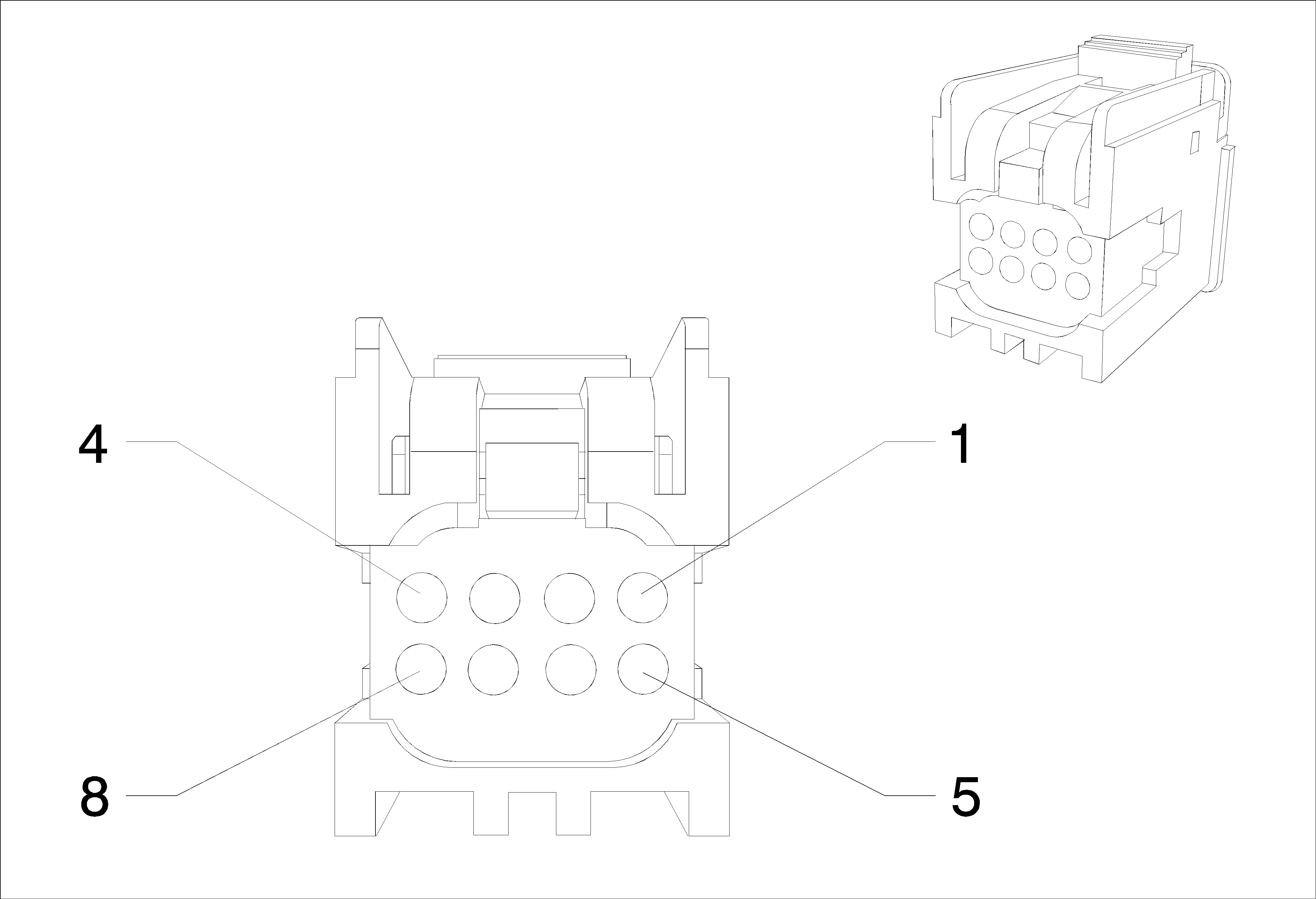
Figure 1:

A11 Radio X1


Object Number: 1974986  Size: CH

Connector Part Information

  • Harness: Instrument panel Instrument panel
  • OEM: --
  • Service: --
  • Description: 44-Way Female (-)

Terminal Part Information

  • Pins: Terminal Removal Tool T1
  • Terminated Lead:
  • Release Tool: J-38125-215A
  • Diagnostic Test Probe: J-35616-64B (L-BU)
  • Pins: Terminal Removal Tool T2
  • Terminated Lead:
  • Release Tool: 15315247
  • Diagnostic Test Probe: J-35616-2A
  • Pins: Terminal Removal Tool T3
  • Terminated Lead:
  • Release Tool: 15315247
  • Diagnostic Test Probe: KM-609-9

A11 Radio X1

Pin

Wire

Circuit

Function

2

0.35 Yellow

7459

Integrated Center Stack Serial Data Low (UAG/UFD)

0.35 Yellow

7459

Integrated Center Stack Serial Data Low (UDK)

3

0.35 BARE

7460

Integrated Center Stack Serial Data Shield (UAG/UFD)

0.35 BARE

7460

Integrated Center Stack Serial Data Shield (UDK)

6

0.5 Black-Yellow

659

Cellular Telephone Voice Low Reference

10

0.35 Green

5841

Right Auxiliary Audio Signal (2)

11

0.35 Blue

2060

Auxiliary Detection Signal

13

0.35 Gray-Green

3291

Integrated Center Stack Wake Up Signal (UAG/UFD)

0.35 Gray-Green

3291

Integrated Center Stack Wake Up Signal (UDK)

14

0.5 Green

5060

Low Speed GMLAN Serial Data

15

0.5 Brown-Violet

5748

Radio Audio Mute Signal

16

0.35 Violet

7458

Center Integrated Center Stack Serial Data High (UAG/UFD)

0.35 Violet

7458

Center Integrated Center Stack Serial Data High (UDK)

20

0.5 Yellow

658

Cellular Telephone Voice Signal

23

0.35 Violet

5843

Auxiliary Audio Common Signal

24

0.35 Gray

5839

Left Auxiliary Audio Signal (2)

27

0.35 Violet

3290

Integrated Center Stack Reset Signal (UAG/UFD)

0.35 Violet

3290

Integrated Center Stack Reset Signal (UDK)

29

0.35 BARE

2011

Left Front Audio Drain Wire

30

0.35 BARE

2099

Left Rear Audio Drain Wire

31

0.35 Blue-Brown

1546

Front Low Level Audio (-)

0.75 Yellow-Black

117

Right Front Speaker Signal (-) (1) (LHD UQG)

0.75 Yellow-Black

117

Right Front Speaker Signal (-) (1) (RHD UQG)

32

0.75 Brown-Blue

118

Left Front Speaker Signal (-) (1) (LHD UQG)

0.75 Brown-Blue

118

Left Front Speaker Signal (-) (1) (RHD UQG)

0.35 Brown-Blue

1947

Left Front Low Level Audio (-)

33

0.75 Blue-Black

115

Right Rear Speaker Signal (-) (LHD UQG)

0.75 Blue-Black

115

Right Rear Speaker Signal (-) (RHD UQG)

0.35 Blue-Black

1946

Right Rear Low Level Audio (-)

34

0.35 Brown-Violet

1999

Left Rear Low Level Audio (-)

0.75 Green-Black

116

Left Rear Speaker Signal (-) (LHD UQG)

0.75 Green-Black

116

Left Rear Speaker Signal (-) (RHD UQG)

37

0.5 Violet-Blue

6978

Amplifier Control (UQG)

38

1.5 Black

50

Ground

39

0.35 Yellow

512

Right Front Low Level Audio Signal

0.75 Yellow

200

Right Front Speaker (+) (1) (LHD UQG)

0.75 Yellow

200

Right Front Speaker (+) (1) (RHD UQG)

40

0.35 Blue

511

Left Front Low Level Audio Signal

0.75 Blue

201

Left Front Speaker (+) (1) (LHD UQG)

0.75 Blue

201

Left Front Speaker (+) (1) (RHD UQG)

41

0.35 Brown-White

546

Right Rear Low Level Audio Signal

0.75 White

46

Right Rear Speaker (+) (LHD UQG)

0.75 White

46

Right Rear Speaker (+) (RHD UQG)

42

0.75 Green

199

Left Rear Speaker (+) (LHD UQG)

0.75 Green

199

Left Rear Speaker (+) (RHD UQG)

0.35 Green-Black

599

Left Rear Low Level Audio Signal

43

0.5 Green-Yellow

7066

Entertainment Remote Enable Signal (UQG)

0.5 Green-Yellow

7066

Entertainment Remote Enable Signal (UDK)

44

1.5 Red-Green

40

Battery Positive Voltage

Figure 2:

A11 Radio X2


Object Number: 1715228  Size: CH

Connector Part Information

  • Harness: Instrument panel Instrument panel
  • OEM: --
  • Service: --
  • Description: 20-Way Female (-)

Terminal Part Information

  • Pins: --
  • Terminated Lead:
  • Release Tool: J-38125-215A
  • Diagnostic Test Probe: J-35616-64B (L-BU)

A11 (X2) Radio X2

Pin

Wire

Circuit

Function

10

0.35 Brown-Green

3364

Navigation Display Reset Signal (UDK)

14

0.35 Gray-Violet

3363

Navigation Display Dimming Control (UDK)

20

0.5 Gray

1903

AAS Wheel Speed Sensor Signal Left Front

0.5 Gray

1903

AAS Wheel Speed Sensor Signal Left Front (UDK)

Figure 3:

A22 Radio Control (UAG/UFD)


Object Number: 2173890  Size: CH

Connector Part Information

  • Harness: Instrument panel Instrument panel
  • OEM: -
  • Service: -
  • Description: 8-Way Female (-)

Terminal Part Information

  • Terminal/Tray:
  • Core/Insulation Crimp:
  • Release Tool/Test Probe:

A22 Radio Control (UAG/UFD)

Pin

Wire

Circuit

Function

1

0.5 Red-Green

40

Battery Positive Voltage

0.5 Red-Green

40

Battery Positive Voltage

2

0.5 Black

50

Ground

0.5 Black

50

Ground

4

0.5 Green-Blue

7532

Linear Interconnect Network Bus 10

Figure 4:

A22 Radio Control (UDK)


Object Number: 2173890  Size: CH

Connector Part Information

  • Harness: Instrument panel Instrument panel
  • OEM: -
  • Service: -
  • Description: 8-Way Female (-)

Terminal Part Information

  • Terminal/Tray:
  • Core/Insulation Crimp:
  • Release Tool/Test Probe:

A22 Radio Control (UDK)

Pin

Wire

Circuit

Function

1

0.5 Red-Green

40

Battery Positive Voltage

0.5 Red-Green

40

Battery Positive Voltage

2

0.5 Black

50

Ground

0.5 Black

50

Ground

4

0.35 Gray-Green

3291

Integrated Center Stack Wake Up Signal

5

0.35 Violet

3290

Integrated Center Stack Reset Signal

6

0.35 BARE

7460

Integrated Center Stack Serial Data Shield

7

0.35 Violet

7458

Center Integrated Center Stack Serial Data High

8

0.35 Yellow

7459

Integrated Center Stack Serial Data Low

Figure 5:

A23C Door Latch Assembly - Liftgate


Object Number: 894390  Size: CH

Connector Part Information

  • Harness: Liftgate
  • OEM: -
  • Service: -
  • Description: 4-Way Female (-)

Terminal Part Information

  • Terminal/Tray:
  • Core/Insulation Crimp:
  • Release Tool/Test Probe:

A23C Door Latch Assembly - Liftgate

Pin

Wire

Circuit

Function

1

0.5 Blue-Yellow

6795

Lift Glass/Trunk Motor Release Control 2

2

0.5 Black

50

Ground

4

0.5 Violet-Gray

1303

Lift Gate Ajar Switch Signal (1)

Figure 6:

A23D Door Latch Assembly - Driver


Object Number: 2173899  Size: CH

Connector Part Information

  • Harness: Driver Door Harness
  • OEM: -
  • Service: -
  • Description: 10-Way Female (Black/Red)

Terminal Part Information

  • Terminal/Tray:
  • Core/Insulation Crimp:
  • Release Tool/Test Probe:

A23D Door Latch Assembly - Driver

Pin

Wire

Circuit

Function

1

0.75 Brown

5910

Door Double Lock Actuator Lock Control (LHD AF8-SAE)

0.5 Gray

745

Left Front Door Ajar Switch Signal (RHD AEC)

0.5 Gray

745

Left Front Door Ajar Switch Signal (RHD -AED/-AXG)

0.5 Gray

745

Left Front Door Ajar Switch Signal (RHD AXG)

2

0.75 Brown-Yellow

294

Door Lock Actuator Unlock Control (LHD -AF8)

0.75 Brown-Yellow

294

Door Lock Actuator Unlock Control (LHD AF8-SAE)

0.5 White-Yellow

3574

Driver Door Open Switch Signal (RHD ATH)

3

0.75 Gray

295

Door Lock Actuator Lock Control (LHD -AF8)

0.75 Gray

295

Door Lock Actuator Lock Control (LHD AF8-SAE)

0.75 Black

50

Ground (RHD LHD ATH)

0.75 Black

50

Ground (RHD RHD ATH)

0.75 Black

50

Ground (RHD)

0.75 Black

50

Ground

0.75 Black

50

Ground (RHD)

4

0.5 Gray-Black

9990

- (LHD)

5

0.75 Violet-Blue

6666

Driver Door Unlatch Motor Unlatch Control (RHD ATH)

0.75 Gray

3578

Driver Door Unlatch Motor Unlatch Return (LHD ATH)

6

0.75 Brown

5910

Door Double Lock Actuator Lock Control (RHD AF8-SAE)

0.5 Gray

745

Left Front Door Ajar Switch Signal (LHD AEC)

0.5 Gray

745

Left Front Door Ajar Switch Signal (LHD -AED/-AXG)

0.5 Gray

745

Left Front Door Ajar Switch Signal (LHD AXG)

7

0.75 Brown-Yellow

294

Door Lock Actuator Unlock Control (RHD -AF8)

0.75 Brown-Yellow

294

Door Lock Actuator Unlock Control (RHD AF8-SAE)

0.5 White-Yellow

3574

Driver Door Open Switch Signal (LHD ATH)

8

0.75 Gray

295

Door Lock Actuator Lock Control (RHD -AF8)

0.75 Gray

295

Door Lock Actuator Lock Control (RHD AF8-SAE)

0.75 Black

50

Ground

0.75 Black

50

Ground (LHD)

0.75 Black

50

Ground (LHD LHD ATH)

0.75 Black

50

Ground (RHD LHD ATH)

0.75 Black

50

Ground (LHD)

9

0.5 Gray-Black

9990

- (RHD)

10

0.75 Violet-Blue

6666

Driver Door Unlatch Motor Unlatch Control (LHD ATH)

0.75 Gray

3578

Driver Door Unlatch Motor Unlatch Return (RHD ATH)

Figure 7:

A23LR Door Latch Assembly - Left Rear


Object Number: 2173899  Size: CH

Connector Part Information

  • Harness: Left Rear Door
  • OEM: -
  • Service: -
  • Description: 10-Way Female (Black/Red)

Terminal Part Information

  • Terminal/Tray:
  • Core/Insulation Crimp:
  • Release Tool/Test Probe:

A23LR Door Latch Assembly - Left Rear

Pin

Wire

Circuit

Function

1

0.75 Brown

5910

Door Double Lock Actuator Lock Control ( AF8-SAE)

2

0.75 Brown-Yellow

294

Door Lock Actuator Unlock Control ( -AF8)

0.75 Brown-Yellow

294

Door Lock Actuator Unlock Control ( AF8-SAE)

3

0.75 Gray

295

Door Lock Actuator Lock Control ( -AF8)

0.75 Gray

295

Door Lock Actuator Lock Control ( AF8-SAE)

4

0.75 Brown-Yellow

294

Door Lock Actuator Unlock Control (SAE -AF8)

5

0.75 Blue-Yellow

3580

Left Rear Door Unlatch Motor Unlatch Return (ATH)

6

0.5 Gray

747

Left Rear Door Ajar Switch Signal (AEQ)

0.5 Gray

747

Left Rear Door Ajar Switch Signal (-AEQ)

7

0.75 White-Blue

3266

Child Security Lock Motor Unlock Control ( -AF8)

8

0.75 Black

50

Ground

9

0.5 Brown-White

3269

Child Security Lock Motor Status Signal Left Rear

10

0.75 Blue-White

6667

Left Rear Door Unlatch Motor Unlatch Control (ATH)

Figure 8:

A23P Door Latch Assembly - Passenger


Object Number: 2173899  Size: CH

Connector Part Information

  • Harness: Cable harness - Front passenger door
  • OEM: -
  • Service: -
  • Description: 10-Way Female (Black/Red)

Terminal Part Information

  • Terminal/Tray:
  • Core/Insulation Crimp:
  • Release Tool/Test Probe:

A23P Door Latch Assembly - Passenger

Pin

Wire

Circuit

Function

1

0.75 Brown

5910

Door Double Lock Actuator Lock Control (RHD AF8-SAE)

0.5 Gray

746

Right Front Door Ajar Switch Signal (LHD AED)

0.5 Gray

746

Right Front Door Ajar Switch Signal (LHD -AED)

2

0.75 Brown-Yellow

294

Door Lock Actuator Unlock Control (RHD -AF8)

0.75 Brown-Yellow

294

Door Lock Actuator Unlock Control (RHD AF8-SAE)

0.5 Gray-Green

3575

Co_Driver Door Open Switch Signal (LHD ATH)

3

0.75 Gray

295

Door Lock Actuator Lock Control (RHD -AF8)

0.75 Gray

295

Door Lock Actuator Lock Control (RHD AF8-SAE)

0.75 Black

50

Ground (LHD)

0.75 Black

50

Ground (LHD LHD ATH)

0.75 Black

50

Ground (RHD LHD ATH)

0.75 Black

50

Ground (LHD)

5

0.75 Gray-Black

3579

Co Driver Door Unlatch Motor Unlatch Return (RHD ATH)

0.75 Yellow-Green

3583

Co Driver Door Unlatch Motor Unlatch Control (LHD ATH)

6

0.75 Brown

5910

Door Double Lock Actuator Lock Control (LHD AF8-SAE)

0.5 Gray

746

Right Front Door Ajar Switch Signal (RHD AED)

0.5 Gray

746

Right Front Door Ajar Switch Signal (RHD -AED)

7

0.75 Brown-Yellow

294

Door Lock Actuator Unlock Control (LHD -AF8)

0.75 Brown-Yellow

294

Door Lock Actuator Unlock Control (LHD AF8-SAE)

0.5 Gray-Green

3575

Co_Driver Door Open Switch Signal (RHD ATH)

8

0.75 Gray

295

Door Lock Actuator Lock Control (LHD -AF8)

0.75 Gray

295

Door Lock Actuator Lock Control (LHD AF8-SAE)

0.75 Black

50

Ground (RHD)

0.75 Black

50

Ground (RHD LHD ATH)

0.75 Black

50

Ground (RHD RHD ATH)

0.75 Black

50

Ground (RHD)

10

0.75 Gray-Black

3579

Co Driver Door Unlatch Motor Unlatch Return (LHD ATH)

0.75 Yellow-Green

3583

Co Driver Door Unlatch Motor Unlatch Control (RHD ATH)

Figure 9:

A23RR Door Latch Assembly - Right Rear


Object Number: 2173899  Size: CH

Connector Part Information

  • Harness: Right Rear Door
  • OEM: -
  • Service: -
  • Description: 10-Way Female (Black/Red)

Terminal Part Information

  • Terminal/Tray:
  • Core/Insulation Crimp:
  • Release Tool/Test Probe:

A23RR Door Latch Assembly - Right Rear

Pin

Wire

Circuit

Function

1

0.5 Gray

748

Right Rear Door Ajar Switch Signal (AEQ)

0.5 Gray

748

Right Rear Door Ajar Switch Signal (-AEQ)

2

0.75 White-Blue

3266

Child Security Lock Motor Unlock Control ( -AF8)

3

0.75 Black

50

Ground

4

0.5 Gray-Black

3268

Child Security Lock Motor Status Signal Right Rear

5

0.75 Green-Black

6669

Right Rear Door Unlatch Motor Unlatch Control (ATH)

6

0.75 Brown

5910

Door Double Lock Actuator Lock Control ( AF8-SAE)

7

0.75 Brown-Yellow

294

Door Lock Actuator Unlock Control ( -AF8)

0.75 Brown-Yellow

294

Door Lock Actuator Unlock Control ( AF8-SAE)

8

0.75 Gray

295

Door Lock Actuator Lock Control ( -AF8)

0.75 Gray

295

Door Lock Actuator Lock Control ( AF8-SAE)

9

0.75 Brown-Yellow

294

Door Lock Actuator Unlock Control (SAE -AF8)

10

0.75 Green-White

3581

Right Rear Door Unlatch Motor Unlatch Return (ATH)

Figure 10:

A3L Sunshade - Left


Object Number: 35441  Size: CH

Connector Part Information

  • Harness: Cable harness - Roof
  • OEM: -
  • Service: -
  • Description: 2-Way Male (Black)

Terminal Part Information

  • Terminal/Tray:
  • Core/Insulation Crimp:
  • Release Tool/Test Probe:

A3L Sunshade - Left

Pin

Wire

Circuit

Function

A

1 White-Brown

6815

Inadvertent Power Control

B

0.5 Black

50

Ground

Figure 11:

A3R Sunshade - Right


Object Number: 35441  Size: CH

Connector Part Information

  • Harness: Cable harness - Roof
  • OEM: -
  • Service: -
  • Description: 2-Way Male (Black)

Terminal Part Information

  • Terminal/Tray:
  • Core/Insulation Crimp:
  • Release Tool/Test Probe:

A3R Sunshade - Right

Pin

Wire

Circuit

Function

A

1 White-Brown

6815

Inadvertent Power Control

B

0.5 Black

50

Ground

Figure 12:

A9A Outside Rearview Mirror - Driver


Object Number: 646374  Size: CH

Connector Part Information

  • Harness: Driver Door Harness
  • OEM: -
  • Service: -
  • Description: 8-Way Female (Black/Violet)

Terminal Part Information

  • Terminal/Tray:
  • Core/Insulation Crimp:
  • Release Tool/Test Probe:

A9A Outside Rearview Mirror - Driver

Pin

Wire

Circuit

Function

A

0.5 Yellow-Brown

3391

Driver Mirror Motor Common Control

B

0.5 Violet-Blue

3390

Driver Mirror Motor Up (+) Down (-) Control

C

0.5 Brown-Black

3389

Driver Mirror Motor Right (+) Left (-) Control

D

0.5 Violet-Yellow

3409

Mirror Motor Fold Out Control

E

0.5 White-Brown

3410

Mirror Motor Fold In Control

F

0.5 Brown-Yellow

2267

Mirror Heating Element Control

G

0.5 Black

50

Ground

Figure 13:

A9B Outside Rearview Mirror - Passenger


Object Number: 646374  Size: CH

Connector Part Information

  • Harness: Cable harness - Front passenger door
  • OEM: -
  • Service: -
  • Description: 8-Way Female (Black/Violet)

Terminal Part Information

  • Terminal/Tray:
  • Core/Insulation Crimp:
  • Release Tool/Test Probe:

A9B Outside Rearview Mirror - Passenger

Pin

Wire

Circuit

Function

A

0.5 White

3398

Co-Driver Mirror Motor Common Control

B

0.5 Yellow-Violet

3397

Co-Driver Mirror Motor Up (+) Down (-) Control

C

0.5 Green-Black

3396

Co-Driver Mirror Motor Right (+) Left (-) Control

D

0.5 Violet-Yellow

3409

Mirror Motor Fold Out Control

E

0.5 White-Brown

3410

Mirror Motor Fold In Control

F

0.5 Brown-Yellow

2267

Mirror Heating Element Control

G

0.5 Black

50

Ground

Figure 14:

B107 Accelerator Pedal Position Sensor


Object Number: 2173601  Size: CH

Connector Part Information

  • Harness: Instrument panel Instrument panel
  • OEM: -
  • Service: -
  • Description: 6-Way Female (-)

Terminal Part Information

  • Terminal/Tray:
  • Core/Insulation Crimp:
  • Release Tool/Test Probe:

B107 Accelerator Pedal Position Sensor

Pin

Wire

Circuit

Function

1

0.5 Brown-Red

1274

Accelerator Pedal Position 5 Volt Reference (2) (LDE/LXV/2H0)

0.5 Brown-Red

1274

Accelerator Pedal Position 5 Volt Reference (2) (LLW)

0.5 Brown-Red

1274

Accelerator Pedal Position 5 Volt Reference (2) (LXT -SAE)

2

0.5 White-Red

1164

Accelerator Pedal Position 5 Volt Reference (1) (LDE/LXV/2H0)

0.5 White-Red

1164

Accelerator Pedal Position 5 Volt Reference (1) (LLW)

0.5 White-Red

1164

Accelerator Pedal Position 5 Volt Reference (1) (LXT -SAE)

3

0.5 Yellow-White

1161

Accelerator Pedal Position Signal (1) (LDE/LXV/2H0)

0.5 Yellow-White

1161

Accelerator Pedal Position Signal (1) (LLW)

0.5 Yellow-White

1161

Accelerator Pedal Position Signal (1) (LXT -SAE)

4

0.5 Black-Blue

1271

Accelerator Pedal Position Low Reference (1) (LDE/LXV/2H0)

0.5 Black-Blue

1271

Accelerator Pedal Position Low Reference (1) (LLW)

0.5 Black-Blue

1271

Accelerator Pedal Position Low Reference (1) (LXT -SAE)

5

0.5 Black-Violet

1272

Accelerator Pedal Position Low Reference (2) (LDE/LXV/2H0)

0.5 Black-Violet

1272

Accelerator Pedal Position Low Reference (2) (LLW)

0.5 Black-Violet

1272

Accelerator Pedal Position Low Reference (2) (LXT -SAE)

6

0.5 Green-White

1162

Accelerator Pedal Position Signal (2) (LDE/LXV/2H0)

0.5 Green-White

1162

Accelerator Pedal Position Signal (2) (LLW)

0.5 Green-White

1162

Accelerator Pedal Position Signal (2) (LXT -SAE)

Figure 15:

B108 Air Quality Sensor


Object Number: 2173551  Size: CH

Connector Part Information

  • Harness: Forward Lamp
  • OEM: -
  • Service: -
  • Description: 3-Way Female (-)

Terminal Part Information

  • Terminal/Tray:
  • Core/Insulation Crimp:
  • Release Tool/Test Probe:

B108 Air Quality Sensor

Pin

Wire

Circuit

Function

1

0.5 Violet-Green

39

Ignition Voltage

0.5 Violet-Green

1339

Run/Crank Ignition 1 Voltage

2

0.5 Black

50

Ground

3

0.5 Violet-White

5203

Air Quality Sensor Signal

Figure 16:

B10B Light/Sunload Sensor - Ambient


Object Number: 2173602  Size: CH

Connector Part Information

  • Harness: Instrument panel Instrument panel
  • OEM: -
  • Service: -
  • Description: 6-Way Female (-)

Terminal Part Information

  • Terminal/Tray:
  • Core/Insulation Crimp:
  • Release Tool/Test Probe:

B10B Light/Sunload Sensor - Ambient

Pin

Wire

Circuit

Function

2

0.35 Gray

590

Solar Sensor Driver Signal (CJ2)

3

0.35 Blue-White

734

Inside Air Temperature Sensor Signal (CJ2)

4

0.35 Blue

1120

- (CJ2)

6

0.85 Black

50

Ground

0.35 Black

50

Ground (CJ2)

0.35 Black-Blue

50

Ground (C68)

0.35 Black-Blue

7566

Humidity/Windscreen Temp Sensor Low Reference (CJ2)

Figure 17:

B111 Boost Pressure Sensor (LLW)


Object Number: 1835112  Size: CH

Connector Part Information

  • Harness: Engine
  • OEM: -
  • Service: -
  • Description: 4-Way Female (Black)

Terminal Part Information

  • Terminal/Tray:
  • Core/Insulation Crimp:
  • Release Tool/Test Probe:

B111 Boost Pressure Sensor (LLW)

Pin

Wire

Circuit

Function

1

0.5 Green

1533

Turbo Boost Pressure Sensor Signal

2

0.5 Brown-Red

5639

Turbo Boost Pressure Sensor 5 Volt Reference

3

0.5 Gray

5641

Turbo Boost Pressure Sensor Temperature Signal

4

0.5 White

5637

Outside Rear View Mirror Select Signal

Figure 18:

B117 Rain Sensor


Object Number: 2173553  Size: CH

Connector Part Information

  • Harness: Cable harness - Roof
  • OEM: -
  • Service: -
  • Description: 3-Way Female (-)

Terminal Part Information

  • Terminal/Tray:
  • Core/Insulation Crimp:
  • Release Tool/Test Probe:

B117 Rain Sensor

Pin

Wire

Circuit

Function

1

0.5 Red-White

40

Battery Positive Voltage

2

0.5 Black

50

Ground

3

0.5 Green-Brown

6132

Linear Interconnect Network Bus 1

Figure 19:

B14E Output Speed Sensor (LDE/LXV/2H0)


Object Number: 516611  Size: CH

Connector Part Information

  • Harness: Engine
  • OEM: -
  • Service: -
  • Description: 3-Way Female (Black)

Terminal Part Information

  • Terminal/Tray:
  • Core/Insulation Crimp:
  • Release Tool/Test Probe:

B14E Output Speed Sensor (LDE/LXV/2H0)

Pin

Wire

Circuit

Function

A

0.5 Black-Violet

50

Ground

B

0.5 Green-Gray

817

Vehicle Speed Signal

C

0.5 Brown-Violet

5290

Powertrain Main Relay Fused Supply (1)

Figure 20:

B14E Output Speed Sensor (LLW)


Object Number: 516611  Size: CH

Connector Part Information

  • Harness: Engine
  • OEM: -
  • Service: -
  • Description: 3-Way Female (Black)

Terminal Part Information

  • Terminal/Tray:
  • Core/Insulation Crimp:
  • Release Tool/Test Probe:

B14E Output Speed Sensor (LLW)

Pin

Wire

Circuit

Function

A

0.5 Black

50

Ground

0.5 Black

50

Ground

B

0.5 Green-Gray

817

Vehicle Speed Signal

C

1 Violet-Black

3

Ignition Voltage

Figure 21:

B14E Output Speed Sensor (LXT)


Object Number: 516611  Size: CH

Connector Part Information

  • Harness: Engine
  • OEM: -
  • Service: -
  • Description: 3-Way Female (Black)

Terminal Part Information

  • Terminal/Tray:
  • Core/Insulation Crimp:
  • Release Tool/Test Probe:

B14E Output Speed Sensor (LXT)

Pin

Wire

Circuit

Function

A

0.5 Black

50

Ground

0.5 Black-White

50

Ground

B

0.5 Green-Gray

817

Vehicle Speed Signal

C

0.75 Violet-Black

3

Ignition Voltage

Figure 22:

B16 Backup Lamp Switch (LDE/LXV/2H0)


Object Number: 1527729  Size: CH

Connector Part Information

  • Harness: Engine
  • OEM: -
  • Service: -
  • Description: 2-Way Female (Gray)

Terminal Part Information

  • Terminal/Tray:
  • Core/Insulation Crimp:
  • Release Tool/Test Probe:

B16 Backup Lamp Switch (LDE/LXV/2H0)

Pin

Wire

Circuit

Function

A

0.5 Gray-Black

6316

Engine Reverse Gear Switch Signal

B

0.5 Black

50

Ground

0.5 Black

50

Ground

Figure 23:

B16 Backup Lamp Switch (LLW)


Object Number: 1527729  Size: CH

Connector Part Information

  • Harness: Engine
  • OEM: -
  • Service: -
  • Description: 2-Way Female (Gray)

Terminal Part Information

  • Terminal/Tray:
  • Core/Insulation Crimp:
  • Release Tool/Test Probe:

B16 Backup Lamp Switch (LLW)

Pin

Wire

Circuit

Function

A

0.5 Gray-Black

6316

Engine Reverse Gear Switch Signal

B

0.5 Black

50

Ground

0.5 Black

50

Ground

Figure 24:

B16 Backup Lamp Switch (LXT)


Object Number: 1527729  Size: CH

Connector Part Information

  • Harness: Engine
  • OEM: -
  • Service: -
  • Description: 2-Way Female (Gray)

Terminal Part Information

  • Terminal/Tray:
  • Core/Insulation Crimp:
  • Release Tool/Test Probe:

B16 Backup Lamp Switch (LXT)

Pin

Wire

Circuit

Function

A

0.5 Blue-Violet

6316

Engine Reverse Gear Switch Signal

B

0.5 Brown

50

Ground

0.5 Brown

50

Ground

Figure 25:

B160 Windshield Temperature and Inside Moisture Sensor


Object Number: 2173602  Size: CH

Connector Part Information

  • Harness: Cable harness - Roof
  • OEM: -
  • Service: -
  • Description: 6-Way Female (-)

Terminal Part Information

  • Terminal/Tray:
  • Core/Insulation Crimp:
  • Release Tool/Test Probe:

B160 Windshield Temperature and Inside Moisture Sensor

Pin

Wire

Circuit

Function

1

0.35 Yellow-Red

597

5 Volt Reference (CJ2)

2

0.35 Gray-Blue

7564

Humidity Sensor Signal (CJ2)

3

0.35 Black-Blue

7566

Humidity/Windscreen Temp Sensor Low Reference (CJ2)

0.35 Dark Green

50

Ground

4

0.35 Gray-Green

7565

Windscreen Temp Sensor Signal (CJ2)

5

0.35 Yellow-Blue

3197

Humidity Temperature Sensor Signal (CJ2)

Figure 26:

B18 Battery Current Sensor


Object Number: 646415  Size: CH

Connector Part Information

  • Harness: Body
  • OEM: -
  • Service: -
  • Description: 3-Way Female (-)

Terminal Part Information

  • Terminal/Tray:
  • Core/Insulation Crimp:
  • Release Tool/Test Probe:

B18 Battery Current Sensor

Pin

Wire

Circuit

Function

    
    
    
    
Figure 27:

B20 Brake Fluid Level Switch


Object Number: 2039635  Size: CH

Connector Part Information

  • Harness: Body
  • OEM: -
  • Service: -
  • Description: 2-Way Female (-)

Terminal Part Information

  • Terminal/Tray:
  • Core/Insulation Crimp:
  • Release Tool/Test Probe:

B20 Brake Fluid Level Switch

Pin

Wire

Circuit

Function

1

0.5 Green-Gray

333

Brake Fluid Level Sensor Signal (JL9)

0.5 Green-Gray

333

Brake Fluid Level Sensor Signal (-JL9)

2

0.5 Black

50

Ground

1.25 Black

50

Ground

Figure 28:

B22 Brake Pedal Position Sensor


Object Number: 1243663  Size: CH

Connector Part Information

  • Harness: Instrument Panel
  • OEM: -
  • Service: Service by Connector Assembly
  • Description: 3-Way Female (-)

Terminal Part Information

  • Pins:
  • Terminated Lead: Service by Connector Assembly
  • Release Tool: 15315247
  • Diagnostic Test Probe: J-35616-2A (GY)

B22 Brake Pedal Position Sensor

Pin

Wire

Circuit

Function

A

0.5 Black-Brown

5360

Brake Apply Sensor Low Reference

B

0.5 Blue-Yellow

5361

Brake Apply Sensor Signal

C

0.5 White

5359

Brake Apply Sensor Supply Voltage

Figure 29:

B23 Camshaft Position Sensor (LLW)


Object Number: 2173555  Size: CH

Connector Part Information

  • Harness: Engine
  • OEM: -
  • Service: -
  • Description: 3-Way Female (Black)

Terminal Part Information

  • Terminal/Tray:
  • Core/Insulation Crimp:
  • Release Tool/Test Probe:

B23 Camshaft Position Sensor (LLW)

Pin

Wire

Circuit

Function

1

0.5 Yellow-Violet

633

Camshaft Position Sensor Signal

2

0.5 Black-Yellow

632

Camshaft Position Sensor Low Reference

3

0.75 Violet-Blue

5291

Powertrain Main Relay Fused Supply (2)

0.5 Violet-Blue

5291

Powertrain Main Relay Fused Supply (2)

Figure 30:

B23 Camshaft Position Sensor (LXT)


Object Number: 2173555  Size: CH

Connector Part Information

  • Harness: Engine
  • OEM: -
  • Service: -
  • Description: 3-Way Female (Black)

Terminal Part Information

  • Terminal/Tray:
  • Core/Insulation Crimp:
  • Release Tool/Test Probe:

B23 Camshaft Position Sensor (LXT)

Pin

Wire

Circuit

Function

1

0.5 Violet-Blue

5291

Powertrain Main Relay Fused Supply (2)

0.5 Violet-Blue

5291

Powertrain Main Relay Fused Supply (2)

2

0.5 Black-White

50

Ground

0.5 Black-White

51

Signal Ground

3

0.5 Yellow-Violet

633

Camshaft Position Sensor Signal

Figure 31:

B24 Cellular Phone Microphone


Object Number: 35441  Size: CH

Connector Part Information

  • Harness: Cable harness - Roof
  • OEM: -
  • Service: -
  • Description: 2-Way Male (Black)

Terminal Part Information

  • Terminal/Tray:
  • Core/Insulation Crimp:
  • Release Tool/Test Probe:

B24 Cellular Phone Microphone

Pin

Wire

Circuit

Function

A

0.5 BARE

5193

Noise Reduction Microphone Screen

B

0.5 Yellow

5191

Noise Reduction Microphone Active Signal

Figure 32:

B25B Clutch Pedal Position Sensor


Object Number: 1243663  Size: CH

Connector Part Information

  • Harness: Instrument panel Instrument panel
  • OEM: -
  • Service: Service by Connector Assembly
  • Description: 3-Way Female (-)

Terminal Part Information

  • Pins:
  • Terminated Lead: Service by Connector Assembly
  • Release Tool: 15315247
  • Diagnostic Test Probe: J-35616-2A (GY)

B25B Clutch Pedal Position Sensor

Pin

Wire

Circuit

Function

A

0.5 Black-Gray

6110

Clutch Apply Sensor Low Reference

B

0.5 Yellow

6111

Clutch Apply Sensor Signal

C

0.5 Gray-Red

6109

Clutch Apply Sensor Voltage Reference

Figure 33:

B26 Crankshaft Position Sensor (LDE/LXV/2H0)


Object Number: 816171  Size: CH

Connector Part Information

  • Harness: Engine
  • OEM: -
  • Service: -
  • Description: 3-Way Female (Black)

Terminal Part Information

  • Terminal/Tray:
  • Core/Insulation Crimp:
  • Release Tool/Test Probe:

B26 Crankshaft Position Sensor (LDE/LXV/2H0)

Pin

Wire

Circuit

Function

1

0.5 White-Black

1799

Crankshaft Position Sensor High Resolution Signal

2

0.5 Black-Violet

574

Crankshaft Sensor Low Reference (1)

3

0.5 Green

573

Crankshaft Sensor Signal (1)

Figure 34:

B26 Crankshaft Position Sensor (LLW)


Object Number: 2173555  Size: CH

Connector Part Information

  • Harness: Engine
  • OEM: -
  • Service: -
  • Description: 3-Way Female (Black)

Terminal Part Information

  • Terminal/Tray:
  • Core/Insulation Crimp:
  • Release Tool/Test Probe:

B26 Crankshaft Position Sensor (LLW)

Pin

Wire

Circuit

Function

1

0.5 White-Black

1799

Crankshaft Position Sensor High Resolution Signal

2

0.5 Green

573

Crankshaft Sensor Signal (1)

3

0.5 Black-Violet

574

Crankshaft Sensor Low Reference (1)

Figure 35:

B26 Crankshaft Position Sensor (LXT)


Object Number: 2173555  Size: CH

Connector Part Information

  • Harness: Engine
  • OEM: -
  • Service: -
  • Description: 3-Way Female (Black)

Terminal Part Information

  • Terminal/Tray:
  • Core/Insulation Crimp:
  • Release Tool/Test Probe:

B26 Crankshaft Position Sensor (LXT)

Pin

Wire

Circuit

Function

1

0.5 White-Black

1799

Crankshaft Position Sensor High Resolution Signal

2

0.5 Green

573

Crankshaft Sensor Signal (1)

0.5 Black

50

Ground

3

0.5 Black-Violet

50

Ground

Figure 36:

B27D Door Handle Switch - Driver


Object Number: 1664592  Size: CH

Connector Part Information

  • Harness: Driver Door Harness
  • OEM: -
  • Service: -
  • Description: 2-Way Female (-)

Terminal Part Information

  • Pins:
  • Terminated Lead:
  • Release Tool: J-38125-215A
  • Diagnostic Test Probe: J-35616-64B (L-BU)

B27D Door Handle Switch - Driver

Pin

Wire

Circuit

Function

1

0.5 Black

50

Ground (ATH)

0.75 Black

50

Ground (LHD)

0.75 Black

50

Ground (RHD)

2

0.5 Green-White

3570

Driver Door Handle Switch Signal

Figure 37:

B27LR Door Handle Switch - Left Rear


Object Number: 1664592  Size: CH

Connector Part Information

  • Harness: Left Rear Door
  • OEM: -
  • Service: -
  • Description: 2-Way Female (-)

Terminal Part Information

  • Pins:
  • Terminated Lead:
  • Release Tool: J-38125-215A
  • Diagnostic Test Probe: J-35616-64B (L-BU)

B27LR Door Handle Switch - Left Rear

Pin

Wire

Circuit

Function

1

0.5 Black

50

Ground

2

0.5 Brown-Yellow

6157

Left Rear Door Handle Switch Signal

Figure 38:

B27P Door Handle Switch - Passenger


Object Number: 1664592  Size: CH

Connector Part Information

  • Harness: Cable harness - Front passenger door
  • OEM: -
  • Service: -
  • Description: 2-Way Female (-)

Terminal Part Information

  • Pins:
  • Terminated Lead:
  • Release Tool: J-38125-215A
  • Diagnostic Test Probe: J-35616-64B (L-BU)

B27P Door Handle Switch - Passenger

Pin

Wire

Circuit

Function

1

0.5 Black

50

Ground

0.75 Black

50

Ground (LHD)

0.75 Black

50

Ground (RHD)

2

0.5 Violet-White

3571

Co_Driver Door Handle Switch Signal

Figure 39:

B27RR Door Handle Switch - Right Rear


Object Number: 1664592  Size: CH

Connector Part Information

  • Harness: Right Rear Door
  • OEM: -
  • Service: -
  • Description: 2-Way Female (-)

Terminal Part Information

  • Pins:
  • Terminated Lead:
  • Release Tool: J-38125-215A
  • Diagnostic Test Probe: J-35616-64B (L-BU)

B27RR Door Handle Switch - Right Rear

Pin

Wire

Circuit

Function

1

0.5 Black

50

Ground

2

0.5 Yellow-Gray

6158

Right Rear Door Handle Switch Signal

Figure 40:

B34 Engine Coolant Temperature Sensor (LLW)


Object Number: 62426  Size: CH

Connector Part Information

  • Harness: Engine
  • OEM: -
  • Service: -
  • Description: 2-Way Female (Black)

Terminal Part Information

  • Terminal/Tray:
  • Core/Insulation Crimp:
  • Release Tool/Test Probe:

B34 Engine Coolant Temperature Sensor (LLW)

Pin

Wire

Circuit

Function

A

0.5 Blue

410

Engine Coolant Temperature Sensor Signal

B

0.5 Black-Brown

2761

Coolant Temperature Sensor Low Reference

Figure 41:

B34 Engine Coolant Temperature Sensor (LXT)


Object Number: 62426  Size: CH

Connector Part Information

  • Harness: Engine
  • OEM: -
  • Service: -
  • Description: 2-Way Female (Black)

Terminal Part Information

  • Terminal/Tray:
  • Core/Insulation Crimp:
  • Release Tool/Test Probe:

B34 Engine Coolant Temperature Sensor (LXT)

Pin

Wire

Circuit

Function

A

0.75 Blue

410

Engine Coolant Temperature Sensor Signal

B

0.5 Black-Brown

2761

Coolant Temperature Sensor Low Reference

Figure 42:

B37 Engine Oil Pressure Switch (LXT)


Object Number: 2173545  Size: CH

Connector Part Information

  • Harness: Engine
  • OEM: -
  • Service: -
  • Description: 1-Way Female (Black)

Terminal Part Information

  • Terminal/Tray:
  • Core/Insulation Crimp:
  • Release Tool/Test Probe:

B37 Engine Oil Pressure Switch (LXT)

Pin

Wire

Circuit

Function

    
    
    
    
Figure 43:

B47B Fuel Rail Pressure Sensor (LLW)


Object Number: 1331443  Size: CH

Connector Part Information

  • Harness: Engine
  • OEM: -
  • Service: -
  • Description: 3-Way Female (Black)

Terminal Part Information

  • Terminal/Tray:
  • Core/Insulation Crimp:
  • Release Tool/Test Probe:

B47B Fuel Rail Pressure Sensor (LLW)

Pin

Wire

Circuit

Function

1

0.5 Black-Green

2919

Fuel Rail Pressure Sensor Low Reference

2

0.5 Blue-White

2918

Fuel Rail Pressure Sensor Signal

3

0.5 Brown-Red

2917

Fuel Rail Pressure Sensor (5) Volt Reference

Figure 44:

B52A Heated Oxygen Sensor 1 (LXT)


Object Number: 1466979  Size: CH

Connector Part Information

  • Harness: Engine
  • OEM: -
  • Service: -
  • Description: 4-Way Female (Black)

Terminal Part Information

  • Terminal/Tray:
  • Core/Insulation Crimp:
  • Release Tool/Test Probe:

B52A Heated Oxygen Sensor 1 (LXT)

Pin

Wire

Circuit

Function

1

0.5 Violet-Gray

3110

Heated Oxygen Sensor High Signal Bank 1 Sensor (1)

2

0.5 Gray-White

3113

Heated Oxygen Sensor Heater Low Control Bank 1 Sensor (1)

3

0.5 White-Black

3111

Heated Oxygen Sensor Low Signal Bank 1 Sensor (1)

4

0.5 Violet-Blue

5292

Powertrain Main Relay Fused Supply (3)

0.5 Violet-Blue

5292

Powertrain Main Relay Fused Supply (3)

0.5 Violet-Blue

5291

Powertrain Main Relay Fused Supply (2)

Figure 45:

B52A Heated Oxygen Sensor 1 (LDE/LXV/2H0)


Object Number: 816173  Size: CH

Connector Part Information

  • Harness: Engine
  • OEM: -
  • Service: -
  • Description: 4-Way Male (Black)

Terminal Part Information

  • Terminal/Tray:
  • Core/Insulation Crimp:
  • Release Tool/Test Probe:

B52A Heated Oxygen Sensor 1 (LDE/LXV/2H0)

Pin

Wire

Circuit

Function

1

0.5 Gray-White

3113

Heated Oxygen Sensor Heater Low Control Bank 1 Sensor (1)

2

0.5 Violet-Gray

3110

Heated Oxygen Sensor High Signal Bank 1 Sensor (1)

3

0.5 Violet-Blue

5291

Powertrain Main Relay Fused Supply (2)

0.5 Violet-Blue

5291

Powertrain Main Relay Fused Supply (2)

4

0.5 Violet-Blue

5292

Powertrain Main Relay Fused Supply (3)

0.5 White-Black

3111

Heated Oxygen Sensor Low Signal Bank 1 Sensor (1)

Figure 46:

B52B Heated Oxygen Sensor 2 (LDE/LXV/2H0)


Object Number: 816173  Size: CH

Connector Part Information

  • Harness: Engine
  • OEM: -
  • Service: -
  • Description: 4-Way Male (Black)

Terminal Part Information

  • Terminal/Tray:
  • Core/Insulation Crimp:
  • Release Tool/Test Probe:

B52B Heated Oxygen Sensor 2 (LDE/LXV/2H0)

Pin

Wire

Circuit

Function

1

0.5 Gray-White

3122

Heated Oxygen Sensor Heater Low Control Bank 1 Sensor (2)

2

0.5 Violet-Blue

3120

Heated Oxygen Sensor High Signal Bank 1 Sensor (2)

3

0.5 Violet-Blue

5291

Powertrain Main Relay Fused Supply (2)

0.5 Violet-Blue

5291

Powertrain Main Relay Fused Supply (2)

4

0.5 White-Yellow

3121

Heated Oxygen Sensor Low Signal Bank 1 Sensor (2)

Figure 47:

B55 Hood Ajar Switch


Object Number: 646415  Size: CH

Connector Part Information

  • Harness: Forward Lamp
  • OEM: -
  • Service: -
  • Description: 3-Way Female (-)

Terminal Part Information

  • Terminal/Tray:
  • Core/Insulation Crimp:
  • Release Tool/Test Probe:

B55 Hood Ajar Switch

Pin

Wire

Circuit

Function

    
    
    
    
Figure 48:

B5LF Wheel Speed Sensor - Left Front


Object Number: 1527729  Size: CH

Connector Part Information

  • Harness: Forward Lamp
  • OEM: -
  • Service: -
  • Description: 2-Way Female (-)

Terminal Part Information

  • Terminal/Tray:
  • Core/Insulation Crimp:
  • Release Tool/Test Probe:

B5LF Wheel Speed Sensor - Left Front

Pin

Wire

Circuit

Function

A

0.5 Gray

830

Wheel Speed Sensor Signal Left Front

B

0.5 Gray-White

7064

Wheel Speed Sensor Control Left Front

Figure 49:

B5LR Wheel Speed Sensor - Left Rear


Object Number: 1527729  Size: CH

Connector Part Information

  • Harness: Body
  • OEM: -
  • Service: -
  • Description: 2-Way Female (-)

Terminal Part Information

  • Terminal/Tray:
  • Core/Insulation Crimp:
  • Release Tool/Test Probe:

B5LR Wheel Speed Sensor - Left Rear

Pin

Wire

Circuit

Function

A

0.5 Blue

884

Wheel Speed Sensor Signal Left Rear

B

0.5 Gray-Black

7127

Wheel Speed Sensor Control Left Rear

Figure 50:

B5RF Wheel Speed Sensor - Right Front


Object Number: 1527729  Size: CH

Connector Part Information

  • Harness: Forward Lamp
  • OEM: -
  • Service: -
  • Description: 2-Way Female (-)

Terminal Part Information

  • Terminal/Tray:
  • Core/Insulation Crimp:
  • Release Tool/Test Probe:

B5RF Wheel Speed Sensor - Right Front

Pin

Wire

Circuit

Function

A

0.5 Yellow

872

Wheel Speed Sensor Signal Right Front

B

0.5 Gray-Brown

7065

Wheel Speed Sensor Control Right Front

Figure 51:

B5RR Wheel Speed Sensor - Right Rear


Object Number: 1527729  Size: CH

Connector Part Information

  • Harness: Body
  • OEM: -
  • Service: -
  • Description: 2-Way Female (-)

Terminal Part Information

  • Terminal/Tray:
  • Core/Insulation Crimp:
  • Release Tool/Test Probe:

B5RR Wheel Speed Sensor - Right Rear

Pin

Wire

Circuit

Function

A

0.5 Violet

882

Wheel Speed Sensor Signal Right Rear

B

0.5 Gray-Yellow

7128

Wheel Speed Sensor Control Right Rear

Figure 52:

B66 Intake Air Temperature Sensor (LDE/LXV/2H0)


Object Number: 646403  Size: CH

Connector Part Information

  • Harness: Engine
  • OEM: -
  • Service: -
  • Description: 2-Way Female (Black/Gray)

Terminal Part Information

  • Terminal/Tray:
  • Core/Insulation Crimp:
  • Release Tool/Test Probe:

B66 Intake Air Temperature Sensor (LDE/LXV/2H0)

Pin

Wire

Circuit

Function

A

0.5 Brown-Violet

472

Intake Air Temperature Sensor Signal

B

0.5 Black-Violet

469

Manifold Absolute Pressure Sensor Low Reference

Figure 53:

B66 Intake Air Temperature Sensor (LXT)


Object Number: 1467003  Size: CH

Connector Part Information

  • Harness: Engine
  • OEM: -
  • Service: -
  • Description: 2-Way Female (Black)

Terminal Part Information

  • Terminal/Tray:
  • Core/Insulation Crimp:
  • Release Tool/Test Probe:

B66 Intake Air Temperature Sensor (LXT)

Pin

Wire

Circuit

Function

1

0.5 Brown-Violet

472

Intake Air Temperature Sensor Signal

2

0.5 Black-Violet

2760

Intake Air Temperature Sensor Low Reference

Figure 54:

B68 Knock Sensor (LXT)


Object Number: 1466993  Size: CH

Connector Part Information

  • Harness: Engine
  • OEM: -
  • Service: -
  • Description: 3-Way Female (Gray)

Terminal Part Information

  • Terminal/Tray:
  • Core/Insulation Crimp:
  • Release Tool/Test Probe:

B68 Knock Sensor (LXT)

Pin

Wire

Circuit

Function

1

0.5 White-Gray

1876

Knock Sensor Signal (2)

2

0.5 Violet-Gray

496

Knock Sensor Signal (1)

Figure 55:

B74 Manifold Absolute Pressure Sensor (LDE/LXV/2H0)


Object Number: 684840  Size: CH

Connector Part Information

  • Harness: Engine
  • OEM: -
  • Service: -
  • Description: 3-Way Female (Gray)

Terminal Part Information

  • Terminal/Tray:
  • Core/Insulation Crimp:
  • Release Tool/Test Probe:

B74 Manifold Absolute Pressure Sensor (LDE/LXV/2H0)

Pin

Wire

Circuit

Function

A

0.5 Black-Green

469

Manifold Absolute Pressure Sensor Low Reference

B

0.5 Green-White

432

Manifold Absolute Pressure Sensor Signal

C

0.5 Gray-Red

2704

Manifold Absolute Pressure Sensor 5 Volt Reference

Figure 56:

B74 Manifold Absolute Pressure Sensor (LXT)


Object Number: 684840  Size: CH

Connector Part Information

  • Harness: Engine
  • OEM: -
  • Service: -
  • Description: 3-Way Female (Gray)

Terminal Part Information

  • Terminal/Tray:
  • Core/Insulation Crimp:
  • Release Tool/Test Probe:

B74 Manifold Absolute Pressure Sensor (LXT)

Pin

Wire

Circuit

Function

A

0.5 Black-Green

469

Manifold Absolute Pressure Sensor Low Reference

B

0.5 Green-White

432

Manifold Absolute Pressure Sensor Signal

C

0.5 Gray-Red

2704

Manifold Absolute Pressure Sensor 5 Volt Reference

Figure 57:

B9 Air Temperature Sensor - Ambient


Object Number: 1243632  Size: CH

Connector Part Information

  • Harness: Forward Lamp
  • OEM: -
  • Service: -
  • Description: 2-Way Female (-)

Terminal Part Information

  • Terminal/Tray:
  • Core/Insulation Crimp:
  • Release Tool/Test Probe:

B9 Air Temperature Sensor - Ambient

Pin

Wire

Circuit

Function

    
    
    
    
Figure 58:

C1 Battery


Object Number: 2173544  Size: CH

Connector Part Information

  • Harness: Body
  • OEM: -
  • Service: -
  • Description: 1-Way (Metal)

Terminal Part Information

  • Terminal/Tray:
  • Core/Insulation Crimp:
  • Release Tool/Test Probe:

C1 Battery

Pin

Wire

Circuit

Function

    
    
    
    
Figure 59:

E13L Headlamp Assembly - Left (SAE)


Object Number: 2173560  Size: CH

Connector Part Information

  • OEM:
  • Service:
  • Description:

Terminal Part Information

  • Terminal/Tray:
  • Core/Insulation Crimp:
  • Release Tool/Test Probe:

E13L Headlamp Assembly - Left (SAE)

Pin

Wire

Circuit

Function

    
    
    
    
Figure 60:

E13R Headlamp Assembly - Right (SAE)


Object Number: 2173560  Size: CH

Connector Part Information

  • OEM:
  • Service:
  • Description:

Terminal Part Information

  • Terminal/Tray:
  • Core/Insulation Crimp:
  • Release Tool/Test Probe:

E13R Headlamp Assembly - Right (SAE)

Pin

Wire

Circuit

Function

    
    
    
    
Figure 61:

E27 Instrument Panel Compartment Lamp


Object Number: 2173586  Size: CH

Connector Part Information

  • Harness: Instrument panel Instrument panel
  • OEM: -
  • Service: -
  • Description: 2-Way Female (-)

Terminal Part Information

  • Terminal/Tray:
  • Core/Insulation Crimp:
  • Release Tool/Test Probe:

E27 Instrument Panel Compartment Lamp

Pin

Wire

Circuit

Function

1

1 White-Brown

6815

Inadvertent Power Control

2

0.5 Black

50

Ground

Figure 62:

E29LF Fog Lamp - Left Front (T96)


Object Number: 1413064  Size: CH

Connector Part Information

  • OEM:
  • Service:
  • Description:

Terminal Part Information

  • Terminal/Tray:
  • Core/Insulation Crimp:
  • Release Tool/Test Probe:

E29LF Fog Lamp - Left Front (T96)

Pin

Wire

Circuit

Function

    
    
    
    
Figure 63:

E29LR Fog Lamp - Left Rear


Object Number: 1413064  Size: CH

Connector Part Information

  • OEM:
  • Service:
  • Description:

Terminal Part Information

  • Terminal/Tray:
  • Core/Insulation Crimp:
  • Release Tool/Test Probe:

E29LR Fog Lamp - Left Rear

Pin

Wire

Circuit

Function

    
    
    
    
Figure 64:

E29RF Fog Lamp - Right Front (T96)


Object Number: 1413064  Size: CH

Connector Part Information

  • OEM:
  • Service:
  • Description:

Terminal Part Information

  • Terminal/Tray:
  • Core/Insulation Crimp:
  • Release Tool/Test Probe:

E29RF Fog Lamp - Right Front (T96)

Pin

Wire

Circuit

Function

    
    
    
    
Figure 65:

E29RR Fog Lamp - Right Rear


Object Number: 2173561  Size: CH

Connector Part Information

  • Harness: Liftgate
  • OEM: -
  • Service: -
  • Description: 2-Way Female (Black)

Terminal Part Information

  • Terminal/Tray:
  • Core/Insulation Crimp:
  • Release Tool/Test Probe:

E29RR Fog Lamp - Right Rear

Pin

Wire

Circuit

Function

A

0.75 Black

50

Ground

Figure 66:

E2LF Side Marker Lamp - Left Front (SAE)


Object Number: 2173561  Size: CH

Connector Part Information

  • OEM:
  • Service:
  • Description:

Terminal Part Information

  • Terminal/Tray:
  • Core/Insulation Crimp:
  • Release Tool/Test Probe:

E2LF Side Marker Lamp - Left Front (SAE)

Pin

Wire

Circuit

Function

    
    
    
    
Figure 67:

E2RF Side Marker Lamp - Right Front (SAE)


Object Number: 2173561  Size: CH

Connector Part Information

  • OEM:
  • Service:
  • Description:

Terminal Part Information

  • Terminal/Tray:
  • Core/Insulation Crimp:
  • Release Tool/Test Probe:

E2RF Side Marker Lamp - Right Front (SAE)

Pin

Wire

Circuit

Function

    
    
    
    
Figure 68:

E40 Electrical Auxiliary Heater X1


Object Number: 872587  Size: CH

Connector Part Information

  • Harness: Instrument panel Instrument panel
  • OEM: -
  • Service: -
  • Description: 4-Way Female (-)

Terminal Part Information

  • Terminal/Tray:
  • Core/Insulation Crimp:
  • Release Tool/Test Probe:

E40 Electrical Auxiliary Heater X1

Pin

Wire

Circuit

Function

1

0.5 Violet

3195

Auxiliary Heater Control

2

0.5 Violet-Green

39

Ignition Voltage

0.5 Violet-Green

239

Ignition Voltage

4

0.5 Yellow-Green

3196

Auxiliary Heater Status Signal

Figure 69:

E40 (X2) Electrical Auxiliary Heater X2


Object Number: 2173568  Size: CH

Connector Part Information

  • OEM:
  • Service:
  • Description:

Terminal Part Information

  • Terminal/Tray:
  • Core/Insulation Crimp:
  • Release Tool/Test Probe:

E40 (X2) Electrical Auxiliary Heater X2

Pin

Wire

Circuit

Function

    
    
    
    
Figure 70:

E41 Engine Coolant Thermostat Heater (LDE/2H0)


Object Number: 1869767  Size: CH

Connector Part Information

  • OEM:
  • Service:
  • Description:

Terminal Part Information

  • Terminal/Tray:
  • Core/Insulation Crimp:
  • Release Tool/Test Probe:

E41 Engine Coolant Thermostat Heater (LDE/2H0)

Pin

Wire

Circuit

Function

    
    
    
    
Figure 71:

E4LF Turn Signal Lamp - Left Front (ECE)


Object Number: 1830934  Size: CH

Connector Part Information

  • OEM:
  • Service:
  • Description:

Terminal Part Information

  • Terminal/Tray:
  • Core/Insulation Crimp:
  • Release Tool/Test Probe:

E4LF Turn Signal Lamp - Left Front (ECE)

Pin

Wire

Circuit

Function

    
    
    
    
Figure 72:

E4N Park/Turn Signal Lamp - Left (DOM)


Object Number: 2173563  Size: CH

Connector Part Information

  • OEM:
  • Service:
  • Description:

Terminal Part Information

  • Terminal/Tray:
  • Core/Insulation Crimp:
  • Release Tool/Test Probe:

E4N Park/Turn Signal Lamp - Left (DOM)

Pin

Wire

Circuit

Function

    
    
    
    
Figure 73:

E4P Park/Turn Signal Lamp - Right (DOM)


Object Number: 2173563  Size: CH

Connector Part Information

  • OEM:
  • Service:
  • Description:

Terminal Part Information

  • Terminal/Tray:
  • Core/Insulation Crimp:
  • Release Tool/Test Probe:

E4P Park/Turn Signal Lamp - Right (DOM)

Pin

Wire

Circuit

Function

    
    
    
    
Figure 74:

E4RF Turn Signal Lamp - Right Front (ECE)


Object Number: 1830934  Size: CH

Connector Part Information

  • OEM:
  • Service:
  • Description:

Terminal Part Information

  • Terminal/Tray:
  • Core/Insulation Crimp:
  • Release Tool/Test Probe:

E4RF Turn Signal Lamp - Right Front (ECE)

Pin

Wire

Circuit

Function

    
    
    
    
Figure 75:

E6 Center High Mounted Stop Lamp


Object Number: 1385747  Size: CH

Connector Part Information

  • Harness: Body
  • OEM: -
  • Service: -
  • Description: 2-Way Female (-)

Terminal Part Information

  • Terminal/Tray:
  • Core/Insulation Crimp:
  • Release Tool/Test Probe:

E6 Center High Mounted Stop Lamp

Pin

Wire

Circuit

Function

A

0.5 Violet-White

5065

Stop Lamp Relay Coil Control

B

0.5 Black

50

Ground

Figure 76:

F105L Roof Rail Air Bag - Left


Object Number: 2173584  Size: CH

Connector Part Information

  • Harness: Cable harness - Curtain airbag
  • OEM: -
  • Service: -
  • Description: 2-Way Female (-)

Terminal Part Information

  • Terminal/Tray:
  • Core/Insulation Crimp:
  • Release Tool/Test Probe:

F105L Roof Rail Air Bag - Left

Pin

Wire

Circuit

Function

1

0.5 Orange-Green

5019

Left Front Head Curtain Module High Control

2

0.5 Violet-Orange

5020

Left Front Head Curtain Module Low Control

Figure 77:

F105R Roof Rail Air Bag - Right


Object Number: 2173584  Size: CH

Connector Part Information

  • Harness: Cable Harness - Curtain Airbag
  • OEM: -
  • Service: -
  • Description: 2-Way Female (-)

Terminal Part Information

  • Terminal/Tray:
  • Core/Insulation Crimp:
  • Release Tool/Test Probe:

F105R Roof Rail Air Bag - Right

Pin

Wire

Circuit

Function

1

0.5 Orange-Gray

5021

Right Front Head Curtain Module High Control

2

0.5 White-Orange

5022

Right Front Head Curtain Module Low Control

Figure 78:

F112D Seat Belt Pretensioner (Retractor) - Driver


Object Number: 2173584  Size: CH

Connector Part Information

  • Harness: Body
  • OEM: -
  • Service: -
  • Description: 2-Way Female (-)

Terminal Part Information

  • Terminal/Tray:
  • Core/Insulation Crimp:
  • Release Tool/Test Probe:

F112D Seat Belt Pretensioner (Retractor) - Driver

Pin

Wire

Circuit

Function

1

0.5 Brown-Orange

2118

Driver Seat Belt Pretensioner High Control

2

0.5 Orange-Yellow

2119

Driver Seat Belt Pretensioner Low Control

Figure 79:

F112P Seat Belt Pretensioner (Retractor) - Passenger


Object Number: 2173584  Size: CH

Connector Part Information

  • Harness: Body
  • OEM: -
  • Service: -
  • Description: 2-Way Female (-)

Terminal Part Information

  • Terminal/Tray:
  • Core/Insulation Crimp:
  • Release Tool/Test Probe:

F112P Seat Belt Pretensioner (Retractor) - Passenger

Pin

Wire

Circuit

Function

1

0.5 Orange-Gray

2116

Passenger Seat Belt Pretensioner High Control

2

0.5 Blue-Orange

2117

Passenger Seat Belt Pretensioner Low Control

Figure 80:

G10 Cooling Fan Motor (-LLW)


Object Number: 2173572  Size: CH

Connector Part Information

  • Harness: Engine Cooling
  • OEM: -
  • Service: -
  • Description: 4-Way Female (-)

Terminal Part Information

  • Terminal/Tray:
  • Core/Insulation Crimp:

G10 Cooling Fan Motor (-LLW)

Pin

Wire

Circuit

Function

1

4 Black

50

Ground

4 Black

50

Ground (LXV LDE 2H0)

4 Black

50

Ground (LXT)

2

2.5 White-Blue

409

Cooling Fan Motor Control (1)

2.5 White-Blue

409

Cooling Fan Motor Control (1) (LXV LDE 2H0)

2.5 White-Blue

409

Cooling Fan Motor Control (1) (LXT)

3

2.5 Gray

532

Cooling Fan Motor Control (2) (FI)

2.5 Gray

532

Cooling Fan Motor Control (2) (LXV LDE 2H0)

2.5 Gray

532

Cooling Fan Motor Control (2) (LXT)

4

4 Yellow

5358

Cooling Fan Motor Control (3) (FI)

4 Yellow

5358

Cooling Fan Motor Control (3) (LXV LDE 2H0)

4 Yellow

5358

Cooling Fan Motor Control (3) (LXT)

Figure 81:

G101 Engine Compartment, Front Left


Object Number: 2173544  Size: CH

Connector Part Information

  • Harness: Forward Lamp
  • OEM: -
  • Service: -
  • Description: 1-Way (Metal)

Terminal Part Information

  • Terminal/Tray:
  • Core/Insulation Crimp:
  • Release Tool/Test Probe:

G101 Engine Compartment, Front Left

Pin

Wire

Circuit

Function

    
    
    
    
Figure 82:

G103 Engine Compartment, Front Left


Object Number: 2173544  Size: CH

Connector Part Information

  • Harness: Forward Lamp
  • OEM: -
  • Service: -
  • Description: 1-Way (Metal)

Terminal Part Information

  • Terminal/Tray:
  • Core/Insulation Crimp:
  • Release Tool/Test Probe:

G103 Engine Compartment, Front Left

Pin

Wire

Circuit

Function

    
    
    
    
Figure 83:

G104 Engine Compartment, Front Right


Object Number: 2173544  Size: CH

Connector Part Information

  • Harness: Forward Lamp
  • OEM: -
  • Service: -
  • Description: 1-Way (Metal)

Terminal Part Information

  • Terminal/Tray:
  • Core/Insulation Crimp:
  • Release Tool/Test Probe:

G104 Engine Compartment, Front Right

Pin

Wire

Circuit

Function

    
    
    
    
Figure 84:

G13 (X1) Generator X1 (LDE/2H0)


Object Number: 1855214  Size: CH

Connector Part Information

  • OEM:
  • Service:
  • Description:

Terminal Part Information

  • Terminal/Tray:
  • Core/Insulation Crimp:
  • Release Tool/Test Probe:

G13 (X1) Generator X1 (LDE/2H0)

Pin

Wire

Circuit

Function

    
    
    
    
Figure 85:

G13 (X2) Generator X2 (LXT)


Object Number: 1855214  Size: CH

Connector Part Information

  • OEM:
  • Service:
  • Description:

Terminal Part Information

  • Terminal/Tray:
  • Core/Insulation Crimp:
  • Release Tool/Test Probe:

G13 (X2) Generator X2 (LXT)

Pin

Wire

Circuit

Function

    
    
    
    
Figure 86:

G13 Generator (LLW)


Object Number: 1855214  Size: CH

Connector Part Information

  • OEM:
  • Service:
  • Description:

Terminal Part Information

  • Terminal/Tray:
  • Core/Insulation Crimp:
  • Release Tool/Test Probe:

G13 Generator (LLW)

Pin

Wire

Circuit

Function

    
    
    
    
Figure 87:

G201 Cross Member, Instrument Panel, Left


Object Number: 2173544  Size: CH

Connector Part Information

  • Harness: Instrument Panel
  • OEM: -
  • Service: -
  • Description: 1-Way (Metal)

Terminal Part Information

  • Terminal/Tray:
  • Core/Insulation Crimp:
  • Release Tool/Test Probe:

G201 Cross Member, Instrument Panel, Left

Pin

Wire

Circuit

Function

    
    
    
    
Figure 88:

G202 Cross Member, Instrument Panel, Behind Radio (Left-Hand Drive)


Object Number: 2173544  Size: CH

Connector Part Information

  • OEM:
  • Service:
  • Description:

Terminal Part Information

  • Terminal/Tray:
  • Core/Insulation Crimp:
  • Release Tool/Test Probe:

G202 Cross Member, Instrument Panel, Behind Radio (Left-Hand Drive)

Pin

Wire

Circuit

Function

    
    
    
    
Figure 89:

G202 Cross Member, Instrument Panel, Bbehind Rradio (Right-Hand Drive)


Object Number: 2173544  Size: CH

Connector Part Information

  • OEM:
  • Service:
  • Description:

Terminal Part Information

  • Terminal/Tray:
  • Core/Insulation Crimp:
  • Release Tool/Test Probe:

G202 Cross Member, Instrument Panel, Bbehind Rradio (Right-Hand Drive)

Pin

Wire

Circuit

Function

    
    
    
    
Figure 90:

G203 Cross Member, Instrument Panel, Behind Radio


Object Number: 2173544  Size: CH

Connector Part Information

  • Harness: Instrument Panel
  • OEM: -
  • Service: -
  • Description: 1-Way (Metal)

Terminal Part Information

  • Terminal/Tray:
  • Core/Insulation Crimp:
  • Release Tool/Test Probe:

G203 Cross Member, Instrument Panel, Behind Radio

Pin

Wire

Circuit

Function

    
    
    
    
Figure 91:

G204 Cross Member, Instrument Panel, Right (Left-Hand Drive)


Object Number: 2173544  Size: CH

Connector Part Information

  • OEM:
  • Service:
  • Description:

Terminal Part Information

  • Terminal/Tray:
  • Core/Insulation Crimp:
  • Release Tool/Test Probe:

G204 Cross Member, Instrument Panel, Right (Left-Hand Drive)

Pin

Wire

Circuit

Function

    
    
    
    
Figure 92:

G204 Cross Member, Instrument Panel, Right (Right-Hand Drive)


Object Number: 2173544  Size: CH

Connector Part Information

  • OEM:
  • Service:
  • Description:

Terminal Part Information

  • Terminal/Tray:
  • Core/Insulation Crimp:
  • Release Tool/Test Probe:

G204 Cross Member, Instrument Panel, Right (Right-Hand Drive)

Pin

Wire

Circuit

Function

    
    
    
    
Figure 93:

G24 Windshield Washer Pump


Object Number: 2173581  Size: CH

Connector Part Information

  • Harness: Forward Lamp
  • OEM: -
  • Service: -
  • Description: 2-Way Female (-)

Terminal Part Information

  • Terminal/Tray:
  • Core/Insulation Crimp:
  • Release Tool/Test Probe:

G24 Windshield Washer Pump

Pin

Wire

Circuit

Function

1

1 Gray-Violet

228

Windshield Washer Pump Control

2

0.5 Black

50

Ground

1 Black

50

Ground

Figure 94:

G305 A - Pillar, Left


Object Number: 2173544  Size: CH

Connector Part Information

  • Harness: Body
  • OEM: -
  • Service: -
  • Description: 1-Way (Metal)

Terminal Part Information

  • Terminal/Tray:
  • Core/Insulation Crimp:
  • Release Tool/Test Probe:

G305 A - Pillar, Left

Pin

Wire

Circuit

Function

    
    
    
    
Figure 95:

G307 Tunnel


Object Number: 2173544  Size: CH

Connector Part Information

  • Harness: Body
  • OEM: -
  • Service: -
  • Description: 1-Way (Metal)

Terminal Part Information

  • Terminal/Tray:
  • Core/Insulation Crimp:
  • Release Tool/Test Probe:

G307 Tunnel

Pin

Wire

Circuit

Function

    
    
    
    
Figure 96:

G308 A - Pillar, Right


Object Number: 2173544  Size: CH

Connector Part Information

  • Harness: Body
  • OEM: -
  • Service: -
  • Description: 1-Way (Metal)

Terminal Part Information

  • Terminal/Tray:
  • Core/Insulation Crimp:
  • Release Tool/Test Probe:

G308 A - Pillar, Right

Pin

Wire

Circuit

Function

    
    
    
    
Figure 97:

G309 Panel Rear, Left


Object Number: 2173544  Size: CH

Connector Part Information

  • Harness: Body
  • OEM: -
  • Service: -
  • Description: 1-Way (Metal)

Terminal Part Information

  • Terminal/Tray:
  • Core/Insulation Crimp:
  • Release Tool/Test Probe:

G309 Panel Rear, Left

Pin

Wire

Circuit

Function

    
    
    
    
Figure 98:

G400 Panel Rear, Right


Object Number: 2173544  Size: CH

Connector Part Information

  • Harness: Body
  • OEM: -
  • Service: -
  • Description: 1-Way (Metal)

Terminal Part Information

  • Terminal/Tray:
  • Core/Insulation Crimp:
  • Release Tool/Test Probe:

G400 Panel Rear, Right

Pin

Wire

Circuit

Function

    
    
    
    
Figure 99:

G401 Panel Rear, Left


Object Number: 2173544  Size: CH

Connector Part Information

  • Harness: Body
  • OEM: -
  • Service: -
  • Description: 1-Way (Metal)

Terminal Part Information

  • Terminal/Tray:
  • Core/Insulation Crimp:
  • Release Tool/Test Probe:

G401 Panel Rear, Left

Pin

Wire

Circuit

Function

    
    
    
    
Figure 100:

G402 Panel Rear, Right


Object Number: 2173544  Size: CH

Connector Part Information

  • Harness: Body
  • OEM: -
  • Service: -
  • Description: 1-Way (Metal)

Terminal Part Information

  • Terminal/Tray:
  • Core/Insulation Crimp:
  • Release Tool/Test Probe:

G402 Panel Rear, Right

Pin

Wire

Circuit

Function

    
    
    
    
Figure 101:

K20 Engine Control Module X1 (LXT)


Object Number: 2174003  Size: CH

Connector Part Information

  • Harness: Engine
  • OEM: -
  • Service: -
  • Description: 73-Way Female (-)

Terminal Part Information

  • Terminal/Tray:
  • Core/Insulation Crimp:
  • Release Tool/Test Probe:

K20 Engine Control Module X1 (LXT)

Pin

Wire

Circuit

Function

1

0.75 Yellow-Violet

406

Ignition Control Timing Control (2)

2

0.5 White-Black

3111

Heated Oxygen Sensor Low Signal Bank 1 Sensor (1)

3

0.5 Black-Brown

2752

Throttle Position Sensor Low Reference (LXT -SAE)

4

0.5 Brown-Red

2701

Throttle Position Sensor 5 Volt Reference (LXT -SAE)

5

0.5 Gray-Red

6109

Clutch Apply Sensor Voltage Reference

6

0.5 Gray-Red

2704

Manifold Absolute Pressure Sensor 5 Volt Reference

9

0.5 Brown-Violet

472

Intake Air Temperature Sensor Signal

10

0.5 Violet-Gray

3110

Heated Oxygen Sensor High Signal Bank 1 Sensor (1)

12

0.5 Violet-Gray

496

Knock Sensor Signal (1)

13

0.5 Gray

23

Generator Field Duty Cycle Signal

14

0.5 Gray-White

3113

Heated Oxygen Sensor Heater Low Control Bank 1 Sensor (1)

15

0.5 White

1456

Exhaust Gas Recirculation Valve Position Signal

17

0.75 White

423

Ignition Control Timing Control (1)

18

0.5 Blue-Red

2702

Exhaust Gas Recirculation 5 Volt Reference (2)

19

0.5 Black-Violet

2760

Intake Air Temperature Sensor Low Reference

20

0.5 Green

573

Crankshaft Sensor Signal (1)

21

0.5 White-Black

1799

Crankshaft Position Sensor High Resolution Signal

22

0.5 Blue-White

5375

Exhaust Gas Recirculation Position Sensor Signal

24

0.5 Black-Brown

2761

Coolant Temperature Sensor Low Reference

26

0.5 Brown-Green

485

Throttle Position Sensor Signal (1) (LXT -SAE)

27

0.5 Green-White

432

Manifold Absolute Pressure Sensor Signal

28

0.5 White-Gray

1876

Knock Sensor Signal (2)

29

0.75 Blue

410

Engine Coolant Temperature Sensor Signal

30

0.5 Brown

25

Charge Indicator Control

34

0.5 Black-Green

469

Manifold Absolute Pressure Sensor Low Reference

35

0.5 Black-Gray

6110

Clutch Apply Sensor Low Reference (LXT LXT OR LLW)

0.5 Black-Gray

6110

Clutch Apply Sensor Low Reference (LXT/LLW)

0.5 Brown

445

Oil Pressure Gauge Signal (LLW LXT)

0.5 Brown-White

6110

Clutch Apply Sensor Low Reference (LXT LDE OR LXV OR 2H0)

37

0.5 Violet-Black

5746

Exhaust Gas Recirculation Valve Motor Low Signal

38

0.5 Yellow

6111

Clutch Apply Sensor Signal

39

0.5 Brown-Blue

486

Throttle Position Sensor Signal (2) (LXT -SAE)

40

0.5 Brown

445

Oil Pressure Gauge Signal (LXT LDE OR LXV OR 2H0)

0.5 Brown

445

Oil Pressure Gauge Signal (LLW LXT)

0.5 Brown

445

Oil Pressure Gauge Signal (LXT LXT)

45

0.5 Violet-White

7060

Fuel Injector ECM/PCM/VCM Control (LXT -SAE)

46

0.5 Green-Black

7061

Fuel Injector ECM/PCM/VCM Control (LXT -SAE)

56

0.5 Yellow-Violet

633

Camshaft Position Sensor Signal

57

0.5 Green-Blue

428

EVAP Canister Purge Solenoid Control

59

0.5 Brown-White

5763

Exhaust Gas Recirculation Valve Sensor Signal

61

0.5 White

560

Throttle Relaxer Motor Control (LXT -SAE)

63

0.5 Yellow-White

1745

Fuel Injector Control (2) (LXT -SAE)

64

0.5 Brown-Violet

1746

Fuel Injector Control (3) (LXT -SAE)

65

0.5 Brown-Violet

1744

Fuel Injector Control (1) (LXT -SAE)

66

0.5 Brown-Yellow

844

Fuel Injector Control (4) (LXT -SAE)

67

0.5 Gray-Black

561

Throttle Relaxer Motor Low Reference (LXT -SAE)

Figure 102:

K33 (X2) HVAC Control Module X2


Object Number: 1715223  Size: CH

Connector Part Information

  • OEM:
  • Service:
  • Description:

Terminal Part Information

  • Terminal/Tray:
  • Core/Insulation Crimp:
  • Release Tool/Test Probe:

K33 (X2) HVAC Control Module X2

Pin

Wire

Circuit

Function

    
    
    
    
Figure 103:

K36 Inflatable Restraint Sensing and Diagnostic Module X2


Object Number: 2173997  Size: CH

Connector Part Information

  • Harness: Body
  • OEM: -
  • Service: -
  • Description: 54-Way Female (-)

Terminal Part Information

  • Terminal/Tray:
  • Core/Insulation Crimp:
  • Release Tool/Test Probe:

K36 Inflatable Restraint Sensing and Diagnostic Module X2

Pin

Wire

Circuit

Function

13

0.5 Orange-Blue

2137

Left Front Side Impact Module High Control

14

0.5 Yellow-Orange

2138

Left Front Side Impact Module Low Control

15

0.5 Green-Orange

2136

Right Front Side Impact Module Low Control

16

0.5 Orange-Yellow

2135

Right Front Side Impact Module High Control

17

0.5 Orange-Green

5019

Left Front Head Curtain Module High Control

18

0.5 Violet-Orange

5020

Left Front Head Curtain Module Low Control

19

0.5 Orange-Green

2132

Left Front Side Impact Sensing Module Signal

20

0.5 Black-Orange

6628

Left Front Side Impact Sensing Module Low Reference

21

0.5 Black-Orange

6629

Right Front Side Impact Sensing Module Low Reference

22

0.5 Brown-Orange

2134

Right Front Side Impact Sensing Module Signal

23

0.5 Orange-Yellow

354

Left Front Discriminating Sensor Signal

24

0.5 Black-Orange

5045

Left Front Discriminating Sensor Low Reference

25

0.5 Black-Orange

5600

Right Front Discriminating Sensor Low Reference

26

0.5 Orange-Green

1409

Right Front Discriminating Sensor Signal

27

0.5 Orange-Blue

6620

Left Middle Side Impact Sensing Module Signal

28

0.5 Black-Orange

6621

Left Middle Side Impact Sensing Module Low Reference

29

0.5 Black-Orange

6625

Right Middle Side Impact Sensing Module Low Reference

30

0.5 Orange-Violet

6624

Right Middle Side Impact Sensing Module Signal

37

0.5 Brown-Orange

2118

Driver Seat Belt Pretensioner High Control

38

0.5 Orange-Yellow

2119

Driver Seat Belt Pretensioner Low Control

39

0.5 Blue-Orange

2117

Passenger Seat Belt Pretensioner Low Control

40

0.5 Orange-Gray

2116

Passenger Seat Belt Pretensioner High Control

41

0.5 Orange-Brown

238

Driver Seat Belt Switch Signal

43

0.5 Black-Orange

1363

Driver Seat Belt Switch Low Reference

44

0.5 Black-Orange

1361

Passenger Seat Belt Switch Low Reference

45

0.5 Orange-Violet

1362

Passenger Seat Belt Switch Signal

47

0.5 Orange-Brown

7571

Passenger Seat Belt Reminder Signal

53

0.5 Orange-Gray

5021

Right Front Head Curtain Module High Control

54

0.5 White-Orange

5022

Right Front Head Curtain Module Low Control

Figure 104:

K36 Inflatable Restraint Sensing and Diagnostic Module X2


Object Number: 2180250  Size: CH

Connector Part Information

  • Harness: Body
  • OEM: --
  • Service: --
  • Description: 54-Way Female (-)

Terminal Part Information

  • Terminal/Tray:
  • Core/Insulation Crimp:
  • Release Tool/Test Probe:

K36 Inflatable Restraint Sensing and Diagnostic Module X2

Pin

Wire

Circuit

Function

13

0.5 Orange-Blue

2137

Left Front Side Impact Module High Control

14

0.5 Yellow-Orange

2138

Left Front Side Impact Module Low Control

15

0.5 Green-Orange

2136

Right Front Side Impact Module Low Control

16

0.5 Orange-Yellow

2135

Right Front Side Impact Module High Control

17

0.5 Orange-Green

5019

Left Front Head Curtain Module High Control

18

0.5 Violet-Orange

5020

Left Front Head Curtain Module Low Control

19

0.5 Orange-Green

2132

Left Front Side Impact Sensing Module Signal

20

0.5 Black-Orange

6628

Left Front Side Impact Sensing Module Low Reference

21

0.5 Black-Orange

6629

Right Front Side Impact Sensing Module Low Reference

22

0.5 Brown-Orange

2134

Right Front Side Impact Sensing Module Signal

23

0.5 Orange-Yellow

354

Left Front Discriminating Sensor Signal

24

0.5 Black-Orange

5045

Left Front Discriminating Sensor Low Reference

25

0.5 Black-Orange

5600

Right Front Discriminating Sensor Low Reference

26

0.5 Orange-Green

1409

Right Front Discriminating Sensor Signal

27

0.5 Orange-Blue

6620

Left Middle Side Impact Sensing Module Signal

28

0.5 Black-Orange

6621

Left Middle Side Impact Sensing Module Low Reference

29

0.5 Black-Orange

6625

Right Middle Side Impact Sensing Module Low Reference

30

0.5 Orange-Violet

6624

Right Middle Side Impact Sensing Module Signal

37

0.5 Brown-Orange

2118

Driver Seat Belt Pretensioner High Control

38

0.5 Orange-Yellow

2119

Driver Seat Belt Pretensioner Low Control

39

0.5 Blue-Orange

2117

Passenger Seat Belt Pretensioner Low Control

40

0.5 Orange-Gray

2116

Passenger Seat Belt Pretensioner High Control

41

0.5 Orange-Brown

238

Driver Seat Belt Switch Signal

43

0.5 Black-Orange

1363

Driver Seat Belt Switch Low Reference

44

0.5 Black-Orange

1361

Passenger Seat Belt Switch Low Reference

45

0.5 Orange-Violet

1362

Passenger Seat Belt Switch Signal

47

0.5 Orange-Brown

7571

Passenger Seat Belt Reminder Signal

53

0.5 Orange-Gray

5021

Right Front Head Curtain Module High Control

54

0.5 White-Orange

5022

Right Front Head Curtain Module Low Control

Figure 105:

K38 Ultrasonic Intrusion Sensor Module


Object Number: 2173602  Size: CH

Connector Part Information

  • OEM:
  • Service:
  • Description:

Terminal Part Information

  • Terminal/Tray:
  • Core/Insulation Crimp:
  • Release Tool/Test Probe:

K38 Ultrasonic Intrusion Sensor Module

Pin

Wire

Circuit

Function

    
    
    
    
Figure 106:

K41 (X1) Parking Assist Control Module X1


Object Number: 1538770  Size: CH

Connector Part Information

  • OEM:
  • Service:
  • Description:

Terminal Part Information

  • Terminal/Tray:
  • Core/Insulation Crimp:
  • Release Tool/Test Probe:

K41 (X1) Parking Assist Control Module X1

Pin

Wire

Circuit

Function

    
    
    
    
Figure 107:

K41 Parking Assist Control Module X2


Object Number: 1716517  Size: CH

Connector Part Information

  • Harness: Body
  • OEM: -
  • Service: -
  • Description: 8-Way Female (Gray/White)

Terminal Part Information

  • Terminal/Tray:
  • Core/Insulation Crimp:
  • Release Tool/Test Probe:

K41 Parking Assist Control Module X2

Pin

Wire color

Circuit

Function

1

0.5 Yellow-Violet

2378

Right Rear Corner Object Sensor Signal

2

0.5 Yellow-White

2377

Right Rear Middle Object Sensor Signal

3

0.5 Yellow-Blue

2376

Left Rear Middle Object Sensor Signal

4

0.5 Brown-White

2374

Object Sensor Control

5

0.5 Yellow

2375

Left Rear Corner Object Sensor Signal

8

0.5 Black-Gray

2379

Object Sensor Low Reference

Figure 108:

K60 Steering Column Lock Control Module


Object Number: 2173871  Size: CH

Connector Part Information

  • OEM:
  • Service:
  • Description:

Terminal Part Information

  • Terminal/Tray:
  • Core/Insulation Crimp:
  • Release Tool/Test Probe:

K60 Steering Column Lock Control Module

Pin

Wire

Circuit

Function

    
    
    
    
Figure 109:

K61 Sunroof Control Module


Object Number: 2173946  Size: CH

Connector Part Information

  • OEM:
  • Service:
  • Description:

Terminal Part Information

  • Terminal/Tray:
  • Core/Insulation Crimp:
  • Release Tool/Test Probe:

K61 Sunroof Control Module

Pin

Wire

Circuit

Function

    
    
    
    
Figure 110:

K77 (X2) Remote Control Door Lock Receiver X2


Object Number: 1798802  Size: CH

Connector Part Information

  • OEM:
  • Service:
  • Description:

Terminal Part Information

  • Terminal/Tray:
  • Core/Insulation Crimp:
  • Release Tool/Test Probe:

K77 (X2) Remote Control Door Lock Receiver X2

Pin

Wire

Circuit

Function

    
    
    
    
Figure 111:

K77 (X3) Remote Control Door Lock Receiver X3


Object Number: 1733159  Size: CH

Connector Part Information

  • OEM:
  • Service:
  • Description:

Terminal Part Information

  • Terminal/Tray:
  • Core/Insulation Crimp:
  • Release Tool/Test Probe:

K77 (X3) Remote Control Door Lock Receiver X3

Pin

Wire

Circuit

Function

    
    
    
    
Figure 112:

K77 (X4) Remote Control Door Lock Receiver X4


Object Number: 1715228  Size: CH

Connector Part Information

  • OEM:
  • Service:
  • Description:

Terminal Part Information

  • Terminal/Tray:
  • Core/Insulation Crimp:
  • Release Tool/Test Probe:

K77 (X4) Remote Control Door Lock Receiver X4

Pin

Wire

Circuit

Function

    
    
    
    
Figure 113:

K84 Remote Function Receiver Module


Object Number: 872587  Size: CH

Connector Part Information

  • Harness: Cable harness - Roof
  • OEM: -
  • Service: -
  • Description: 4-Way Female (-)

Terminal Part Information

  • Terminal/Tray:
  • Core/Insulation Crimp:
  • Release Tool/Test Probe:

K84 Remote Function Receiver Module

Pin

Wire

Circuit

Function

1

0.5 Gray

3273

Remote Function Actuator Return

2

0.5 Blue-White

3275

Remote Function Actuator Receive Signal

3

0.5 Yellow-Green

3274

Remote Function Actuator Transmit Signal

4

0.5 Gray-White

3272

Remote Function Actuator Supply Voltage

Figure 114:

M27 Fuel Door Unlatch Actuator


Object Number: 2039635  Size: CH

Connector Part Information

  • Harness: Body
  • OEM: -
  • Service: -
  • Description: 2-Way Female (-)

Terminal Part Information

  • Terminal/Tray:
  • Core/Insulation Crimp:
  • Release Tool/Test Probe:

M27 Fuel Door Unlatch Actuator

Pin

Wire

Circuit

Function

1

0.75 Gray

295

Door Lock Actuator Lock Control ( AF8-SAE)

0.75 Brown-Yellow

294

Door Lock Actuator Unlock Control ( -AF8)

2

0.75 Brown-Yellow

294

Door Lock Actuator Unlock Control ( AF8-SAE)

0.75 Gray

295

Door Lock Actuator Lock Control ( -AF8)

Figure 115:

M72 Variable Power Steering Solenoid Valve


Object Number: 1898384  Size: CH

Connector Part Information

  • Harness: Power Steering
  • OEM: -
  • Service: -
  • Description: 2-Way Female (-)

Terminal Part Information

  • Terminal/Tray:
  • Core/Insulation Crimp:
  • Release Tool/Test Probe:

M72 Variable Power Steering Solenoid Valve

Pin

Wire

Circuit

Function

1

0.5 Brown-Green

1295

Variable Effort Steering Solenoid Control

2

0.5 Black-Yellow

6641

Variable Effort Steering Solenoid Low Reference

Figure 116:

M74D Window Motor - Driver (AXG)


Object Number: 2173867  Size: CH

Connector Part Information

  • OEM:
  • Service:
  • Description:

Terminal Part Information

  • Terminal/Tray:
  • Core/Insulation Crimp:
  • Release Tool/Test Probe:

M74D Window Motor - Driver (AXG)

Pin

Wire

Circuit

Function

    
    
    
    
Figure 117:

M75 Windshield Wiper Motor


Object Number: 684908  Size: CH

Connector Part Information

  • OEM:
  • Service:
  • Description:

Terminal Part Information

  • Terminal/Tray:
  • Core/Insulation Crimp:
  • Release Tool/Test Probe:

M75 Windshield Wiper Motor

Pin

Wire

Circuit

Function

    
    
    
    
Figure 118:

M92 Key Capture Solenoid (w/o ATH+AT)


Object Number: 2173598  Size: CH

Connector Part Information

  • OEM:
  • Service:
  • Description:

Terminal Part Information

  • Terminal/Tray:
  • Core/Insulation Crimp:
  • Release Tool/Test Probe:

M92 Key Capture Solenoid (w/o ATH+AT)

Pin

Wire

Circuit

Function

    
    
    
    
Figure 119:

P14 Passenger Air Bag Disable Indicator


Object Number: 2173864  Size: CH

Connector Part Information

  • Harness: Instrument Panel
  • OEM: -
  • Service: -
  • Description: 6-Way Female (-)

Terminal Part Information

  • Terminal/Tray:
  • Core/Insulation Crimp:
  • Release Tool/Test Probe:

P14 Passenger Air Bag Disable Indicator

Pin

Wire

Circuit

Function

1

0.5 Yellow

6817

LED Backlight Dimming Control

2

0.35 Blue

2307

Passenger Air Bag On Indicator Control

3

0.5 Black

50

Ground

4

0.5 Black

50

Ground

5

0.35 Green

2308

Passenger Air Bag Off Indicator Control

6

0.35 Violet-White

5234

Passenger Seat Belt Indicator

Figure 120:

P17 Radio/HVAC Display


Object Number: 2173863  Size: CH

Connector Part Information

  • Harness: Instrument Panel
  • OEM: -
  • Service: -
  • Description: 6-Way Female (-)

Terminal Part Information

  • Terminal/Tray:
  • Core/Insulation Crimp:
  • Release Tool/Test Probe:

P17 Radio/HVAC Display

Pin

Wire

Circuit

Function

1

0.5 Green-Yellow

7531

Linear Interconnect Network Bus 9

2

0.75 Black

50

Ground

3

0.75 Red-Yellow

40

Battery Positive Voltage

0.75 Red-Yellow

240

Battery Positive Voltage

Figure 121:

P19A Speaker - Center Console


Object Number: 2173599  Size: CH

Connector Part Information

  • OEM:
  • Service:
  • Description:

Terminal Part Information

  • Terminal/Tray:
  • Core/Insulation Crimp:
  • Release Tool/Test Probe:

P19A Speaker - Center Console

Pin

Wire

Circuit

Function

    
    
    
    
Figure 122:

P19H Speaker - Left Front Tweeter


Object Number: 2173598  Size: CH

Connector Part Information

  • Harness: Cable harness - Roof
  • OEM: -
  • Service: -
  • Description: 2-Way Female (-)

Terminal Part Information

  • Pins:
  • Terminated Lead: Service by Connector Assembly
  • Release Tool: J-38125-215A
  • Diagnostic Test Probe: J-35616-64B (L-BU)

P19H Speaker - Left Front Tweeter

Pin

Wire

Circuit

Function

1

0.75 Brown-Blue

118

Left Front Speaker Signal (-) (1) (LHD UQG)

0.75 Brown-Blue

118

Left Front Speaker Signal (-) (1) (RHD UQG)

0.75 Brown-Blue

118

Left Front Speaker Signal (-) (1) (RHD UQG)

0.75 Blue

201

Left Front Speaker (+) (1) (LHD UQG)

2

0.75 Brown-Blue

118

Left Front Speaker Signal (-) (1) (LHD UQG)

0.75 Blue

201

Left Front Speaker (+) (1) (RHD UQG)

0.75 Blue

201

Left Front Speaker (+) (1) (RHD UQG)

0.75 Blue

201

Left Front Speaker (+) (1) (LHD UQG)

Figure 123:

P19V Speaker - Right Front Tweeter


Object Number: 2173598  Size: CH

Connector Part Information

  • Harness: Cable harness - Roof
  • OEM: -
  • Service: -
  • Description: 2-Way Female (-)

Terminal Part Information

  • Pins:
  • Terminated Lead: Service by Connector Assembly
  • Release Tool: J-38125-215A
  • Diagnostic Test Probe: J-35616-64B (L-BU)

P19V Speaker - Right Front Tweeter

Pin

Wire

Circuit

Function

1

0.75 Yellow

200

Right Front Speaker (+) (1) (LHD UQG)

0.75 Yellow-Black

117

Right Front Speaker Signal (-) (1) (LHD UQG)

0.75 Yellow-Black

117

Right Front Speaker Signal (-) (1) (RHD UQG)

0.75 Yellow-Black

117

Right Front Speaker Signal (-) (1) (RHD UQG)

2

0.75 Yellow-Black

117

Right Front Speaker Signal (-) (1) (LHD UQG)

0.75 Yellow

200

Right Front Speaker (+) (1) (LHD UQG)

0.75 Yellow

200

Right Front Speaker (+) (1) (RHD UQG)

0.75 Yellow

200

Right Front Speaker (+) (1) (RHD UQG)

Figure 124:

P2 Automatic Transmission Shift Lever Position Indicator


Object Number: 1385747  Size: CH

Connector Part Information

  • OEM:
  • Service:
  • Description:

Terminal Part Information

  • Terminal/Tray:
  • Core/Insulation Crimp:
  • Release Tool/Test Probe:

P2 Automatic Transmission Shift Lever Position Indicator

Pin

Wire

Circuit

Function

    
    
    
    
Figure 125:

P25 Power Sounder


Object Number: 2173574  Size: CH

Connector Part Information

  • OEM:
  • Service:
  • Description:

Terminal Part Information

  • Terminal/Tray:
  • Core/Insulation Crimp:
  • Release Tool/Test Probe:

P25 Power Sounder

Pin

Wire

Circuit

Function

    
    
    
    
Figure 126:

P6 (X1) Clock X1


Object Number: 1716517  Size: CH

Connector Part Information

  • OEM:
  • Service:
  • Description:

Terminal Part Information

  • Terminal/Tray:
  • Core/Insulation Crimp:
  • Release Tool/Test Probe:

P6 (X1) Clock X1

Pin

Wire

Circuit

Function

    
    
    
    
Figure 127:

P9 Driver Information Center Display


Object Number: 1716517  Size: CH

Connector Part Information

  • OEM:
  • Service:
  • Description:

Terminal Part Information

  • Terminal/Tray:
  • Core/Insulation Crimp:
  • Release Tool/Test Probe:

P9 Driver Information Center Display

Pin

Wire

Circuit

Function

    
    
    
    
Figure 128:

Q12 Evaporative Emission (EVAP) Purge Solenoid Valve (LXT)


Object Number: 1331450  Size: CH

Connector Part Information

  • OEM:
  • Service:
  • Description:

Terminal Part Information

  • Terminal/Tray:
  • Core/Insulation Crimp:
  • Release Tool/Test Probe:

Q12 Evaporative Emission (EVAP) Purge Solenoid Valve (LXT)

Pin

Wire

Circuit

Function

    
    
    
    
Figure 129:

Q12 Evaporative Emission (EVAP) Purge Solenoid Valve (LXT)


Object Number: 1467003  Size: CH

Connector Part Information

  • OEM:
  • Service:
  • Description:

Terminal Part Information

  • Terminal/Tray:
  • Core/Insulation Crimp:
  • Release Tool/Test Probe:

Q12 Evaporative Emission (EVAP) Purge Solenoid Valve (LXT)

Pin

Wire

Circuit

Function

    
    
    
    
Figure 130:

Q14 Exhaust Gas Recirculation (EGR) Valve (LLW)


Object Number: 1405759  Size: CH

Connector Part Information

  • OEM:
  • Service:
  • Description:

Terminal Part Information

  • Terminal/Tray:
  • Core/Insulation Crimp:
  • Release Tool/Test Probe:

Q14 Exhaust Gas Recirculation (EGR) Valve (LLW)

Pin

Wire

Circuit

Function

    
    
    
    
Figure 131:

Q17A Fuel Injector 1 (LLW)


Object Number: 784092  Size: CH

Connector Part Information

  • Harness: Engine
  • OEM: -
  • Service: -
  • Description: 2-Way Female (Black)

Terminal Part Information

  • Terminal/Tray:
  • Core/Insulation Crimp:
  • Release Tool/Test Probe:

Q17A Fuel Injector 1 (LLW)

Pin

Wire

Circuit

Function

1

1.5 Blue-White

5421

Fuel Injector Control (1) (LLW -SAE)

2

1.5 Brown-Violet

1744

Fuel Injector Control (1) (LLW -SAE)

Figure 132:

Q17B Fuel Injector 2 (LLW)


Object Number: 784092  Size: CH

Connector Part Information

  • Harness: Engine
  • OEM: -
  • Service: -
  • Description: 2-Way Female (Black)

Terminal Part Information

  • Terminal/Tray:
  • Core/Insulation Crimp:
  • Release Tool/Test Probe:

Q17B Fuel Injector 2 (LLW)

Pin

Wire

Circuit

Function

1

1.5 Blue-Yellow

5422

Fuel Injector Control (2) (LLW -SAE)

2

1.5 Yellow-White

1745

Fuel Injector Control (2) (LLW -SAE)

Figure 133:

Q17C Fuel Injector 3 (LLW)


Object Number: 784092  Size: CH

Connector Part Information

  • Harness: Engine
  • OEM: -
  • Service: -
  • Description: 2-Way Female (Black)

Terminal Part Information

  • Terminal/Tray:
  • Core/Insulation Crimp:
  • Release Tool/Test Probe:

Q17C Fuel Injector 3 (LLW)

Pin

Wire

Circuit

Function

1

1.5 Blue-Green

5423

Fuel Injector Control (3) (LLW -SAE)

2

1.5 Brown-Violet

1746

Fuel Injector Control (3) (LLW -SAE)

Figure 134:

Q17D Fuel Injector 4 (LLW)


Object Number: 784092  Size: CH

Connector Part Information

  • Harness: Engine
  • OEM: -
  • Service: -
  • Description: 2-Way Female (Black)

Terminal Part Information

  • Terminal/Tray:
  • Core/Insulation Crimp:
  • Release Tool/Test Probe:

Q17D Fuel Injector 4 (LLW)

Pin

Wire

Circuit

Function

1

1.5 Blue-Gray

5425

Fuel Injector Control (4) (LLW -SAE)

2

1.5 Brown-Yellow

844

Fuel Injector Control (4) (LLW -SAE)

Figure 135:

Q18 Fuel Pressure Regulator (LLW)


Object Number: 784092  Size: CH

Connector Part Information

  • OEM:
  • Service:
  • Description:

Terminal Part Information

  • Terminal/Tray:
  • Core/Insulation Crimp:
  • Release Tool/Test Probe:

Q18 Fuel Pressure Regulator (LLW)

Pin

Wire

Circuit

Function

    
    
    
    
Figure 136:

Q2 A/C Compressor Clutch (LLW)


Object Number: 1334534  Size: CH

Connector Part Information

  • OEM:
  • Service:
  • Description:

Terminal Part Information

  • Terminal/Tray:
  • Core/Insulation Crimp:
  • Release Tool/Test Probe:

Q2 A/C Compressor Clutch (LLW)

Pin

Wire

Circuit

Function

    
    
    
    
Figure 137:

Q2 A/C Compressor Clutch (LXT)


Object Number: 1334534  Size: CH

Connector Part Information

  • OEM:
  • Service:
  • Description:

Terminal Part Information

  • Terminal/Tray:
  • Core/Insulation Crimp:
  • Release Tool/Test Probe:

Q2 A/C Compressor Clutch (LXT)

Pin

Wire

Circuit

Function

    
    
    
    
Figure 138:

Q22 Intake Manifold Tuning Solenoid Valve (LXT)


Object Number: 1963826  Size: CH

Connector Part Information

  • OEM:
  • Service:
  • Description:

Terminal Part Information

  • Terminal/Tray:
  • Core/Insulation Crimp:
  • Release Tool/Test Probe:

Q22 Intake Manifold Tuning Solenoid Valve (LXT)

Pin

Wire

Circuit

Function

    
    
    
    
Figure 139:

Q38 Throttle Body (LDE/2H0)


Object Number: 1835098  Size: CH

Connector Part Information

  • OEM:
  • Service:
  • Description:

Terminal Part Information

  • Terminal/Tray:
  • Core/Insulation Crimp:
  • Release Tool/Test Probe:

Q38 Throttle Body (LDE/2H0)

Pin

Wire

Circuit

Function

    
    
    
    
Figure 140:

Q38 Throttle Body (LLW)


Object Number: 1835110  Size: CH

Connector Part Information

  • OEM:
  • Service:
  • Description:

Terminal Part Information

  • Terminal/Tray:
  • Core/Insulation Crimp:
  • Release Tool/Test Probe:

Q38 Throttle Body (LLW)

Pin

Wire

Circuit

Function

    
    
    
    
Figure 141:

Q38 Throttle Body (LXT)


Object Number: 1664617  Size: CH

Connector Part Information

  • Harness: Engine
  • OEM: -
  • Service: -
  • Description: 6-Way Female (Black/Gray)

Terminal Part Information

  • Terminal/Tray:
  • Core/Insulation Crimp:
  • Release Tool/Test Probe:

Q38 Throttle Body (LXT)

Pin

Wire

Circuit

Function

A

0.5 White

560

Throttle Relaxer Motor Control (LXT -SAE)

B

0.5 Gray-Black

561

Throttle Relaxer Motor Low Reference (LXT -SAE)

C

0.5 Black-Brown

2752

Throttle Position Sensor Low Reference (LXT -SAE)

D

0.5 Brown-Green

485

Throttle Position Sensor Signal (1) (LXT -SAE)

E

0.5 Brown-Red

2701

Throttle Position Sensor 5 Volt Reference (LXT -SAE)

F

0.5 Brown-Blue

486

Throttle Position Sensor Signal (2) (LXT -SAE)

Figure 142:

Q6E Camshaft Position Actuator Solenoid Valve - Exhaust (LDE/2H0)


Object Number: 2173571  Size: CH

Connector Part Information

  • OEM:
  • Service:
  • Description:

Terminal Part Information

  • Terminal/Tray:
  • Core/Insulation Crimp:
  • Release Tool/Test Probe:

Q6E Camshaft Position Actuator Solenoid Valve - Exhaust (LDE/2H0)

Pin

Wire

Circuit

Function

    
    
    
    
Figure 143:

Q6F Camshaft Position Actuator Solenoid Valve - Intake (LDE/2H0)


Object Number: 2173571  Size: CH

Connector Part Information

  • OEM:
  • Service:
  • Description:

Terminal Part Information

  • Terminal/Tray:
  • Core/Insulation Crimp:
  • Release Tool/Test Probe:

Q6F Camshaft Position Actuator Solenoid Valve - Intake (LDE/2H0)

Pin

Wire

Circuit

Function

    
    
    
    
Figure 144:

S13D Door Lock Switch - Driver


Object Number: 2173569  Size: CH

Connector Part Information

  • Harness: Instrument panel Instrument panel
  • OEM: -
  • Service: -
  • Description: 4-Way Female (-)

Terminal Part Information

  • Terminal/Tray:
  • Core/Insulation Crimp:
  • Release Tool/Test Probe:

S13D Door Lock Switch - Driver

Pin

Wire

Circuit

Function

1

0.5 Black

50

Ground

0.75 Black

50

Ground

2

0.5 Yellow

6817

LED Backlight Dimming Control

3

0.5 Brown-White

781

Driver Door Lock Switch Unlock Signal

4

0.5 Brown-Yellow

780

Driver Door Lock Switch Lock Signal

Figure 145:

S26 Hazard Lamps Switch


Object Number: 2173567  Size: CH

Connector Part Information

  • Harness: Instrument panel Instrument panel
  • OEM: -
  • Service: -
  • Description: 4-Way (-)

Terminal Part Information

  • Terminal/Tray:
  • Core/Insulation Crimp:
  • Release Tool/Test Probe:

S26 Hazard Lamps Switch

Pin

Wire

Circuit

Function

1

0.35 Green-White

111

Hazard Switch Signal

2

0.35 Blue-Violet

1717

Hazard Switch Turn Flasher Control

3

0.5 Black

50

Ground

Figure 146:

S3 Automatic Transmission Shift Lever


Object Number: 1862240  Size: CH

Connector Part Information

  • OEM:
  • Service:
  • Description:

Terminal Part Information

  • Terminal/Tray:
  • Core/Insulation Crimp:
  • Release Tool/Test Probe:

S3 Automatic Transmission Shift Lever

Pin

Wire

Circuit

Function

    
    
    
    
Figure 147:

S30 Headlamp Switch


Object Number: 1538770  Size: CH

Connector Part Information

  • Harness: Instrument panel Instrument panel
  • OEM: -
  • Service: -
  • Description: 12-Way Female (-)

Terminal Part Information

  • Terminal/Tray:
  • Core/Insulation Crimp:
  • Release Tool/Test Probe:

S30 Headlamp Switch

Pin

Wire

Circuit

Function

1

0.5 Yellow

7556

Lighting Control Switch Reference

3

0.35 Green-Gray

13

Headlamp Switch Park Lamp Signal

4

0.35 White-Violet

103

Headlamp Switch On Signal

5

0.35 Green-Brown

306

Headlamp Switch Headlamps Off Signal Control

6

0.5 Black

50

Ground

7

0.5 Yellow

6817

LED Backlight Dimming Control

9

- -

-

-

0.5 Brown-Yellow

239

Ignition Voltage

10

0.5 Brown-Yellow

189

Headlamp Leveling Motor Control

12

0.5 White-Brown

7555

Lighting Control Switch Signal

Figure 148:

S43 Ultrasonic Intrusion Sensor Disable Switch


Object Number: 2173576  Size: CH

Connector Part Information

  • OEM:
  • Service:
  • Description:

Terminal Part Information

  • Terminal/Tray:
  • Core/Insulation Crimp:
  • Release Tool/Test Probe:

S43 Ultrasonic Intrusion Sensor Disable Switch

Pin

Wire

Circuit

Function

    
    
    
    
Figure 149:

S52 Mirror Switch


Object Number: 1710983  Size: CH

Connector Part Information

  • OEM:
  • Service:
  • Description:

Terminal Part Information

  • Terminal/Tray:
  • Core/Insulation Crimp:
  • Release Tool/Test Probe:

S52 Mirror Switch

Pin

Wire

Circuit

Function

    
    
    
    
Figure 150:

S79D Window Switch - Driver (AEC)


Object Number: 1653389  Size: CH

Connector Part Information

  • OEM:
  • Service:
  • Description:

Terminal Part Information

  • Terminal/Tray:
  • Core/Insulation Crimp:
  • Release Tool/Test Probe:

S79D Window Switch - Driver (AEC)

Pin

Wire

Circuit

Function

    
    
    
    
Figure 151:

S79LR Window Switch - Left Rear


Object Number: 1653389  Size: CH

Connector Part Information

  • OEM:
  • Service:
  • Description:

Terminal Part Information

  • Terminal/Tray:
  • Core/Insulation Crimp:
  • Release Tool/Test Probe:

S79LR Window Switch - Left Rear

Pin

Wire

Circuit

Function

    
    
    
    
Figure 152:

S79P Window Switch - Passenger


Object Number: 1653389  Size: CH

Connector Part Information

  • OEM:
  • Service:
  • Description:

Terminal Part Information

  • Terminal/Tray:
  • Core/Insulation Crimp:
  • Release Tool/Test Probe:

S79P Window Switch - Passenger

Pin

Wire

Circuit

Function

    
    
    
    
Figure 153:

S79RR Window Switch - Right Rear


Object Number: 1653389  Size: CH

Connector Part Information

  • OEM:
  • Service:
  • Description:

Terminal Part Information

  • Terminal/Tray:
  • Core/Insulation Crimp:
  • Release Tool/Test Probe:

S79RR Window Switch - Right Rear

Pin

Wire

Circuit

Function

    
    
    
    
Figure 154:

S88 Sunroof Ventilation Switch


Object Number: 2173576  Size: CH

Connector Part Information

  • Harness: Cable harness - Roof
  • OEM: -
  • Service: -
  • Description: 4-Way Female (-)

Terminal Part Information

  • Terminal/Tray:
  • Core/Insulation Crimp:
  • Release Tool/Test Probe:

S88 Sunroof Ventilation Switch

Pin

Wire

Circuit

Function

1

0.5 Black-Brown

128

Sunroof Switch Low Reference

2

0.5 Yellow

6817

LED Backlight Dimming Control

3

0.5 Black

50

Ground

4

0.5 White-Green

3031

Sunroof Vent Switch Signal

Figure 155:

T10E Keyless Entry Antenna - Rear Compartment


Object Number: 872587  Size: CH

Connector Part Information

  • Harness: Body
  • OEM: -
  • Service: -
  • Description: 4-Way Female (-)

Terminal Part Information

  • Terminal/Tray:
  • Core/Insulation Crimp:
  • Release Tool/Test Probe:

T10E Keyless Entry Antenna - Rear Compartment

Pin

Wire

Circuit

Function

1

0.5 White-Green

3556

Passive Start Interior Antenna 3 Signal Hi

2

0.5 Green

3557

Passive Start Interior Antenna 3 Signal Lo

Figure 156:

T3 Audio Amplifier X2


Object Number: 1566781  Size: CH

Connector Part Information

  • Harness: Body
  • OEM: -
  • Service: -
  • Description: 16-Way Female (-)

Terminal Part Information

  • Pins:
  • Terminated Lead:
  • Release Tool: 15315247
  • Diagnostic Test Probe: J-35616-2A

T3 Audio Amplifier X2

Pin

Wire

Circuit

Function

1

0.75 Yellow-White

1860

Front Center Speaker (+) (UQG)

2

0.75 Blue

201

Left Front Speaker (+) (1) (LHD UQG)

0.75 Blue

201

Left Front Speaker (+) (1) (RHD UQG)

3

0.75 Green

199

Left Rear Speaker (+) (LHD UQG)

0.75 Green

199

Left Rear Speaker (+) (RHD UQG)

4

1 Blue-Gray

346

Left/Rear Subwoofer Speaker (+) (UQG)

6

0.75 Yellow

200

Right Front Speaker (+) (1) (LHD UQG)

0.75 Yellow

200

Right Front Speaker (+) (1) (RHD UQG)

7

0.75 White

46

Right Rear Speaker (+) (LHD UQG)

0.75 White

46

Right Rear Speaker (+) (RHD UQG)

8

1 Green-Violet

1795

Right Subwoofer Speaker (+) (UQG)

9

0.75 Blue-Yellow

1960

Front Center Speaker (-) (UQG)

10

0.75 Brown-Blue

118

Left Front Speaker Signal (-) (1) (LHD UQG)

0.75 Brown-Blue

118

Left Front Speaker Signal (-) (1) (RHD UQG)

11

0.75 Green-Black

116

Left Rear Speaker Signal (-) (LHD UQG)

0.75 Green-Black

116

Left Rear Speaker Signal (-) (RHD UQG)

12

1 Green-Black

1794

Left/Rear Subwoofer Speaker (-) (UQG)

14

0.75 Yellow-Black

117

Right Front Speaker Signal (-) (1) (LHD UQG)

0.75 Yellow-Black

117

Right Front Speaker Signal (-) (1) (RHD UQG)

15

0.75 Blue-Black

115

Right Rear Speaker Signal (-) (LHD UQG)

0.75 Blue-Black

115

Right Rear Speaker Signal (-) (RHD UQG)

16

1 Gray-Black

315

Right Subwoofer Speaker (-) (UQG)

Figure 157:

T3 Audio Amplifier X3


Object Number: 850856  Size: CH

Connector Part Information

  • Harness: Body
  • OEM: -
  • Service: -
  • Description: 16-Way Female (Black)

Terminal Part Information

  • Terminal/Tray:
  • Core/Insulation Crimp:
  • Release Tool/Test Probe:

T3 Audio Amplifier X3

Pin

Wire

Circuit

Function

1

0.35 Blue

511

Left Front Low Level Audio Signal

2

0.35 Yellow

512

Right Front Low Level Audio Signal

3

0.35 Green-Black

599

Left Rear Low Level Audio Signal

4

0.35 Brown-White

546

Right Rear Low Level Audio Signal

9

0.35 Brown-Blue

1947

Left Front Low Level Audio (-)

10

0.35 Blue-Brown

1546

Front Low Level Audio (-)

11

0.35 Brown-Violet

1999

Left Rear Low Level Audio (-)

12

0.35 Blue-Black

1946

Right Rear Low Level Audio (-)

Figure 158:

T8 Ignition Coil (LXT)


Object Number: 516611  Size: CH

Connector Part Information

  • OEM:
  • Service:
  • Description:

Terminal Part Information

  • Terminal/Tray:
  • Core/Insulation Crimp:
  • Release Tool/Test Probe:

T8 Ignition Coil (LXT)

Pin

Wire

Circuit

Function