GM Service Manual Online
For 1990-2009 cars only

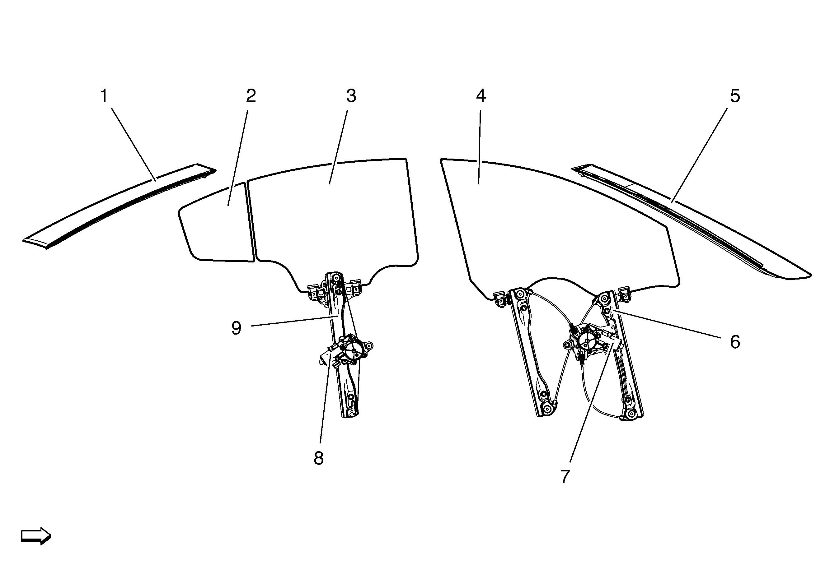
Object Number: 2027568  Size: MF

Window Systems Component Views

Number

Description

Procedure

1

Rear Window

LINK

2

Rear Side Door Stationary Window

Rear Side Door Stationary Window Replacement

3

Rear Side Door Window

Rear Side Door Window Replacement

4

Front Side Door Window

Front Side Door Window Replacement

5

Windshield

Windshield Replacement

6

Front Side Door Window Regulator

Front Side Door Window Regulator Replacement

7

Front Side Door Window Regulator Motor

Front Side Door Window Regulator Motor Replacement

8

Rear Side Door Window Regulator Motor

Rear Side Door Window Regulator Motor Replacement

9

Rear Side Door Window Regulator

Rear Side Door Window Regulator Replacement