GM Service Manual Online
For 1990-2009 cars only

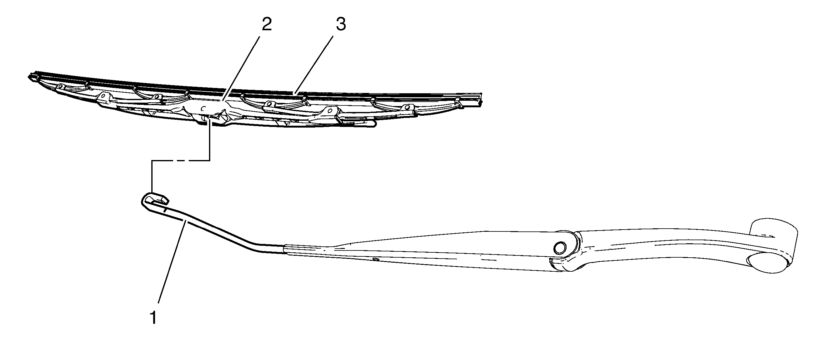
Object Number: 2027126  Size: SF

Callout

Component Name

Preliminary Procedure

Raise the wiper arm up off the windshield.

1

Windshield Washer Arm Assembly

2

Windshield Wiper Arm Blade Removal Tab

Procedure

  1. Push inward the square tab at the center top side of the wiper blade.
  2. Rotate the wiper blade downward slightly.
  3. Slide the wiper blade from the wiper arm.
  4. Carefully release the wiper arm back to the windshield.

3

Windshield Washer Blade Assembly

Tip
Discard if rubber appears worn or does not wipe the windshield clean.