GM Service Manual Online
For 1990-2009 cars only

    Warning: Refer to Brake Dust Warning in the Preface section.

  1. Remove rear brake caliper bracket. Refer to Rear Brake Caliper Bracket Replacement.

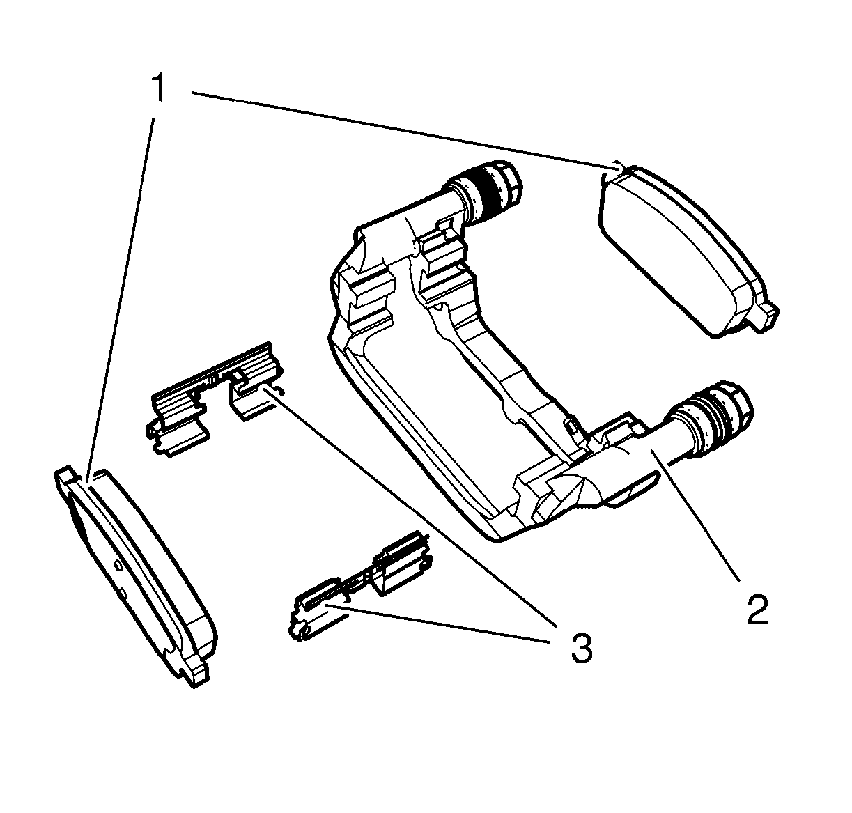
  2. Object Number: 2028131  Size: SH
  3. Remove the disc brake caliper from the caliper mounting bracket (2).
  4. Remove the disc brake pads (1) from the caliper mounting bracket (2).
  5. Inspect the disc brake pad mounting hardware (3) for the following:
  6. • Missing mounting hardware.
    • Excessive corrosion.
    • Bent pad retainer spring.
    • Looseness at the brake caliper mounting bracket.
    • Looseness at the disc brake pads.
    • Excessive contaminants in the brake caliper mounting bracket surface and threads.
  7. If any of the conditions listed are found, the disc brake pad mounting hardware requires replacement.
  8. Ensure the disc brake pads are held firmly in place on the caliper mounting bracket, yet slide easily on the mounting hardware without binding.
  9. Install the disc brake pads to the caliper mounting bracket.
  10. Install the disc brake caliper to the mounting bracket.
  11. Install rear brake caliper bracket. Refer to Rear Brake Caliper Bracket Replacement.