GM Service Manual Online
For 1990-2009 cars only

Removal Procedure

Warning: Refer to Brake Fluid Irritant Warning in the Preface section.

Caution: Refer to Brake Fluid Effects on Paint and Electrical Components Caution in the Preface section.

  1. Raise and support the vehicle. Refer to Lifting and Jacking the Vehicle.
  2. Remove the tire and wheel assembly. Refer to Tire and Wheel Removal and Installation.

  3. Object Number: 2027735  Size: SH
  4. Clean all dirt and foreign material from the brake hose ends and the brake pipe fitting.
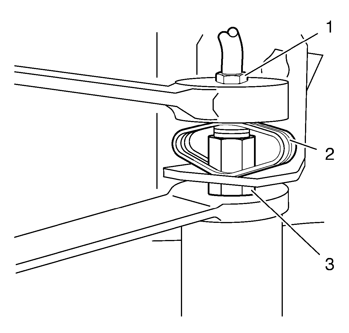
  5. Use a flare nut wrench on the brake pipe fitting (1) and a backup wrench on the brake hose (3) under the brake hose retainer (2).

  6. Object Number: 2027738  Size: SH
  7. Disconnect the brake pipe fitting (1) from the brake hose (3). Cap or plug the brake pipe fitting end and the brake hose end to prevent fluid loss and contamination.
  8. Remove the brake hose retainer (2).

  9. Object Number: 2027742  Size: SH
  10. Remove the brake hose bolt (2) attaching the hose to the rear brake caliper bracket.
  11. Remove wiring harness (1) from brake hose bracket.

  12. Object Number: 2027740  Size: SH
  13. Remove the brake hose-to-caliper bolt (1) from the brake caliper (4).
  14. Remove the brake hose (3) from the brake caliper.
  15. Remove and discard the 2 copper brake hose gaskets (2). These gaskets may be stuck to the brake caliper and/or the brake hose end.
  16. Cap or plug the opening in the brake caliper and the brake hose to prevent fluid loss and contamination.

Installation Procedure


    Object Number: 2027740  Size: SH
  1. Remove the caps or plugs from the opening in the brake caliper and the brake hose.
  2. Note: Install NEW copper brake hose gaskets.

  3. Assemble the NEW copper brake hose gaskets (2), and the brake hose bolt (1), to the brake hose (3).
  4. Caution: Refer to Fastener Caution in the Preface section.

  5. Install the brake hose-to-brake caliper bolt to the brake caliper (4) and tighten the bolt to  XX N·m (XX lb in).

  6. Object Number: 2027742  Size: SH
  7. Install the brake hose bolt (2) attaching the hose to the rear brake caliper bracket and tighten the bolt to  8 N·m (71 lb in).
  8. Install wiring harness (1) at the brake hose bracket.

  9. Object Number: 2027738  Size: SH
  10. Remove the caps or plugs from the brake pipe fitting end and the brake hose end.
  11. Install the brake hose to the brake hose body bracket.
  12. Install the brake hose retainer (2) over the anti-rotation tabs of the brake hose (3).
  13. Connect the brake pipe fitting (1) to the brake hose (3).
  14. Use a backup wrench on the brake hose (3).
  15. Tighten the brake pipe fitting to  18 N·m (14 lb in).
  16. Ensure that the hose does not make contact with any part of the suspension. Check the hose in extreme right and extreme left turn conditions. If the hose makes contact, remove the hose and correct the condition.
  17. Bleed the hydraulic brake system. Refer to Hydraulic Brake System Bleeding.
  18. Install the tire and wheel assembly. Refer to Tire and Wheel Removal and Installation.
  19. Lower the vehicle.