GM Service Manual Online
For 1990-2009 cars only

Removal Procedure


    Object Number: 2027466  Size: SH

    Note: Perform the following procedure when removing the retaining rings and cooler lines from the quick connect fittings located on the radiator and/or the transmission.

  1. Pull the plastic cap back from the quick connect fitting and down along the cooler line about 5 cm (2 in).
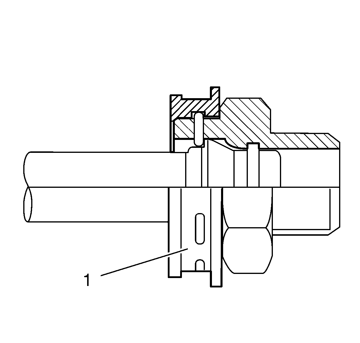
  2. Using a bent-tip screwdriver, pull on one of the open ends of the retaining ring (1) in order to rotate the retaining ring around the quick connect fitting until the retaining ring is out of position and can be completely removed.
  3. Remove the retaining ring from the quick connect fitting.
  4. Discard the retaining ring.

  5. Object Number: 2027467  Size: SH
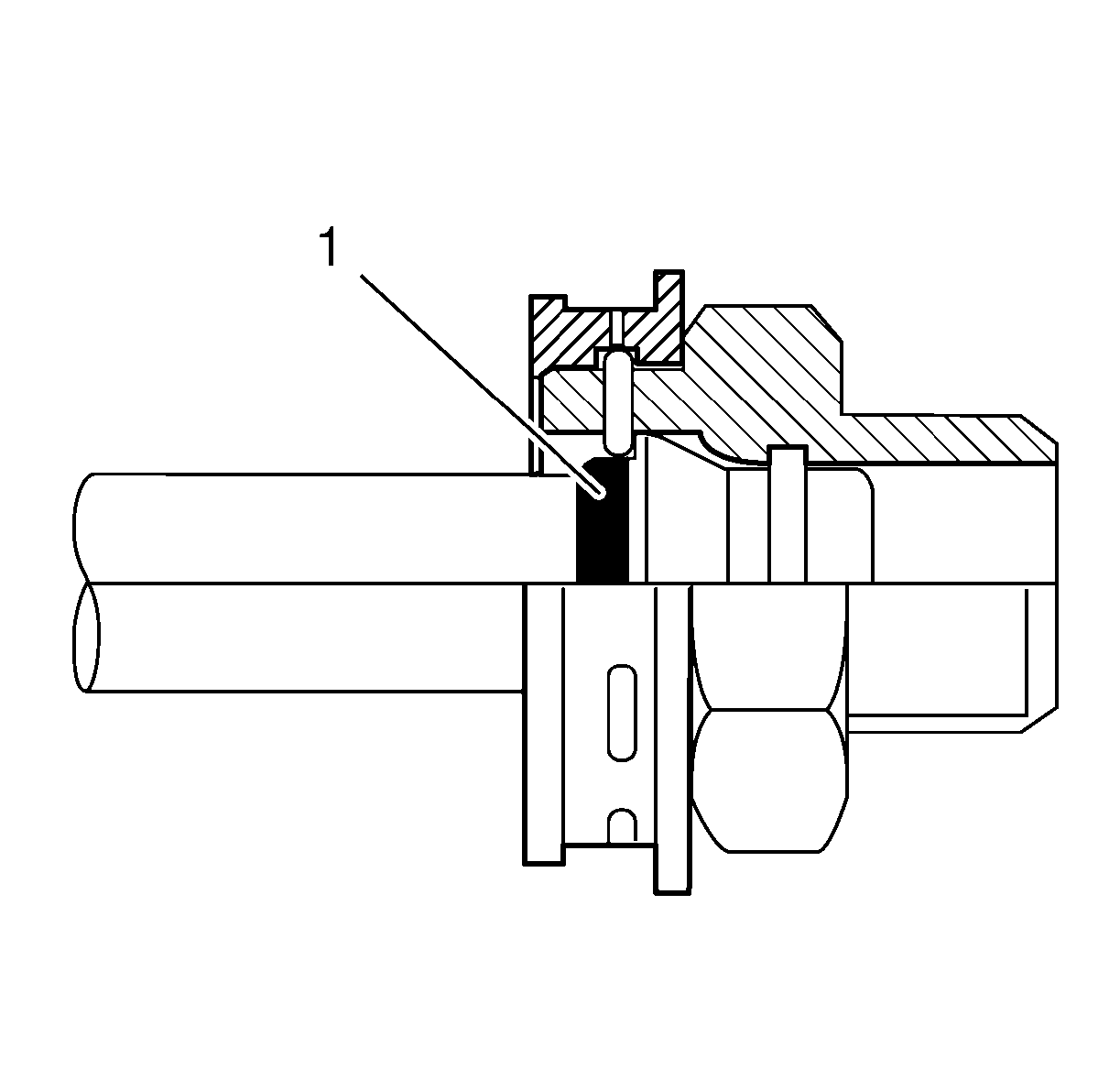
  6. Pull the cooler line (1) straight out from the quick connect fitting (2).

Installation Procedure

    Note: 

       • Do not reuse any of the existing oil lines or oil line fittings if there is excessive corrosion.
       • Do not reuse any of the existing retaining rings that were removed from the existing quick connect fittings. Install new retaining rings.
       • Ensure the following procedures are performed when installing the new retaining rings onto the fittings.

  1. Install a new retaining ring into the quick connect fitting using the following procedure:

  2. Object Number: 2027468  Size: SH
  3. Hook one of the open ends of the retaining ring (1) in one of the slots in the quick connect fitting.

  4. Object Number: 2027469  Size: SH
  5. Rotate the retaining ring (1) around the fitting until the retaining ring is positioned with all three ears through the three slots on the fitting.

  6. Object Number: 2027470  Size: SH
  7. Do not install the new retaining ring (1) onto the fitting by pushing the retaining ring.

  8. Object Number: 2027473  Size: SH
  9. Ensure that the three retaining ring ears are seen from inside the fitting (1) and that the retaining ring moves freely in the fitting slots.

  10. Object Number: 2027475  Size: SH
  11. Install the cooler line (1) into the quick connect fitting (2).
  12. Insert the cooler line end into the quick connect fitting until a click is either heard or felt.

  13. Object Number: 2027476  Size: SH
  14. Do not use the plastic cap (1) on the cooler line in order to install the cooler line into the fitting.
  15. Pull back sharply on the cooler line in order to ensure that the cooler line is fastened into the quick connect fitting.

  16. Object Number: 2027482  Size: SH

    Note: Do not manually depress the retaining clip when installing the plastic cap.

  17. Position (snap) the plastic cap (1) onto the fitting. Do not manually depress the retaining ring when installing the plastic cap onto the quick connect fitting.
  18. Ensure that the plastic cap is fully seated against the fitting.

  19. Object Number: 2027484  Size: SH
  20. Ensure that no gap is present between the plastic cap (1) and the fitting (2).

  21. Object Number: 2027485  Size: SH
  22. Ensure that the yellow identification band (1) on the tube is hidden within the quick connect fitting.

  23. Object Number: 2027486  Size: SH
  24. A hidden yellow identification band (1) indicates proper joint seating.
  25. Fill the transmission to the proper level. Refer to Transmission Fluid Check.