GM Service Manual Online
For 1990-2009 cars only

Object Number: 2027888  Size: MF

Callout

Component Name

Preliminary Procedure

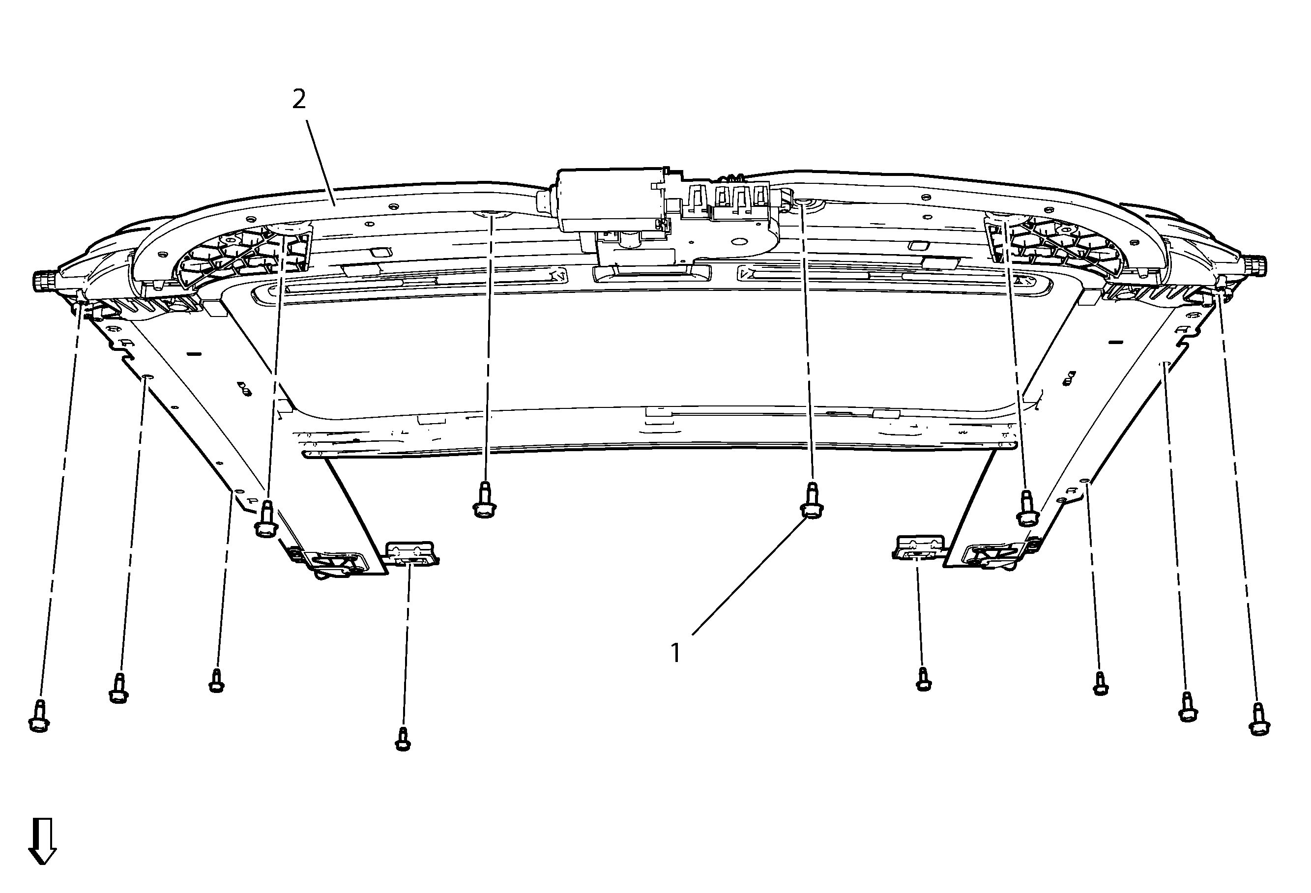
Remove the headlining trim panel. Refer to Headlining Trim Panel Replacement.

1

Sunroof Module Bolt (Qty: 12)

Caution: Refer to Fastener Caution in the Preface section.

Tighten
9 N·m (80 lb in)

2

Sunroof Module Assembly

Note: A new sunroof module assembly does not include the sunroof window, the motor, the sunshade, or the finishing lace as components. You must install the old components to the new sunroof module assembly.