GM Service Manual Online
For 1990-2009 cars only

Air Conditioning (A/C) Refrigerant Pressure Sensor Replacement 2.0L Diesel LLW

Special Tools

GE-39400-A Halogen Leak Detector

For equivalent regional tools, refer to LINK.

Removal Procedure

  1. Remove front bumper fascia air deflector. Refer to Front Bumper Fascia Air Deflector Replacement.

  2. Object Number: 2028061  Size: SH
  3. Remove the air conditioning refrigerant pressure sensor wire harness connector (1).

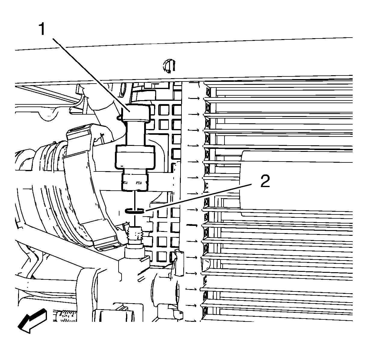
  4. Object Number: 2028062  Size: SH
  5. Remove the air conditioning refrigerant pressure sensor (1).
  6. Remove and discard the O-ring (2).

Installation Procedure


    Object Number: 2028062  Size: SH
  1. Install a new O-ring. Refer to Sealing Washer Replacement.
  2. Caution: Refer to Fastener Caution in the Preface section.

  3. Install the air conditioning refrigerant pressure sensor and tighten to  XX N·m (XX lb in).

  4. Object Number: 2028061  Size: SH
  5. Install the air conditioning refrigerant pressure sensor wire harness connector.
  6. Leak test the fittings using the GE-39400-A detector .
  7. Install front bumper fascia air deflector. Refer to Front Bumper Fascia Air Deflector Replacement.

Air Conditioning (A/C) Refrigerant Pressure Sensor Replacement 1.6L LXV

Special Tools

GE-39400-A Halogen Leak Detector

For equivalent regional tools, refer to Special Tools.

Removal Procedure

  1. Remove front bumper fascia air deflector. Refer to Front Bumper Fascia Air Deflector Replacement.
  2. Remove the refrigerant pressure sensor wire harness connector.

  3. Object Number: 2026978  Size: SH
  4. Remove the refrigerant pressure sensor (1).
  5. Remove and discard the O-ring (2).

Installation Procedure


    Object Number: 2026978  Size: SH
  1. Install a new O-ring (2). Refer to O-Ring Replacement
  2. Caution: Refer to Fastener Caution in the Preface section.

  3. Install the refrigerant pressure sensor (1) and tighten to  XX N·m (XX lb in).
  4. Install the refrigerant pressure sensor wire harness connector.
  5. Leak test the fittings using the GE-39400-A detector .
  6. Install front bumper fascia air deflector. Refer to Front Bumper Fascia Air Deflector Replacement.