GM Service Manual Online
For 1990-2009 cars only

Removal Procedure

    Notice: When removing body panels, apply tape to corners of panel and adjacent surfaces to help prevent paint damage.

  1. Apply protective tape to the front edge of the front door and the rear edge of the front bumper fascia.
  2. Remove the wheelhouse liner. Refer to Front Wheelhouse Liner Replacement .
  3. Remove the rocker panel molding. Refer to Rocker Panel Front Molding Replacement .
  4. Remove the front bumper bracket. Refer to Front Bumper Fascia Brace Replacement .

  5. Object Number: 742125  Size: SH
  6. Remove the side hood bumper from the vehicle.

  7. Object Number: 1846787  Size: SH
  8. Remove the bolt (1) between the rear of the fender and the door.

  9. Object Number: 1846791  Size: SH
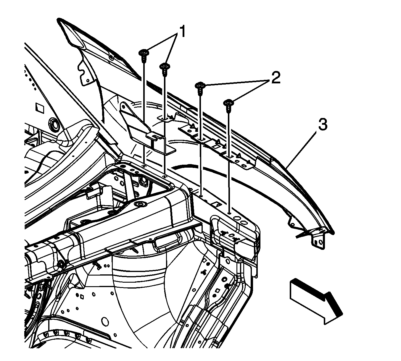
  10. Remove the bolts (1, 2) that retain the fender (3) to the vehicle.
  11. Remove the fender from the vehicle.

Installation Procedure


    Object Number: 1846791  Size: SH
  1. Position the fender to the vehicle.
  2. Notice: Refer to Fastener Notice in the Preface section.

  3. Install the bolts (1, 2) that retain the fender (3) to the vehicle.
  4. Tighten
    Tighten the bolts to 10 N·m (89 lb in).


    Object Number: 742125  Size: SH
  5. Install the hood bumper to the vehicle.
  6. Install the front bumper bracket. Refer to Front Bumper Fascia Brace Replacement .
  7. Install the rocker panel molding. Refer to Rocker Panel Front Molding Replacement .
  8. Install the wheelhouse liner. Refer to Front Wheelhouse Liner Replacement .
  9. Remove the protective tape.