GM Service Manual Online
For 1990-2009 cars only

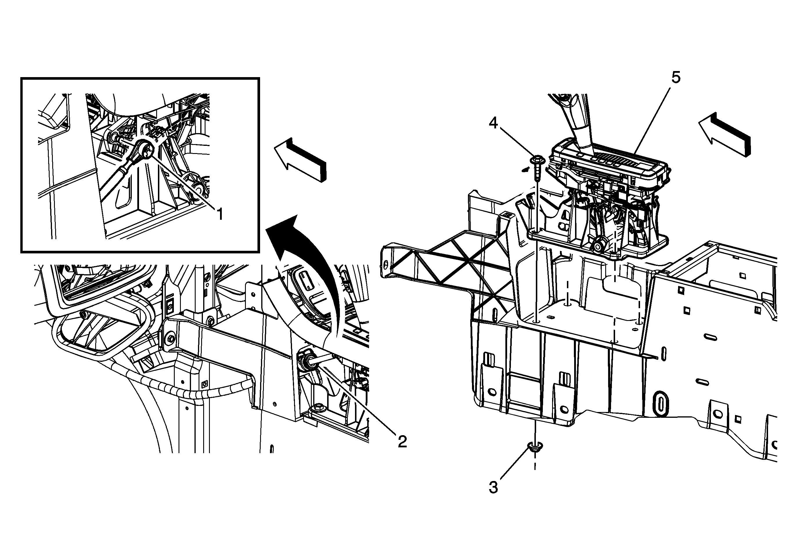
Transmission Control Replacement Acadia


Object Number: 1861413  Size: MF

Callout

Component Name

Preliminary Procedure

Remove the console trim plate. Refer to Front Floor Console Cover Replacement .

1

Automatic Transmission Range Select Lever Cable

2

Automatic Transmission Range Select Lever Cable Retainer

3

Automatic Transmission Control Nut (Qty: 4)

Notice: Refer to Fastener Notice in the Preface section.

Tighten
25 N·m (18 lb ft)

4

Automatic Transmission Control Bolt (Qty: 4)

5

Automatic Transmission Control

Procedure

  1. Disconnect the transmission control electrical connector.
  2. Apply lubricant P/N 88861426 to the tip of the shift control lever.

Transmission Control Replacement Enclave


Object Number: 1866665  Size: MF

Callout

Component Name

Preliminary Procedure

Remove the console trim plate. Refer to Front Floor Console Cover Replacement .

1

Automatic Transmission Range Select Lever Cable

2

Automatic Transmission Range Select Lever Cable Retainer

3

Automatic Transmission Control Nut (Qty: 4)

Notice: Refer to Fastener Notice in the Preface section.

Tighten
25 N·m (18 lb ft)

4

Automatic Transmission Control Bolt (Qty: 4)

5

Automatic Transmission Control

Procedure

  1. Disconnect the transmission control electrical connector.
  2. Apply lubricant P/N 88861426 to the tip of the shift control lever.

Transmission Control Replacement OUTLOOK


Object Number: 1861412  Size: MF

Callout

Component Name

Preliminary Procedures

Remove the console trim plate. Refer to Front Floor Console Cover Replacement .

1

Automatic Transmission Range Select Lever Cable

2

Automatic Transmission Range Select Lever Cable Retainer

3

Automatic Transmission Control Nut (Qty: 4)

Notice: Refer to Fastener Notice in the Preface section.

Tighten
25 N·m (18 lb ft)

4

Automatic Transmission Control Bolt (Qty: 4)

5

Automatic Transmission Control

Procedure

  1. Disconnect the transmission control electrical connector.
  2. Apply lubricant P/N 88861426 to the tip of the shift control lever.