GM Service Manual Online
For 1990-2009 cars only
Connector 1: Fuse Block - Underhood Label
Connector 2: Fuse Block - Underhood Top View
Connector 3: Fuse Block - Underhood Bottom View
Connector 4: Fuse Block - Underhood X1
Connector 5: Fuse Block - Underhood X2
Connector 6: Fuse Block - Underhood X3
Connector 7: Fuse Block - Underhood X4 (Battery Positive Cable)
Connector 8: Fuse Block - Underhood X4 (Battery Positive Junction Block)
Connector 9: Fuse Block - I/P Top Device Layout
Connector 10: Fuse Block - I/P Top View
Connector 11: Fuse Block - I/P X2
Connector 12: Fuse Block - I/P X3
Connector 13: Fuse Block - I/P X4
Connector 14: Fuse Block - I/P Bottom Label
Connector 15: Fuse Block - I/P Bottom View
Connector 16: Fuse Block - I/P X1
Connector 17: OnStar Inline Fuse

Fuse Block - Underhood Label


Object Number: 2021987  Size: MF

Fuse Block - Underhood Label Usage

Device

Rating

Description

ABS MTR Fuse

25A

Electronic Brake Control Module (EBCM)

ABS MTR Fuse

40A

Electronic Brake Control Module (EBCM)

A/C CLTCH Fuse

10A

A/C CMPRSR CLTCH Relay

A/C CMPRSR CLTCH Relay

--

A/C Compressor Clutch

AFS Fuse

15A

Headlamp Control Module (TSH)

AIRBAG Fuse

10A

Inflatable Restraint I/P Module Indicator, Inflatable Restraint Sensing and Diagnostic Module (SDM), and Instrument Panel Cluster (IPC)

AUX POWER Fuse

20A

Accessory Power Outlet - Center Console Compartment, and Accessory Power Outlet - I/P

AWD Fuse

15A

Rear Differential Clutch Control Module (MH6)

BATT 1 Fuse

50A

AIRBAG, AMP, BCM, CNSTR/VENT, CSTY, DISPLAY, INADV/PWR/LED, INFOTAINMENT, MSM, POWER MOD, and RADIO Fuses

BATT 2 Fuse

50A

BCK/UP/STOP, HTD/SEAT, LT/TRN/SIG, PDM, PWR/MIRRORS, and RT/TRN/SIG Fuses, LT/PWR/SEAT, PWR/COLUMN, and RT/PWR/SEAT Circuit Breakers

BATT 3 Fuse

50A

DRL, DRL 2, DR/LCK,HVAC, and REAR WIPER Fuses, PWR/WNDW Circuit Breaker, FRT/WSW Relay

CRNK Relay

--

Starter Motor

ECM Fuse

15A

Engine Control Module (ECM) (LY7)

ECM 1 Fuse

15A

Engine Control Module (ECM) (LY7)

EMISSION 1 Fuse

15A

Evaporative Emission (EVAP) Canister Purge Solenoid Valve (LY7), Heated Oxygen Sensor (HO2S) Bank 1 Sensor 1 (LY7), Heated Oxygen Sensor (HO2S) Bank 2 Sensor 1 (LY7), and Intake Manifold Tuning (IMT) Solenoid Valve (LY7)

EMISSION 2 Fuse

15A

A/C CMPRSR CLTCH, FAN 1, FAN 2, and FAN 3 Relays, Engine Mount Vacuum Tank Solenoid (W49), Heated Oxygen Sensor (HO2S) Bank 1 Sensor 2 (LY7), Heated Oxygen Sensor (HO2S) Bank 2 Sensor 2 (LY7), and Mass Air Flow (MAF)/Intake Air Temperature (IAT) Sensor (LY7)

EVEN COILS Fuse

15A

Fuel Injectors 2, 4, 6, and Ignition Coils 2, 4, 6

FAN 1 Fuse

30A

FAN 1 Relay

FAN 1 Relay

--

Engine Cooling Fan - Left

FAN 2 Fuse

40A

FAN 3 Relay

FAN 2 Relay

--

Engine Cooling Fan - Right

FAN 3 Relay

--

Engine Cooling Fan - Right

FOG LAMP Fuse

15A

FOG LAMP Relay

FOG LAMP Relay

--

Fog Lamp - Left Front and Fog Lamp - Right Front

FUEL PUMP Fuse

15A

FUEL PUMP Relay

FUEL PUMP Relay

--

Fuel Pump and Sender Assembly

HI BEAM Relay

--

LT HI BEAM and RT HI BEAM Fuses

HID/LO BEAM Relay

--

LT LO BEAM and RT LO BEAM Fuses

HORN Fuse

15A

HORN Relay

HORN Relay

--

Horn - High Note and Horn - Low Note

HTD MIR Fuse

10A

Outside Rearview Mirror - Driver and Outside Rearview Mirror - Passenger

HTD WASH Fuse

60A

Windshield Washer Solvent Heater (XA7)

HVAC BLWR Fuse

40A

Blower Motor Control Module

IGN Relay

--

AIRBAG, PCM IGN, REAR CAMERA, and TRANS Fuses

LT HI BEAM Fuse

10A

Headlamp - Left High Beam (without W49 or TVD) or Headlamp - Left High Beam Solenoid (W49 or TVD)

LT LO BEAM Fuse

15A/20A

Headlamp - Left (W49 or TVD) or Headlamp - Left Low Beam (without W49 or TVD)

LT PRK Fuse

10A

Marker Lamp - Left Rear (W49 or WDA), License Lamp - Left, License Lamp - Right, Park Lamp - Left Rear (W49 or Z88), Park Lamp - Right Rear (W49 or Z88), Side Marker Lamp - Left Front (Z88) or Marker Lamp - Left Front (W49 or WDA), Tail Lamp - Left (Z88) or Tail/Stop and Turn Signal Lamp - Left (W49 or WDA)

LT TRLR STOP/TRN Fuse

10A

Trailer Connector

LT TRLR STOP/TRN Relay

--

LT TRLR STOP/TRN Fuse

ODD COILS Fuse

15A

Fuel Injectors 1, 3, 5, and Ignition Coils 1, 3, 5

PCM IGN Fuse

10A

Engine Control Module (ECM) (LY7)

PRK LAMP Relay

--

LT PRK, RT PRK, and TRLR PRK LAMP Fuses

PWR L/GATE Fuse

30A

Liftgate Module (LGM) (E61)

PWR OUTLET Fuse

25A

Accessory AC/DC Power Control Module (KV1)

PWR/TRN Relay

--

ECM 1, EMISSION 1, EMISSION 2, EVEN COILS, and ODD COILS Fuses

RR APO Fuse

20A

Accessory Power Outlet - Rear Console (DK1) and Accessory Power Outlet - Rear

REAR CAMERA Fuse

10A

Rearview Camera Image Display Module

RR DEFOG Fuse

40A

RR DEFOG Relay

RR DEFOG Relay

--

HTD MIR Fuse and Rear Window Defogger Grid

RR HVAC Fuse

30A

Blower Motor Control Module - Auxiliary

RT HI BEAM Fuse

10A

Headlamp - Right High Beam (without W49 or TVD) or Headlamp - Right High Beam Solenoid (W49 or TVD)

RT LO BEAM Fuse

10A/20A

Headlamp - Right (W49 or TVD) or Headlamp - Right Low Beam (without W49 or TVD)

RT PRK Fuse

10A

Marker Lamp - Right Front, Marker Lamp - Right Rear (W49 or WDA), Side Marker Lamp - Right Front (Z88), Tail Lamp - Right (Z88) or Tail/Stop and Turn Signal Lamp - Right (W49 or WDA)

RT TRLR STOP/TRN Fuse

10A

Trailer Connector

RT TRLR STOP/TRN Relay

--

RT TRLR STOP/TRN Fuse

RVC SNSR Fuse

10A

Body Control Module (BCM)

S/ROOF/SUNSHADE Fuse

30A

Sunroof Control Module (C3U) and Sunroof Shade Module (C3U)

STRTR Fuse

40A

CRNK Relay

TCM Fuse

15A

Automatic Transmission

TRANS Fuse

10A

Automatic Transmission

TRLR BCK UP Fuse

10A

Trailer Connector (V92)

TRLR BCK UP Relay

--

TRLR BCK UP Fuse

TRLR BRK Fuse

30A

Trailer Brake Blunt Cut (V92)

TRLR PWR Fuse

30A

Trailer Connector (V92)

TRLR PRK LAMP Fuse

10A

Trailer Connector

WPR HI Relay

--

Windshield Wiper Motor

WPR Relay

--

Windshield Wiper Motor

WPR/WSW Fuse

25A

WPR and WPR HI Relays

Fuse Block - Underhood Top View


Object Number: 1846923  Size: MF

Fuse Block - Underhood Bottom View


Object Number: 1846924  Size: MF

Fuse Block - Underhood X1


Object Number: 1827035  Size: CH

Connector Part Information

  • OEM: 7283-9458-30
  • Service: See Catalog
  • Description: 32-Way F YESC Kaizen Series (BK)

Terminal Part Information

  • Pins: 1, 4, 29, 31, 32
  • Terminal/Tray: 7116-4122-02/10
  • Core/Insulation Crimp: A/B
  • Release Tool/Test Probe: 12094430/J-35616-42 (RD)
  • Pins: 5-8, 14-23
  • Terminal/Tray: 7116-4100-08/9
  • Core/Insulation Crimp: E/C
  • Release Tool/Test Probe: 12094430/J-35616-2A (GY)
  • Pins: 10, 15, 16, 21, 22, 25, 27
  • Terminal/Tray: 7116-4101-08/9
  • Core/Insulation Crimp: Pin 10 - See Terminal Repair Kit
  • Core/Insulation Crimp: Pins 15, 16, 21, 22, 25, 27 - E/A
  • Release Tool/Test Probe: 12094430/J-35616-2A (GY)

Fuse Block - Underhood X1

Pin

Wire

Circuit

Function

1

3 WH

504

Left Cooling Fan Motor High Control

2-3

--

--

Not Used

4

3 BK

250

Ground

5

0.5 D-BU

5364

Left DRL/Turn Supply Voltage (Z88 with TVD)

6

0.5 BN/WH

309

Right Park Lamp Supply Voltage (without TSH)

0.5 PU

309

Right Park Lamp Supply Voltage (TSH)

7

0.5 OG

228

Windshield Washer Pump Control

8

0.35 PU

5531

Hood Closed Switch Signal (AP3 or AP8)

9

--

--

Not Used

10

0.5 PU

34

Front Fog Lamp Supply Voltage (T96)

0.5 PU

34

Front Fog Lamp Supply Voltage (T96 with W49 or WDA)

11-13

--

--

Not Used

14

0.5 D-GN/WH

711

Left Headlamp High Beam Supply Voltage

15

1 D-BU/WH

1315

Right Turn Signal Indicator Lamp Supply Voltage (without TSH)

1 L-GN/BK

1315

Right Turn Signal Indicator Lamp Supply Voltage (TSH)

16

1 L-BU/WH

1314

Left Turn Signal Indicator Lamp Supply Voltage (without TSH)

1 D-GN/WH

1314

Left Turn Signal Indicator Lamp Supply Voltage (TSH)

17

0.35 PK/BK

109

Hood Ajar Switch Signal (AP3 or AP8)

18

0.35 TN

185

Low Washer Fluid Indicator Control

19

0.5 PU

709

Left Park Lamp Supply Voltage

20

0.35 PU

359

DRL Supply voltage (W49 or Z88 without TVD)

0.5 YE

712

Left Headlamp Low Beam Supply Voltage (without W49 or TVD)

0.5 D-GN

5365

DRL Supply voltage (Z88 with TVD)

21

0.5 TN/WH

312

Right Headlamp Low Beam Supply Voltage (without W49 or TVD)

1 TN/WH

312

Right Headlamp Low Beam Supply Voltage (W49 or TVD)

22

1 YE

712

Left Headlamp Low Beam Supply Voltage (W49 or TVD)

0.5 YE

712

Left Headlamp Low Beam Supply Voltage (without W49 or TVD)

23

0.5 L-GN/BK

311

Right Headlamp High Beam Supply Voltage

24

--

--

Not Used

25

0.8 D-GN

392

Rear Window Washer Pump Control

26

--

--

Not Used

27

0.8 D-GN

1329

Horn Supply Voltage

28

--

--

Not Used

29

3 GY

532

Left Cooling Fan Motor Low Control

30

--

--

Not Used

31

3 RD/BK

1342

Battery Positive Voltage (E61)

32

3 L-BU

409

Right Cooling Fan Motor High Control

Fuse Block - Underhood X2


Object Number: 1827034  Size: CH

Connector Part Information

  • OEM: 7283-9464-3W
  • Service: See Catalog
  • Description: 84-Way F YESC Kaizen Series (BK)

Terminal Part Information

  • Pins: 5-9, 80
  • Terminal/Tray: 7116-4122-02/10
  • Core/Insulation Crimp: Pins 5, 9 - A/B
  • Core/Insulation Crimp: Pins 6-8, 80 - D/G
  • Release Tool/Test Probe: 12094430/J-35616-42 (RD)
  • Pins: 13, 73, 82
  • Terminal/Tray: 7116-4112-02/9
  • Core/Insulation Crimp: C/D
  • Release Tool/Test Probe: 12094430/J-35616-35 (VT)
  • Pins: 15, 17, 25-29, 31, 38, 39, 41, 43-46, 48, 52, 54-60, 62, 65, 66, 68, 69, 70
  • Terminal/Tray: 7116-4100-08/9
  • Core/Insulation Crimp: E/C
  • Release Tool/Test Probe: 12094430/J-35616-2A (GY)
  • Pins: 23, 24, 42, 53, 67
  • Terminal/Tray: 7116-4101-08/9
  • Core/Insulation Crimp: Pins 23, 24, 53, 67 - E/A
  • Core/Insulation Crimp: Pins 24, 42, 53 - See Terminal Repair Kit
  • Release Tool/Test Probe: 12094430/J-35616-2A (GY)
  • Pins: 75, 76
  • Terminal/Tray: 7116-4121-02/10
  • Core/Insulation Crimp: C/B
  • Release Tool/Test Probe: 12094430/J-35616-42 (RD)
  • Pins: 81, 84
  • Terminal/Tray: 7116-4111-02/9
  • Core/Insulation Crimp: C/A
  • Release Tool/Test Probe: 12094430/J-35616-4A (PU)

Fuse Block - Underhood X2

Pin

Wire

Circuit

Function

1-4

--

--

Not Used

5

3 RD/BK

442

Battery Positive Voltage

6

5 RD/BK

642

Battery Positive Voltage

7

5 RD/BK

842

Battery Positive Voltage

8

5 PU

293

Rear Defog Element Supply Voltage

9

3 RD/WH

3440

Battery Positive Voltage (C3U)

10-12

--

--

Not Used

13

2 GY

120

Fuel Pump Supply Voltage

14

--

--

Not Used

15

0.35 WH

1080

Park Lamp Relay Control

16

--

--

Not Used

17

0.5 BN

2109

Trailer Park Lamps Supply Voltage (V92 or Early Production)

18-22

--

--

Not Used

23

0.8 PU

709

Left Park Lamp Supply Voltage

24

0.5 D-BU/WH

1315

Right Turn Signal Indicator Lamp Supply Voltage

0.5 D-BU/WH

1315

Right Turn Signal Indicator Lamp Supply Voltage (W49 Early Production with DNP or DS3)

25

0.35 PK

239

Ignition II/III Voltage (UVC)

26

0.35 D-GN/WH

1317

Fog Lamp Relay Control (T96)

27

0.35 PK/WH

1970

Headlamp Low Beam Relay Control

28

0.35 TN/WH

1969

Headlamp Relay Control

29

0.5 PK

1139

Ignition II/III Voltage

30

--

--

Not Used

31

0.5 WH

17

Stop Lamp Supply Voltage

0.5 WH

17

Stop Lamp Supply Voltage (V92)

32-37

--

--

Not Used

38

0.35 PU

5531

Hood Closed Switch Signal (AP3 or AP8)

39

0.35 TN

28

Horn Relay Control

40

--

--

Not Used

41

0.35 TN

185

Low Washer Fluid Indicator Control

42

0.5 OG

2267

Mirror Heating Element Supply Voltage (DG6 or DS3)

0.5 OG

2267

Mirror Heating Element Supply Voltage (DG6 or DS3)

43

0.35 D-BU

5985

Ignition I/II Voltage

44

0.35 PK

1439

Ignition II/III Voltage

45

0.5 YE

5187

Right Trailer Turn Signal Lamp (V92 or Early Production)

46

0.5 YE

1618

Stop Lamp Supply Voltage (V92 or Early Production)

47

--

--

Not Used

48

0.35 GY

91

Windshield Wiper Switch Signal 2

49-51

--

--

Not Used

52

0.5 OG

228

Windshield Washer Pump Control

53

1 L-BU/WH

1314

Left Turn Signal Indicator Lamp Supply Voltage

0.5 L-BU/WH

1314

Left Turn Signal Indicator Lamp Supply Voltage (W49 Early Production with DNP or DS3)

54

0.5 L-GN

1624

Trailer Backup Lamps Supply Voltage (V92)

55

0.35 PK/BK

109

Hood Ajar Switch Signal (AP3 or AP8)

56

0.35 WH

193

Rear Defog Relay Control

57

0.5 RD/WH

1740

Battery Positive Voltage (MH6)

58

0.35 WH

1310

EVAP Canister Vent Solenoid Control

59

0.5 D-GN

1619

Stop Lamp Supply Voltage (V92 or Early Production)

60

0.5 OG

5186

Left Trailer Turn Signal Lamp (V92 or Early Production)

61

--

--

Not Used

62

0.35 RD/WH

2440

Battery Positive Voltage

63-64

--

--

Not Used

65

0.5 BN/WH

309

Right Park Lamp Supply Voltage

66

0.35 D-BU

5364

Left DRL/Turn Supply Voltage (Z88 with TVD)

67

0.8 D-GN

392

Rear Window Washer Pump Control

68

0.35 L-GN

24

Backup Lamp Relay Control (V92 Late Production)

0.35 D-BU

38

Backup Lamp Relay Control (V92 Early Production)

69

0.5 PU

359

DRL Supply Voltage

70

0.35 TN

860

Front Windshield Wiper Switch High Signal

71-72

--

--

Not Used

73

2 RD/WH

2640

Battery Positive Voltage

74

--

--

Not Used

75

2 RD/BK

1042

Battery Positive Voltage (V92)

76

2 RD/BK

542

Battery Positive Voltage (V92)

77-79

--

--

Not Used

80

5 RD/BK

242

Battery Positive Voltage

81

1 RD/WH

2540

Battery Positive Voltage

82

3 RD/WH

2740

Battery Positive Voltage (KV1)

83

--

--

Not Used

84

1 RD/WH

140

Battery Positive Voltage

Fuse Block - Underhood X3


Object Number: 1827033  Size: CH

Connector Part Information

  • OEM: 7283-9457-3W
  • Service: See Catalog
  • Description: 54-Way F YESC Kaizen Series (BK)

Terminal Part Information

  • Pins: 1, 3, 5, 11, 13, 15, 18, 19, 22, 24, 29-31, 33, 34, 36, 38, 42, 45, 49
  • Terminal/Tray: 7116-4100-08/9
  • Core/Insulation Crimp: E/C
  • Release Tool/Test Probe: 12094430/J-35616-2A (GY)
  • Pins: 8, 9
  • Terminal/Tray: 7116-4122-02/10
  • Core/Insulation Crimp: A/B
  • Release Tool/Test Probe: 12094430/J-35616-42 (RD)
  • Pins: 20
  • Terminal/Tray: 7116-4112-02/9
  • Core/Insulation Crimp: C/D
  • Release Tool/Test Probe: 12094430/J-35616-35 (VT)
  • Pins: 21, 43
  • Terminal/Tray: 7116-4111-02/9
  • Core/Insulation Crimp: C/A
  • Release Tool/Test Probe: 12094430/J-35616-4A (PU)
  • Pins: 26, 32, 46, 47, 51
  • Terminal/Tray: 7116-4101-08/9
  • Core/Insulation Crimp: E/A
  • Release Tool/Test Probe: 12094430/J-35616-2A (GY)
  • Pins: 54
  • Terminal/Tray: 7116-3250/10
  • Core/Insulation Crimp: G/3
  • Release Tool/Test Probe: 12094430/J-35616-22 (RD)

Fuse Block - Underhood X3

Pin

Wire

Circuit

Function

1

0.5 PK/BK

5294

Ignition I Voltage

2

--

--

Not Used

3

0.5 YE

447

Starter Relay Coil Control

4

--

--

Not Used

5

0.5 D-BU

473

High Speed Cooling Fan Relay Control

6-7

--

--

Not Used

8

3 RD/BK

142

Battery Positive Voltage

9

3 PU

6

Starter Solenoid Crank Voltage

10

--

--

Not Used

11

0.5 PK/BK

5294

Ignition I Voltage

12

--

--

Not Used

13

0.5 D-GN

335

Low Speed Cooling Fan Relay Control

14

--

--

Not Used

15

0.5 WH

1310

EVAP Canister Vent Solenoid Control

16-17

--

--

Not Used

18

0.5 PK

439

Ignition II/III Voltage

19

0.5 D-GN

59

A/C Compressor Clutch Supply Voltage

20

2 RD/WH

3540

Battery Positive Voltage

21

1 D-GN

95

Windshield Wiper Park

22

0.5 WH

17

Stop Lamp Supply Voltage

23

--

--

Not Used

24

0.5 D-BU

5985

Ignition I/II Voltage

25

--

--

Not Used

26

0.8 PK/BK

5290

Ignition 1 Voltage

27-28

--

--

Not Used

29

0.5 D-GN/WH

459

A/C Compressor Clutch Relay Control

30

0.5 PK/BK

5293

Ignition I Voltage

31

0.5 RD/WH

540

Battery Positive Voltage

32

0.8 RD/WH

3640

Battery Positive Voltage

33

0.5 D-GN/WH

465

Fuel Pump Relay Control

34

0.5 WH

17

Stop Lamp Supply Voltage

35

--

--

Not Used

36

0.5 D-BU

5985

Ignition I/II Voltage

37

--

--

Not Used

38

0.5 PK

1339

Ignition II/III Voltage

39-41

--

--

Not Used

42

0.5 RD/WH

4440

Battery Positive Voltage (TSH)

43

1 PU

92

Windshield Wiper Motor High Speed

44

--

--

Not Used

45

0.5 BK/WH

451

Ground

46

1 BK

1650

Ground

47

1 PK/BK

5292

Ignition 1 Voltage

48

--

--

Not Used

49

0.5 YE

5991

Powertrain Relay Coil Control

50

--

--

Not Used

51

1 PK/BK

5291

Ignition 1 Voltage

52-53

--

--

Not Used

54

5 RD/WH

1440

Battery Positive Voltage (XA7)

Fuse Block - Underhood X4 (Battery Positive Cable)

Terminal Part Information

  • Harness: Battery Positive Cable
  • Terminal: 7003-6115-02
  • Core/Insulation Crimp: N/A
  • Description: Ring Terminal

Fuse Block - Underhood X4 (Battery Positive Cable)

Pin

Wire

Circuit

Function

+

40 RD

1

Battery Positive Voltage

Fuse Block - Underhood X4 (Battery Positive Junction Block)

Terminal Part Information

  • Harness: Battery Positive Junction Block
  • Terminal: 7003-6116-02
  • Core/Insulation Crimp: N/A
  • Description: Ring Terminal

Fuse Block - Underhood X4 (Battery Positive Junction Block)

Pin

Wire

Circuit

Function

+

32 RD

1

Battery Positive Voltage

19 RD/BK

2

Battery Positive Voltage

Fuse Block - I/P Top Device Layout


Object Number: 1846925  Size: MF

Fuse Block - I/P Top Device Usage

Device

Rating

Description

DRL Relay

--

Daytime Running Lamp (DRL) - Left, Daytime Running Lamp (DRL) - Right (T61)

DRL 2 Relay

--

Daytime Running Lamp (DRL) - Left (Z88 with TVD)

FRT/WSW Relay

--

FRT/WSW Fuse

LCK Relay

--

Door Latch - Driver (without AXC or AXE), Door Latch - Left Rear, Door Latch - Passenger (without AXC or AXE), and Door Latch - Right Rear

LT/PWR/SEAT Circuit Breaker

25A

Memory Seat Module (AG3), Seat Adjuster Switch - Driver (AG1 or AH5), Seat Lumbar Switch - Driver (AH5)

L/GATE Relay

--

Liftgate Latch Assembly (E69)

LT/UNLCK Relay

--

Door Latch - Driver (without AXC or AXE)

PWR/COLUMN Circuit Breaker

25A

Memory Seat Module (N38)

PWR/WNDW Circuit Breaker

25A

Door Control Module - Passenger (AXE), Window Motor - Driver (AXC or AXE), Window Motor - Passenger (AXC), Window Switch - Driver (without AXC or AXE), Window Switch - Left Rear, Window Switch - Passenger (without AXC or AXE), Window Switch - Right Rear

REAR/WSW

Relay

Rear Window Washer Fluid Pump

RT/PWR/SEAT Circuit Breaker

25A

Seat Adjuster Switch - Passenger (AAQ or AG2), Seat Lumbar Switch - Passenger (AAQ)

UNLCK Relay

--

Door Latch - Left Rear, Door Latch - Passenger (without AXC or AXE), and Door Latch - Right Rear

Fuse Block - I/P Top View


Object Number: 1846928  Size: MF

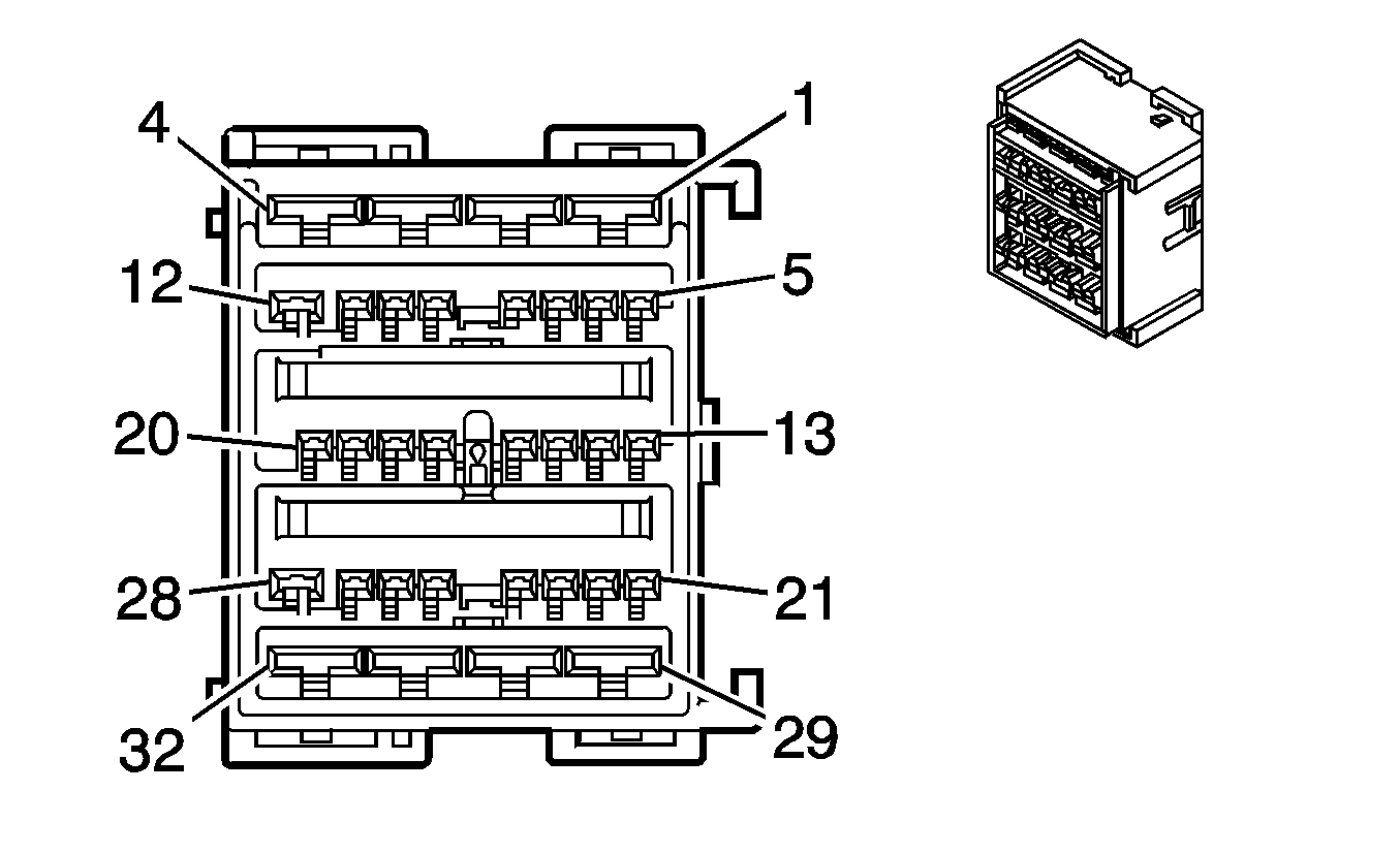
Fuse Block - I/P X2


Object Number: 1483276  Size: CH

Connector Part Information

  • OEM: 7283-6456-90
  • Service: 88952778
  • Description: 16-Way F Kaizen YESC Series, Unsealed (BU)

Terminal Part Information

  • Pins: 2, 6, 8, 16
  • Terminal/Tray: 7116-4100-08/9
  • Core/Insulation Crimp: E/C
  • Release Tool/Test Probe: 12094430/J-35616-2A (GY)
  • Pins: 10, 14, 15
  • Terminal/Tray: 7116-4101-08/9
  • Core/Insulation Crimp: E/A
  • Release Tool/Test Probe: 12094430/J-35616-2A (GY)

Fuse Block - I/P X2

Pin

Wire

Circuit

Function

1

--

--

Not Used

2

0.5 GY

391

Rear Window Wiper Switch Signal

3-5

--

--

Not Used

6

0.35 RD/WH

1840

Battery Positive Voltage

7

--

--

Not Used

8

0.35 PK

1139

Ignition II/III Voltage

9

--

--

Not Used

10

0.8 RD/WH

1240

Battery Positive Voltage

11-13

--

--

Not Used

14

0.8 RD/WH

4540

Battery Positive Voltage

15

0.8 RD/WH

1640

Battery Positive Voltage

16

0.35 PK

1139

Ignition II/III Voltage

Fuse Block - I/P X3


Object Number: 823290  Size: CH

Connector Part Information

  • OEM: 7283-6447-40
  • Service: 88956524
  • Description: 14-Way F Hybrid Series (L-GY)

Terminal Part Information

  • Pins: 6
  • Terminal/Tray: 7116-4101-08/9
  • Core/Insulation Crimp: E/A
  • Release Tool/Test Probe: 12094430/J-35616-2A (GY)
  • Pins: 11, 13
  • Terminal/Tray: 7116-4100-08/9
  • Core/Insulation Crimp: E/C
  • Release Tool/Test Probe: 12094430/J-35616-2A (GY)

Fuse Block - I/P X3

Pin

Wire

Circuit

Function

1-5

--

--

Not Used

6

0.8 OG

300

Power Mode

0.8 OG

300

Power Mode (XA7)

7-10

--

--

Not Used

11

0.5 L-GN

2270

Rear Window Washer Relay Control

12

--

--

Not Used

13

0.35 TN

28

Horn Relay Control

14

--

--

Not Used

Fuse Block - I/P X4


Object Number: 1856789  Size: CH

Connector Part Information

  • OEM: 7283-3442-40
  • Service: 89046712
  • Description: 12-Way F YESC Kaizen Series (L-GY)

Terminal Part Information

  • Pins: 1, 3, 5, 7, 9
  • Terminal/Tray: 7116-4100-08/9
  • Core/Insulation Crimp: E/C
  • Release Tool/Test Probe: 12094430/J-35616-2A (GY)
  • Pins: 11
  • Terminal/Tray: 7116-4101-08/9
  • Core/Insulation Crimp: E/A
  • Release Tool/Test Probe: 12094430/J-35616-2A (GY)

Fuse Block - I/P X4

Pin

Wire

Circuit

Function

1

0.35 RD/WH

1040

Battery Positive Voltage

2

--

--

Not Used

3

0.5 RD/WH

2140

Battery Positive Voltage (N38)

4

--

--

Not Used

5

0.35 PU/WH

1382

LED Dimming Signal

6

--

--

Not Used

7

0.35 RD/WH

1040

Battery Positive Voltage

8

--

--

Not Used

9

0.35 PU/WH

7005

LED Dimming Signal

10

--

--

Not Used

11

1 RD/WH

4240

Battery Positive Voltage

12

--

--

Not Used

Fuse Block - I/P Bottom Label


Object Number: 1846926  Size: MF

Fuse Block - I/P Bottom Label Usage

Fuse

Rating

Description

AIRBAG

10A

Inflatable Restraint Front Passenger Presence System (PPS) Sensor, Inflatable Restraint Sensing and Diagnostic Module (SDM), Inflatable Restraint Vehicle Rollover Sensor

AMP

30A

Audio Amplifier (UQA or UQG or AQS)

BCK/UP/STOP

15A

Body Control Module (BCM), Steering Wheel/Column Tilt/Telescope Switch (N38)

BCM

15A

Body Control Module (BCM)

CNSTR/VENT

10A

Evaporative Emission (EVAP) Canister Vent Solenoid Valve

CTSY

15A

Body Control Module (BCM)

DSPLY

10A

Clock (W49), Data Link Connector (DLC), Instrument Panel Cluster (IPC), Liftgate Module (LGM) (E61), Remote Control Door Lock Receiver (RCDLR)

DRL

15A/10A

DRL Relay (T61)

DRL 2

10A

DRL 2 Relay (Z88 with TVD)

DR/LCK

25A

LCK Relay, LT/UNLCK Relay, UNLCK Relay

FRT/WSW

10A

Windshield Washer Fluid Pump

HTD/SEAT

20A

Heated Seat Control Module - Driver (KA1-A45)

HVAC

15A

Body Control Module (BCM), Head Up Display (HUD) (UV6), HVAC Control Module

INADV/PWR/LED

20A

Body Control Module (BCM)

INFOTMNT

10A

Digital Radio Receiver (U2K), Digital Video Disc (DVD) Player (U42), Radio/HVAC Control - Auxiliary (UK6)

LT/TRN/SIG

15A

Body Control Module (BCM)

MSM

10A

Garage Door Opener (UG1), Memory Seat Module (AG3), and Object Alarm Module (UD7)

PDM

15A

L/GATE Relay (E69), Door Control Module - Passenger (AXC or AXE)

PWR/MIR

2A

Outside Rearview Mirror Switch (DG6 or DS3)

PWR MODE

2A

Ignition Switch, Theft Deterrent Module (TDM)

RDO

15A

Radio

REAR WPR

20A

Rear Window Wiper Motor, REAR/WSW Relay

RT/TRN/SIG

15A

Body Control Module (BCM)

STR/WHL/ILLUM

2A

Steering Wheel Control Switch - Left, Steering Wheel Control Switch - Right (UK3)

Fuse Block - I/P Bottom View


Object Number: 1846929  Size: MF

Fuse Block - I/P X1


Object Number: 1856803  Size: CH

Connector Part Information

  • OEM: 7283-9456-3W (Early Production)
  • OEM: 7287-2994-3W (Late Production)
  • Service: See Catalog
  • Description: 84-Way F YESC Kaizen Series (BK)

Terminal Part Information

  • Pins: 2, 12
  • Terminal/Tray: 7116-4112-02/9
  • Core/Insulation Crimp: C/D
  • Release Tool/Test Probe: 12094430/J-35616-35 (VT)
  • Pins: 5, 6, 76-78
  • Terminal/Tray: 7116-4122-02/10
  • Core/Insulation Crimp: Pins 5, 6, 76 - D/G
  • Core/Insulation Crimp: Pins 8, 77, 78 - A/B
  • Release Tool/Test Probe: 12094430/J-35616-42 (RD)
  • Pins: 8, 9, 15, 18, 21, 27, 28, 34, 37, 42, 45, 47, 52-54, 58
  • Terminal/Tray: 7116-4101-08/9
  • Core/Insulation Crimp: Pins 8, 9, 21, 37, 45, 47 - See Terminal Repair Kit
  • Core/Insulation Crimp: Pins 15, 18, 27, 28, 34, 42, 52-54, 58 - E/A
  • Release Tool/Test Probe: 12094430/J-35616-2A (GY)
  • Pins: 13
  • Terminal/Tray: 7116-4111-02/9
  • Core/Insulation Crimp: C/A
  • Release Tool/Test Probe: 12094430/J-35616-4A (PU)
  • Pins: 22, 24-26, 29, 30, 32, 33, 36, 38-40, 43, 44, 46, 49, 50, 57, 59, 63-65, 69
  • Terminal/Tray: 7116-4100-08/9
  • Core/Insulation Crimp: E/C
  • Release Tool/Test Probe: 12094430/J-35616-2A (GY)
  • Pins: 48
  • Terminal/Tray: 12048074/2
  • Core/Insulation Crimp: E/1
  • Release Tool/Test Probe: 12094429/J-35616-14 (GN)
  • Pins: 79
  • Terminal/Tray: 7116-4121-02/10
  • Core/Insulation Crimp: C/B
  • Release Tool/Test Probe: 12094430/J-35616-42 (RD)

Fuse Block - I/P X1

Pin

Wire

Circuit

Function

1

--

--

Not Used

2

2 RD/WH

2040

Battery Positive Voltage (UQA or UQG or UQS)

3-4

--

--

Not Used

5

5 RD/BK

842

Battery Positive Voltage

6

5 RD/BK

242

Battery Positive Voltage

7

--

--

Not Used

8

3 RD/WH

3340

Battery Positive Voltage

2 RD/WH

3340

Battery Positive Voltage

9

2 RD/WH

3340

Battery Positive Voltage

2 RD/WH

3340

Battery Positive Voltage

10-11

--

--

Not Used

12

3 GY

295

Door Lock Actuator Lock Control

13

1 RD/WH

3240

Battery Positive Voltage (AXC or AXE)

14

--

--

Not Used

15

0.8 RD/WH

440

Battery Positive Voltage

16-17

--

--

Not Used

18

1 RD/WH

340

Battery Positive Voltage

19-20

--

--

Not Used

21

0.35 RD/WH

1840

Battery Positive Voltage

0.5 RD/WH

1840

Battery Positive Voltage (E61)

22

0.35 D-GN

5706

Liftgate Relay High Control (E69)

23

--

--

Not Used

24

0.35 YE

356

Driver Door Lock Relay Unlock Control

25

0.35 OG

2268

Windshield Washer Relay Control

26

0.5 RD/WH

1940

Battery Positive Voltage (DG6 or DS3)

27

0.8 D-GN

392

Rear Window Washer Pump Control

28

1 BK

750

Ground

29

0.5 RD/WH

4140

Battery Positive Voltage

30

0.35 D-BU

545

DRL Supply Voltage (Z88 with TVD)

31

--

--

Not Used

32

0.5 PK

1139

Ignition II/III Voltage

33

0.5 RD/WH

2340

Battery Positive Voltage (UK6)

34

0.8 RD/WH

2140

Battery Positive Voltage

35

--

--

Not Used

36

0.35 PU

544

DRL Relay Control (T61)

37

0.8 RD/WH

840

Battery Positive Voltage (AXC or AXE)

38

0.35 L-GN

1391

Driver Door Unlock Relay Control

39

0.5 L-GN

2270

Rear Window Washer Relay Control

40

0.5 L-BU

6128

Liftgate Latch Release (E69)

41

--

--

Not Used

42

1 RD/WH

3840

Battery Positive Voltage

43

0.5 GY

391

Rear Window Wiper Switch Signal

44

0.5 OG

228

Windshield Washer Pump Control

45

0.35 RD/WH

3140

Battery Positive Voltage (UG1)

0.35 RD/WH

3140

Battery Positive Voltage (AG3)

46

0.5 PK

1139

Ignition II/III Voltage

47

0.5 RD/WH

2340

Battery Positive Voltage (U2K)

0.5 RD/WH

2340

Battery Positive Voltage (U42)

48

0.35 D-BU

5364

Left DRL/Turn Supply Voltage (Z88 with TVD)

49

0.35 TN

28

Horn Relay Control

50

0.35 RD/WH

1340

Battery Positive Voltage

51

--

--

Not Used

52

1 RD/WH

640

Battery Positive Voltage (KA1 without A45)

53

1 TN

294

Door Lock Actuator Unlock Control

54

1 TN

694

Driver Door Lock Actuator Unlock Control

55-56

--

--

Not Used

57

0.35 OG

300

Power Mode

58

1 RD/WH

240

Battery Positive Voltage

59

0.35 RD/WH

3140

Battery Positive Voltage (UD7)

60-62

--

--

Not Used

63

0.35 TN

28

Horn Relay Control

64

0.35 L-BU

5921

Driver Door Unlock Relay Control

65

0.5 PU

359

DRL Supply Voltage (T61)

66-68

--

--

Not Used

69

0.35 YE

5704

Liftgate Relay Low Control (E69)

70-75

--

--

Not Used

76

5 RD/BK

642

Battery Positive Voltage

77

3 RD/WH

1140

Battery Positive Voltage (AG1 or AG3 or AH5)

78

3 RD/WH

3040

Battery Positive Voltage (AG2 or AAQ)

79

2 RD/WH

4040

Battery Positive Voltage (N38)

80-84

--

--

Not Used

OnStar Inline Fuse


Object Number: 350882  Size: CH

Connector Part Information

  • OEM:12010105
  • Service: See Catalog
  • Description: 2-Way F Fuseblock Components, Fuse Holders, Autofuse Series (BK)

Terminal Part Information

  • Terminal/Tray: Not Serviced
  • Core/Insulation Crimp: Not Serviced
  • Release Tool/Test Probe: Not Serviced

OnStar Inline Fuse

Pin

Wire

Circuit

Function

A

1 RD

1

Battery Positive Voltage

B

1 RD

4640

Battery Positive Voltage