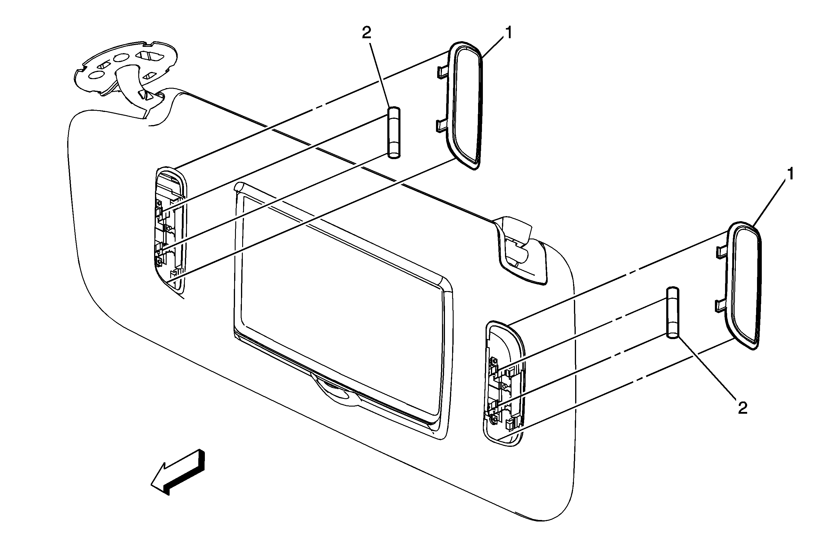
Callout
Component Name
1
Sunshade Illuminated Mirror Lamp Lens
Carefully use a flat bladed tool, and release the tabs retaining the lamp lens to the sunshade assembly.
2
Sunshade Illuminated Mirror Lamp Bulb