GM Service Manual Online
For 1990-2009 cars only

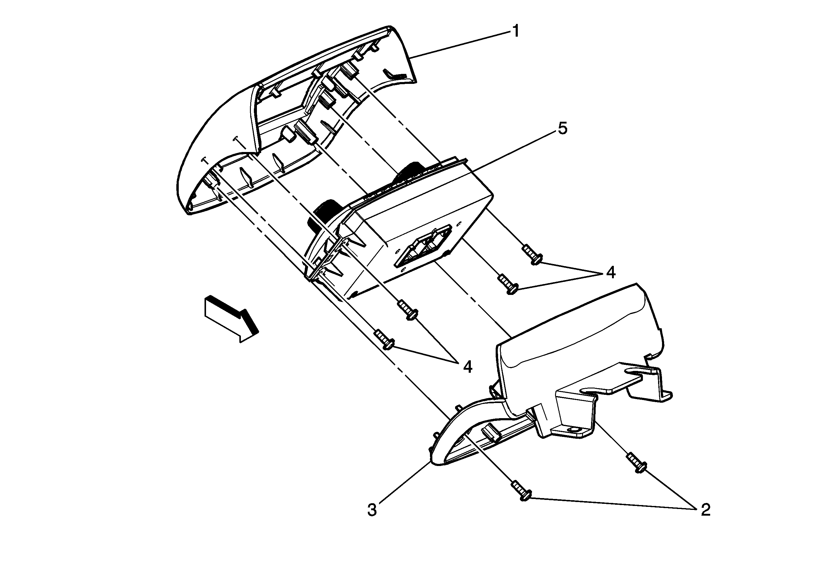
Object Number: 1860834  Size: MF

Callout

Component Name

1

Front Floor Console Extension Accessory Upper Bezel

Refer to Front Floor Console Extension Accessory Upper Bezel Replacement .

2

Front Floor Console Extension Accessory Upper Bezel Screw (Qty: 2)

Notice: Refer to Fastener Notice in the Preface section.

Tighten
2 N·m (18 lb in)

3

Front Floor Console Extension Accessory Upper Bezel Closeout

4

Auxiliary HVAC Control Module Screw (Qty: 4)

Notice: Refer to Fastener Notice in the Preface section.

Tighten
2 N·m (18 lb in)

5

Auxiliary HVAC Control Module Assembly